TOP
|
特許
|
意匠
|
商標
特許ウォッチ
Twitter
他の特許を見る
10個以上の画像は省略されています。
公開番号
2025139679
公報種別
公開特許公報(A)
公開日
2025-09-29
出願番号
2024038638
出願日
2024-03-13
発明の名称
樹脂多層基板及び電子機器
出願人
株式会社村田製作所
代理人
弁理士法人 楓国際特許事務所
主分類
H05K
3/46 20060101AFI20250919BHJP(他に分類されない電気技術)
要約
【課題】搭載部と多層基板部との密着性を確保し、また、多層基板部と搭載部とで構成されるリジッド部の変形や、フレキシブル部とリジッド部との境界におけるクラック発生を抑制した樹脂多層基板、及びそれを備える電子機器、を得る。
【解決手段】樹脂多層基板は、多層基板部101と搭載部201とを備え、多層基板部101の樹脂層及び搭載部201の樹脂層のいずれも、第1成分が同一の結晶性熱可塑性樹脂による層であり、多層基板部101の樹脂層と搭載部201の樹脂層とで、10℃/分の昇温速度で示差走査熱量測定(DSC)を行ったときの1st-upチャートにおいて昇温時の最初に現れる吸熱ピーク温度に差があり、搭載部201の樹脂層の吸熱ピーク温度に比べて多層基板部101の樹脂層の吸熱ピーク温度が低く、多層基板部101の樹脂層と搭載部201の樹脂層とが直接接合されている。
【選択図】図1
特許請求の範囲
【請求項1】
複数の樹脂層と、これら複数の樹脂層のうち所定の樹脂層に付された導体層と、を有する多層基板部と、
樹脂層と当該樹脂層に形成された導体層とを有し、前記多層基板部に搭載された又は前記多層基板部に搭載された形状の搭載部と、
を備え、
前記多層基板部の前記樹脂層及び前記搭載部の前記樹脂層のいずれも、第1成分が同一の結晶性熱可塑性樹脂による層であり、
前記多層基板部の前記樹脂層と前記搭載部の前記樹脂層とで、10℃/分の昇温速度で示差走査熱量測定を行ったときの1st-upチャートにおいて昇温時の最初に現れる吸熱ピーク温度に差があり、前記搭載部の前記樹脂層の前記吸熱ピーク温度に比べて前記多層基板部の前記樹脂層の前記吸熱ピーク温度が低く、
前記多層基板部の前記樹脂層と前記搭載部の前記樹脂層とが直接接合されている、
樹脂多層基板。
続きを表示(約 760 文字)
【請求項2】
前記結晶性熱可塑性樹脂は全芳香族ポリエステル樹脂である、
請求項1に記載の樹脂多層基板。
【請求項3】
前記搭載部は当該搭載部に対する昇温降温処理により、前記多層基板部に比較して前記搭載部の結晶化度を高めた、
請求項1又は2に記載の樹脂多層基板。
【請求項4】
前記多層基板部の弾性率は前記搭載部の弾性率より低い、
請求項1又は2に記載の樹脂多層基板。
【請求項5】
前記搭載部は、複数の樹脂層、当該樹脂層に形成された導体層、及び、当該導体層同士を電気的に導通させる層間接続導体を備える、
請求項1又は2に記載の樹脂多層基板。
【請求項6】
前記搭載部に形成された前記導体層は放射電極及び当該放射電極に導通する前記層間接続導体を含む、
請求項5に記載の樹脂多層基板。
【請求項7】
前記多層基板部は、当該多層基板部の上面に層間接続導体を有し、
前記搭載部は当該搭載部の下面に端子電極を有し、
前記多層基板部の前記層間接続導体に前記搭載部の前記端子電極が電気的に接続されている、
請求項1又は2に記載の樹脂多層基板。
【請求項8】
前記多層基板部に伝送線路が形成されている、
請求項1又は2に記載の樹脂多層基板。
【請求項9】
前記多層基板部は屈曲部を有する、
請求項1又は2に記載の樹脂多層基板。
【請求項10】
前記多層基板部は外部電極を有し、前記外部電極に接続されて前記多層基板部に実装された部品を備える、
請求項1又は2に記載の樹脂多層基板。
(【請求項11】以降は省略されています)
発明の詳細な説明
【技術分野】
【0001】
本発明は、樹脂層の積層による多層基板部と、この多層基板部に搭載された又は多層基板部に搭載された形状の搭載部と、を備える樹脂多層基板、及びその樹脂多層基板を備える電子機器、に関する。
続きを表示(約 1,400 文字)
【背景技術】
【0002】
特許文献1には、複数の樹脂層と、これら樹脂層の片面に付された導体層と、所定の樹脂層の内部に形成された層間接続導体と、を備えた樹脂多層基板が示されている。
【先行技術文献】
【特許文献】
【0003】
国際公開第2017/051649号
【発明の概要】
【発明が解決しようとする課題】
【0004】
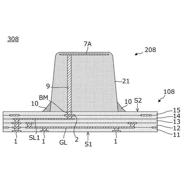
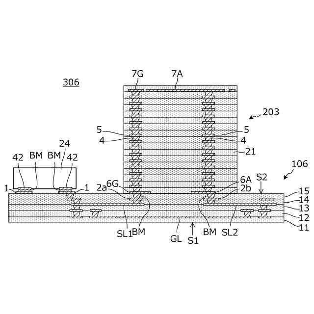
導体層が付された導体層付き絶縁体層の積層数の相違により、部分的に積層方向の厚みが異なる領域を形成する構造であれば、厚みの厚い部分で所定の電子部品的な機能を持たせることができる。
【0005】
しかし、異種材料同士の接合であれば、多層基板と搭載部品との密着性の確保が難しい。また、多層基板とこの多層基板に搭載された搭載部品とでリジッド部が構成され、それ以外の多層基板単体部分はフレキシブル部であるので、このフレキシブル部を変形させることができるが、それとともにリジッド部も変形するおそれがある。また、フレキシブル部とリジッド部との境界(リジッド部の根元部)に応力が集中しやすいので、例えばフレキシブル部の湾曲により、上記境界でクラックが生じやすい。
【0006】
そこで、本発明の目的は、多層基板部に搭載された、又は多層基板部に搭載された形状の搭載部と多層基板部との密着性を確保し、また、多層基板部と搭載部とで構成されるリジッド部の変形や、フレキシブル部とリジッド部との境界におけるクラック発生を抑制した樹脂多層基板、及びそれを備える電子機器、を提供することにある。
【課題を解決するための手段】
【0007】
(1)本開示の一例としての樹脂多層基板は、
複数の樹脂層と、これら複数の樹脂層のうち所定の樹脂層に付された導体層と、を有する多層基板部と、
樹脂層と当該樹脂層に形成された導体層とを有し、前記多層基板部に搭載された又は前記多層基板部に搭載された形状の搭載部と、
を備え、
前記多層基板部の前記樹脂層及び前記搭載部の前記樹脂層のいずれも、第1成分が同一の結晶性熱可塑性樹脂による層であり、
前記多層基板部の前記樹脂層と前記搭載部の前記樹脂層とで、10℃/分の昇温速度で示差走査熱量測定を行ったときの1st-upチャートにおいて昇温時の最初に現れる吸熱ピーク温度に差があり、前記搭載部の前記樹脂層の前記吸熱ピーク温度に比べて前記多層基板部の前記樹脂層の前記吸熱ピーク温度が低く、
前記多層基板部の前記樹脂層と前記搭載部の前記樹脂層とが直接接合されている。
【0008】
(2)本開示の一例としての電子機器は、
前記樹脂多層基板と、当該樹脂多層基板が実装された他基板と、を備えたことを特徴とする。
【0009】
(3)本開示の一例としての電子機器は、
前記樹脂多層基板と、当該樹脂多層基板を収容する筐体と、を備えたことを特徴とする。
【発明の効果】
【0010】
本発明によれば、多層基板部と、この多層基板部に対する搭載部との密着性を確保し、また、多層基板部と搭載部とで構成されるリジッド部の変形や、フレキシブル部とリジッド部との境界におけるクラックの発生を抑制した樹脂多層基板、及びそれを備える電子機器、が得られる。
【図面の簡単な説明】
(【0011】以降は省略されています)
この特許をJ-PlatPat(特許庁公式サイト)で参照する
関連特許
個人
電子部品の実装方法
7日前
個人
非衝突型ガウス加速器
1か月前
日本精機株式会社
回路基板
29日前
イビデン株式会社
配線基板
今日
アイホン株式会社
電気機器
1か月前
キヤノン株式会社
電子機器
21日前
アイホン株式会社
電気機器
21日前
日本放送協会
基板固定装置
27日前
個人
節電材料
2か月前
メクテック株式会社
配線基板
1か月前
東レ株式会社
霧化状活性液体供給装置
1か月前
株式会社デンソー
電子装置
今日
イビデン株式会社
プリント配線板
27日前
サクサ株式会社
筐体の壁掛け構造
1か月前
イビデン株式会社
配線基板
1か月前
イビデン株式会社
配線基板
1か月前
FDK株式会社
基板
6日前
オムロン株式会社
端子折り曲げ治具
9日前
富士フイルム株式会社
積層体
今日
株式会社レゾナック
冷却装置
6日前
日産自動車株式会社
電子部品
19日前
新電元工業株式会社
電子装置
21日前
富士電子工業株式会社
誘導加熱コイル
1日前
日本特殊陶業株式会社
配線基板
1か月前
富士電子工業株式会社
誘導加熱コイル
1日前
タイガー魔法瓶株式会社
加熱器
19日前
日本無線株式会社
電子機器用密閉構造
1か月前
新光電気工業株式会社
配線基板
12日前
東芝ライテック株式会社
照明装置
5日前
日本特殊陶業株式会社
セラミックヒータ
9日前
日本特殊陶業株式会社
セラミックヒータ
6日前
日本特殊陶業株式会社
セラミックヒータ
6日前
センスネットシステム株式会社
回路基板
今日
株式会社デンソー
電子装置
1か月前
株式会社デンソー
電子機器
2か月前
東芝ライテック株式会社
照明装置
今日
続きを見る
他の特許を見る