TOP
|
特許
|
意匠
|
商標
特許ウォッチ
Twitter
他の特許を見る
公開番号
2025141768
公報種別
公開特許公報(A)
公開日
2025-09-29
出願番号
2024173157
出願日
2024-10-02
発明の名称
セラミックヒータ
出願人
日本特殊陶業株式会社
代理人
個人
主分類
H05B
3/14 20060101AFI20250919BHJP(他に分類されない電気技術)
要約
【課題】熱衝撃によるヒータの破損を抑制できるセラミックヒータを提供する。
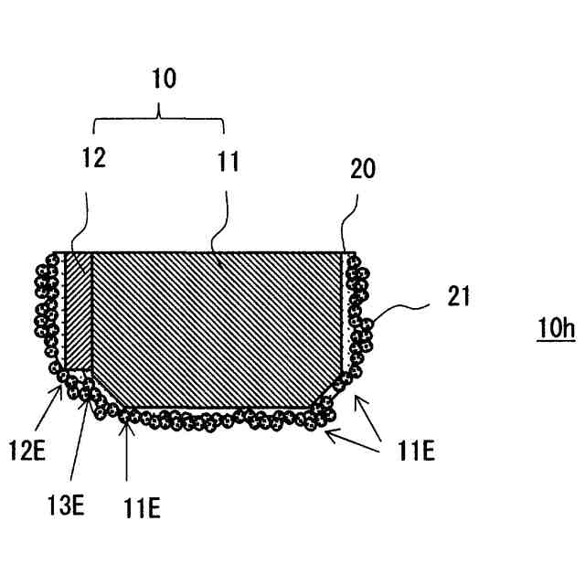
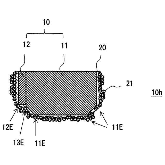
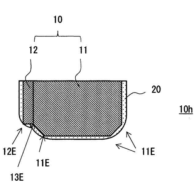
【解決手段】発熱抵抗体13を有するセラミック体10と、ガラスを主体とし、前記セラミック体の表面のうち少なくとも角部11E、12E及び前記発熱抵抗体を有する領域を被覆するように構成されたコート層20と、を備えたセラミックヒータ100であって、前記コート層の表面のうち、前記セラミック体を被覆する部位の少なくとも一部にセラミック粒子21が付着してなる。
【選択図】図4
特許請求の範囲
【請求項1】
発熱抵抗体を有するセラミック体と、
ガラスを主体とし、前記セラミック体の表面のうち少なくとも角部及び前記発熱抵抗体を有する領域を被覆するように構成されたコート層と、
を備えたセラミックヒータであって、
前記コート層の表面のうち、前記セラミック体を被覆する部位の少なくとも一部にセラミック粒子が付着してなることを特徴とするセラミックヒータ。
続きを表示(約 390 文字)
【請求項2】
前記セラミック体はアルミナを主成分とし、前記セラミック粒子はアルミナ粒子であることを特徴とする請求項1に記載のセラミックヒータ。
【請求項3】
前記コート層の表面のうち、さらに前記セラミック体の外周面を被覆する部位に前記セラミック粒子が付着してなることを特徴とする請求項1又は2に記載のセラミックヒータ。
【請求項4】
前記セラミック体は内孔を有する円筒形状であり、
前記コート層は前記内孔の表面の少なくとも一部まで被覆し、
前記内孔の表面を覆う前記コート層の表面に前記セラミック粒子が付着してなることを特徴とする請求項1又は2に記載のセラミックヒータ。
【請求項5】
前記セラミック粒子による前記コート層の被覆率が88.5%以上であることを特徴とする請求項1又は2に記載のセラミックヒータ。
発明の詳細な説明
【技術分野】
【0001】
本発明は、例えば電気自動車の空調又はバッテリの加熱保温等に用いられるセラミックヒータに関する。
続きを表示(約 1,600 文字)
【背景技術】
【0002】
電気自動車の空調またはバッテリの加熱保温のため、クーラント液等の媒体をセラミックヒータで加熱するシステムが検討されている。特に、寒冷地ではバッテリの性能が低下するため、バッテリの加熱保温が重要になっている。
【0003】
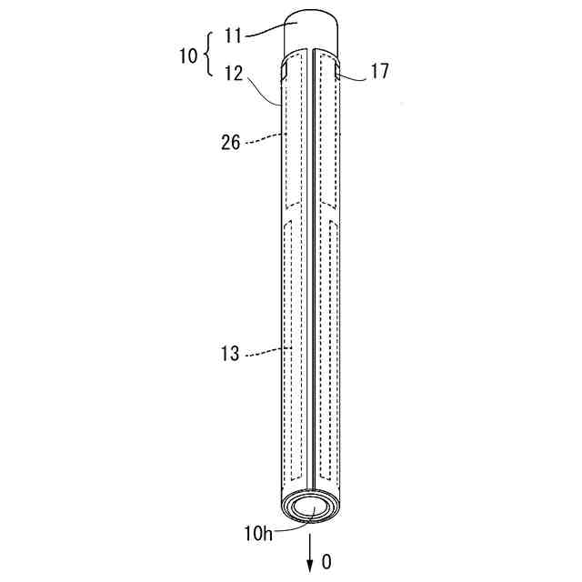
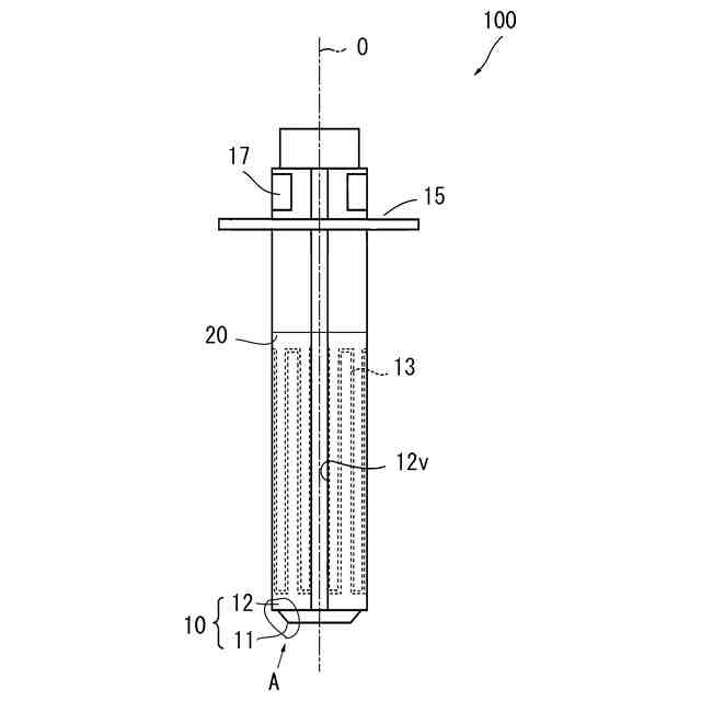
このセラミックヒータは、例えば芯材となる筒状又は柱状のセラミック管の外周に、セラミック層を巻き付けた構造となっていて、セラミック層にヒータパターンが形成されている(特許文献1参照)。
そして、ヒータパターンに通電加熱することで、セラミックヒータが発熱するようになっている。
【0004】
ところで、セラミックヒータは熱衝撃に弱いので、加熱されて高温となったセラミックヒータが急冷されるとクラック等が発生し、ヒータが破損する恐れがある。
特に、セラミックヒータをクーラント液等の媒体(流体)加熱に用いた場合、セラミックヒータが空焚き状態(気中加熱状態)となったときに液滴が掛かると、熱衝撃が大きくなる。
一方、従来からセラミック部材を保護する方法として、上記特許文献1の技術のようにガラス(釉薬)を表面に塗布することが知られている。
【先行技術文献】
【特許文献】
【0005】
特開2018-92880号公報
【発明の概要】
【発明が解決しようとする課題】
【0006】
しかしながら、釉薬を高温で焼成する際、釉薬のガラス材料の粘度が低下し、特に対象物の角部の釉薬厚みが薄くなり易い。このため、セラミックヒータの角部の保護、ひいては熱衝撃耐性が低下するおそれがある。
この対策として、釉薬を複数回に分けて塗布することで、角部の釉薬の厚みを確保することも可能であるが、工数が増えてコストアップになるので実用的とはいえない。
そこで、本発明は、熱衝撃によるヒータの破損を抑制できるセラミックヒータの提供を目的とする。
【課題を解決するための手段】
【0007】
上記課題を解決するため、本発明のセラミックヒータは、発熱抵抗体を有するセラミック体と、ガラスを主体とし、前記セラミック体の表面のうち少なくとも角部及び前記発熱抵抗体を有する領域を被覆するように構成されたコート層と、を備えたセラミックヒータであって、前記コート層の表面のうち、前記セラミック体を被覆する部位の少なくとも一部にセラミック粒子が付着してなることを特徴とする。
【0008】
コート層がセラミック粒子を含まない場合、コート層を高温で焼成する際、ガラス材料の粘度が低下し、セラミック体の少なくとも一部(角部等)の厚みが薄くなる。
そこで、コート層の表面のうち、厚みが薄くなる部位にセラミック粒子が付着していると、コート層の厚みが薄い部位をセラミック粒子が保護する。
これにより、コート層の厚みが薄い部位における熱衝撃を緩和し、熱衝撃によるヒータの破損を抑制できる。
【0009】
本発明のセラミックヒータにおいて、前記セラミック体はアルミナを主成分とし、前記セラミック粒子はアルミナ粒子であってもよい。
このセラミックヒータによれば、セラミック体とセラミック粒子の成分が近似するので、セラミック体とセラミック粒子の間の熱膨張係数の差を小さくすることができ、コート層にかかる熱衝撃を低減できる。
【0010】
本発明のセラミックヒータにおいて、前記コート層の表面のうち、さらに前記セラミック体の外周面を被覆する部位に前記セラミック粒子が付着してなっていてもよい。
このセラミックヒータによれば、セラミック体のうち発熱抵抗体を覆い高温となる部分をセラミック粒子が保護するので、この部分の熱衝撃を緩和できる。
(【0011】以降は省略されています)
この特許をJ-PlatPat(特許庁公式サイト)で参照する
関連特許
日本特殊陶業株式会社
センサ
22日前
日本特殊陶業株式会社
センサ
1か月前
日本特殊陶業株式会社
センサ
1か月前
日本特殊陶業株式会社
センサ
1か月前
日本特殊陶業株式会社
センサ
1か月前
日本特殊陶業株式会社
センサ
1か月前
日本特殊陶業株式会社
保持装置
1日前
日本特殊陶業株式会社
保持部材
29日前
日本特殊陶業株式会社
加熱装置
29日前
日本特殊陶業株式会社
保持装置
25日前
日本特殊陶業株式会社
圧電素子
22日前
日本特殊陶業株式会社
保持装置
8日前
日本特殊陶業株式会社
圧電発音体
1か月前
日本特殊陶業株式会社
ガスセンサ
3日前
日本特殊陶業株式会社
化学センサ
10日前
日本特殊陶業株式会社
電極埋設部材
9日前
日本特殊陶業株式会社
セラミック部品
1か月前
日本特殊陶業株式会社
スパークプラグ
8日前
日本特殊陶業株式会社
スパークプラグ
29日前
日本特殊陶業株式会社
無鉛圧電磁器組成物
22日前
日本特殊陶業株式会社
セルスタックシステム
8日前
日本特殊陶業株式会社
アンモニアの合成装置
18日前
日本特殊陶業株式会社
アンモニアの合成装置
18日前
日本特殊陶業株式会社
圧電セラミック積層体
1か月前
日本特殊陶業株式会社
検知装置および検知方法
8日前
日本特殊陶業株式会社
電極および蓄電デバイス
9日前
日本特殊陶業株式会社
電極および蓄電デバイス
9日前
日本特殊陶業株式会社
アンモニアの合成システム
18日前
日本特殊陶業株式会社
回路基板、およびパワーデバイス
1か月前
日本特殊陶業株式会社
回路基板、およびパワーデバイス
1か月前
日本特殊陶業株式会社
磁性コイル、および無線給電用デバイス
8日前
日本特殊陶業株式会社
セラミック組成物、およびセラミック部品
1か月前
日本特殊陶業株式会社
電気化学反応用触媒、電極、および電気化学デバイス
29日前
日本特殊陶業株式会社
酸素発生反応用触媒、電極、および電気化学デバイス
1日前
日本特殊陶業株式会社
センサ素子、ガスセンサ、およびセンサ素子の製造方法
9日前
日本特殊陶業株式会社
電気化学セル、固体酸化物形電解セル、セルスタック、ホットモジュール、および水素製造装置
1か月前
続きを見る
他の特許を見る