TOP
|
特許
|
意匠
|
商標
特許ウォッチ
Twitter
他の特許を見る
公開番号
2025144500
公報種別
公開特許公報(A)
公開日
2025-10-02
出願番号
2024180509
出願日
2024-10-16
発明の名称
セラミックヒータ
出願人
日本特殊陶業株式会社
代理人
個人
主分類
H05B
3/44 20060101AFI20250925BHJP(他に分類されない電気技術)
要約
【課題】空焚き状態であってもヒータの破損を抑制できる液体加熱用のセラミックヒータを提供する。
【解決手段】液体加熱用のセラミックヒータ100であって、発熱抵抗体13を有し、軸線O方向に延びる円柱状のセラミック体10と、セラミック体の表面から突出し、セラミック体より熱伝導率が大きい放熱フィン20,21,22と、を備えてなる。
【選択図】図1
特許請求の範囲
【請求項1】
液体加熱用のセラミックヒータであって、
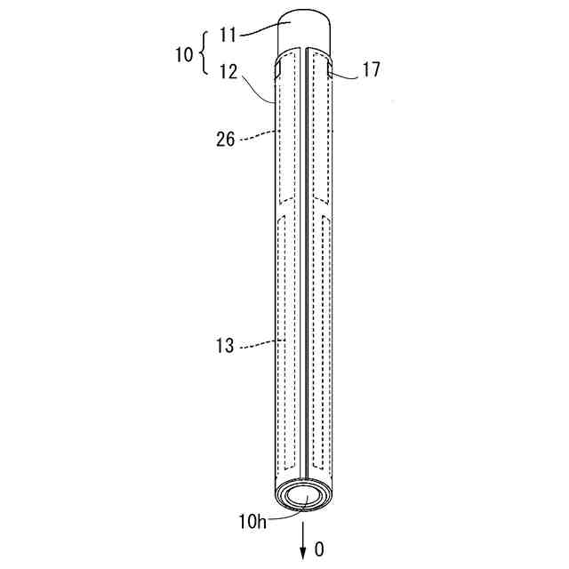
発熱抵抗体を有し、軸線方向に延びる円柱状のセラミック体と、
前記セラミック体の表面から突出し、前記セラミック体より熱伝導率が大きい放熱フィンと、
を備えてなることを特徴とするセラミックヒータ。
続きを表示(約 330 文字)
【請求項2】
前記放熱フィンは、フィン部及び前記フィン部が固定される基部を有し、
前記セラミック体の表面全体が前記フィン部及び前記基部で覆われ、
前記セラミック体の表面と、前記放熱フィンとの間を液密に保持可能なシール部材をさらに備えることを特徴とする請求項1に記載のセラミックヒータ。
【請求項3】
前記放熱フィンはアルミニウム又はアルミニウム合金製であり、表面がアルマイト処理されてなることを特徴とする請求項1又は2に記載のセラミックヒータ。
【請求項4】
前記セラミック体の表面全体が前記基部で覆われ、前記フィン部が前記基部と別部材として前記基部から突出することを特徴とする請求項2に記載のセラミックヒータ。
発明の詳細な説明
【技術分野】
【0001】
本発明は、例えば電気自動車の空調又はバッテリの加熱保温等に用いられる液体加熱用のセラミックヒータに関する。
続きを表示(約 1,400 文字)
【背景技術】
【0002】
電気自動車の空調またはバッテリの加熱保温のため、クーラント液等の媒体をセラミックヒータで加熱するシステムが検討されている。特に、寒冷地ではバッテリの性能が低下するため、バッテリの加熱保温が重要になっている。
【0003】
このセラミックヒータは、芯材となる筒状又は柱状のセラミック管の外周に、セラミック層を巻き付けた構造となっていて、セラミック層にヒータパターンが形成されている(特許文献1参照)。
そして、ヒータパターンに通電加熱することで、セラミックヒータが発熱するようになっている。
【先行技術文献】
【特許文献】
【0004】
特開2019-133762号公報
【発明の概要】
【発明が解決しようとする課題】
【0005】
ところで、セラミックヒータをクーラント液等の媒体(液体)加熱に用いると、セラミックヒータの周囲を流れる液体の流量が低下したときや、液体が漏れ等によって容器内から減少したときに過沸騰が起きてヒータが空焚き状態(気中加熱状態)となる。
これにより、セラミックヒータの表面が高温となるが、この高温部に液体の液滴が掛かると、熱衝撃によりヒータにクラック等が発生し、ヒータが破損する恐れがある。
【0006】
そこで、本発明は、空焚き状態であってもヒータの破損を抑制できる液体加熱用のセラミックヒータの提供を目的とする。
【課題を解決するための手段】
【0007】
上記課題を解決するため、本発明のセラミックヒータは、液体加熱用のセラミックヒータであって、発熱抵抗体を有し、軸線方向に延びる円柱状のセラミック体と、前記セラミック体の表面から突出し、前記セラミック体より熱伝導率が大きい放熱フィンと、を備えてなることを特徴とする。
【0008】
このセラミックヒータによれば、セラミック体の表面から突出して放熱フィンが設けられている。このため、ヒータが空焚き状態(気中加熱状態)となってセラミックヒータの表面をなすセラミック体が高温となっても、液体の液滴がこの高温部に直接掛からずに放熱フィンに掛かって冷却されるので、熱衝撃によりヒータにクラック等が発生し、ヒータが破損することを抑制できる。
また、セラミックヒータ(セラミック体)自体を放熱フィンで冷却することでも、ヒータの過熱を抑制できる。
【0009】
本発明のセラミックヒータにおいて、前記放熱フィンは、フィン部及び前記フィン部が固定される基部を有し、前記セラミック体の表面全体が前記フィン部及び前記基部で覆われ、前記セラミック体の表面と、前記放熱フィンとの間を液密に保持可能なシール部材をさらに備えてもよい。
このセラミックヒータによれば、セラミック体と放熱フィンとの隙間に液体が侵入することを抑制し、隙間の液体が沸騰してヒータを過熱することを抑制できる。
【0010】
本発明のセラミックヒータにおいて、前記放熱フィンはアルミニウム又はアルミニウム合金製であり、表面がアルマイト処理されていてもよい。
このセラミックヒータによれば、放熱フィンの熱伝導率が高くなるので放熱効果が大きいと共に、アルマイト処理によってクーラント等の液体による放熱フィンの腐食を抑制できる。
(【0011】以降は省略されています)
この特許をJ-PlatPat(特許庁公式サイト)で参照する
関連特許
日本特殊陶業株式会社
センサ
25日前
日本特殊陶業株式会社
センサ
25日前
日本特殊陶業株式会社
センサ
11日前
日本特殊陶業株式会社
センサ
25日前
日本特殊陶業株式会社
センサ
25日前
日本特殊陶業株式会社
センサ
25日前
日本特殊陶業株式会社
圧電素子
11日前
日本特殊陶業株式会社
保持装置
14日前
日本特殊陶業株式会社
加熱装置
18日前
日本特殊陶業株式会社
保持部材
18日前
日本特殊陶業株式会社
圧電発音体
25日前
日本特殊陶業株式会社
セラミック部品
26日前
日本特殊陶業株式会社
スパークプラグ
18日前
日本特殊陶業株式会社
ホットモジュール
26日前
日本特殊陶業株式会社
ホットモジュール
26日前
日本特殊陶業株式会社
無鉛圧電磁器組成物
11日前
日本特殊陶業株式会社
圧電セラミック積層体
25日前
日本特殊陶業株式会社
ガスセンサの製造方法
27日前
日本特殊陶業株式会社
アンモニアの合成装置
7日前
日本特殊陶業株式会社
アンモニアの合成装置
7日前
日本特殊陶業株式会社
アンモニアの合成システム
7日前
日本特殊陶業株式会社
金属有機構造体、および賦形体
28日前
日本特殊陶業株式会社
回路基板、およびパワーデバイス
20日前
日本特殊陶業株式会社
回路基板、およびパワーデバイス
20日前
日本特殊陶業株式会社
固体酸化物形電解セルおよびその利用
26日前
日本特殊陶業株式会社
固体酸化物形電解セルおよびその利用
26日前
日本特殊陶業株式会社
固体酸化物形電解セルおよびその利用
26日前
日本特殊陶業株式会社
固体酸化物形電解セルおよびその利用
26日前
日本特殊陶業株式会社
固体酸化物形電解セルおよびその利用
26日前
日本特殊陶業株式会社
固体酸化物形電解セルおよびその利用
26日前
日本特殊陶業株式会社
固体酸化物形電解セルおよびその利用
26日前
日本特殊陶業株式会社
固体酸化物形電解セルおよびその利用
26日前
日本特殊陶業株式会社
固体酸化物形電解セルおよびその利用
26日前
日本特殊陶業株式会社
基板保持部材及びセラミックスサセプタ
28日前
日本特殊陶業株式会社
基板保持部材及びセラミックスサセプタ
28日前
日本特殊陶業株式会社
セラミック組成物、およびセラミック部品
26日前
続きを見る
他の特許を見る