TOP
|
特許
|
意匠
|
商標
特許ウォッチ
Twitter
他の特許を見る
公開番号
2025134124
公報種別
公開特許公報(A)
公開日
2025-09-17
出願番号
2024031821
出願日
2024-03-04
発明の名称
積層セラミック電子部品
出願人
株式会社村田製作所
代理人
個人
,
個人
主分類
H01G
4/30 20060101AFI20250909BHJP(基本的電気素子)
要約
【課題】小型化且つ大静電容量化の要求を満たしつつ、層間剥がれを有する可能性が低減された積層セラミック電子部品を提供する。
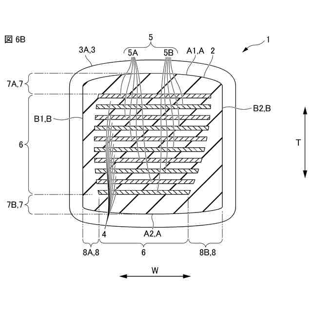
【解決手段】内層部6の、積層方向Tの両側に配置された2つの外層部7と、内層部6の第1側面B1側に位置する第1サイドギャップ部8A、及び、第2側面B2側に位置する第2サイドギャップ部8Bと、を有する積層体2、並びに、第1端面C1及び第2端面C2のそれぞれに配置された外部電極3、を備える積層セラミックコンデンサ1であって、内層部6の幅方向Wの寸法は、積層方向Tの第1主面A1側と第2主面A2側とで略等しく、長さ方向Lの中央での積層方向Tと幅方向Wとを通る断面において、第1サイドギャップ部8Aの幅方向Wの寸法は、積層方向Tの第1主面A1側と第2主面A2側とで略等しく、第2サイドギャップ部8Bの幅方向Wの寸法は、積層方向Tの中央部から第2主面側に向かって漸増している。
【選択図】図3
特許請求の範囲
【請求項1】
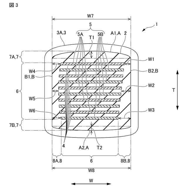
内部電極層と内部誘電体層とが積層された内層部と、
積層方向に相対する第1主面及び第2主面と、
前記積層方向と交差する長さ方向に相対する第1端面及び第2端面と、
前記積層方向及び前記長さ方向と交差する幅方向に相対する第1側面及び第2側面と、
前記内層部の、前記積層方向の両側に配置された2つの外層部と、
前記内層部の前記第1側面側に位置する第1サイドギャップ部、及び、前記第2側面側に位置する第2サイドギャップ部と、を有する積層体、並びに、
前記第1端面及び前記第2端面のそれぞれに配置された外部電極、
を備える積層セラミックコンデンサであって、
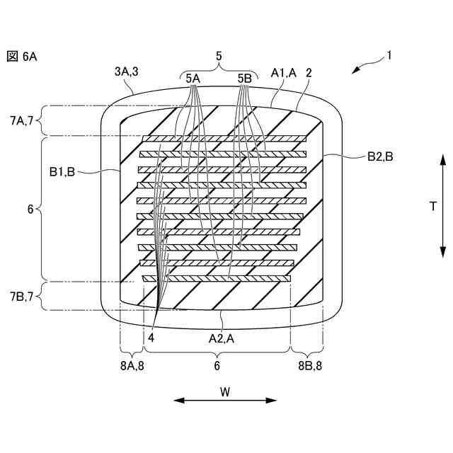
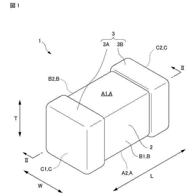
前記内層部の前記幅方向の寸法は、前記積層方向の前記第1主面側と前記第2主面側とで略等しく、
前記長さ方向の中央での前記積層方向と前記幅方向とを通る断面において、
前記第1サイドギャップ部の前記幅方向の寸法は、前記積層方向の前記第1主面側と前記第2主面側とで略等しく、
前記第2サイドギャップ部の前記幅方向の寸法は、前記積層方向の中央部から前記第2主面側に向かって漸増している、
積層セラミック電子部品。
続きを表示(約 270 文字)
【請求項2】
前記第1サイドギャップ部の前記幅方向の寸法の、前記積層方向に沿った変化率は、5%以下である、
請求項1に記載の積層セラミック電子部品。
【請求項3】
前記第2サイドギャップ部の前記幅方向の寸法は、前記第1主面から前記第2主面側に向かって漸増している、
請求項1に記載の積層セラミック電子部品。
【請求項4】
前記第2サイドギャップ部の前記幅方向の最大寸法は、前記第2サイドギャップ部の前記幅方向の最小寸法の1.5倍以上である、
請求項1に記載の積層セラミック電子部品。
発明の詳細な説明
【技術分野】
【0001】
本発明は、積層セラミック電子部品に関する。
続きを表示(約 1,700 文字)
【背景技術】
【0002】
従来、積層セラミック電子部品として積層セラミックコンデンサが知られている。積層セラミックコンデンサは、内部誘電体層と内部電極層とが交互に複数積層された内層部、及び、内層部の幅方向の両側に配置されたサイドギャップ部を有する積層体と、積層体の両端面に設けられた外部電極と、を備える。
【0003】
このような積層セラミックコンデンサは、例えば、内部誘電体層となるセラミックグリーンシートに内部電極層となる導電ペーストが印刷されたものを複数枚積層したマザーブロックを所定サイズに切断して積層体を製造し、その積層体に外部電極を形成することにより製造される(例えば、特許文献1参照)。
【先行技術文献】
【特許文献】
【0004】
特開2000-357628号公報
【発明の概要】
【発明が解決しようとする課題】
【0005】
マザーブロックを所定サイズに切断する際、長さ方向及び幅方向に切断する。ここで、幅方向においては、導電ペーストが印刷されていない、サイドギャップ部となる導電ペースト間を、積層方向の一方から他方に向かって切断する。このとき、切断刃は、最初は導電ペースト間のほぼ中央に位置しているが、積層方向の一方から他方(上から下)に向かって移動していくうちに中央からずれていき、導電ペーストに近づいていく可能性がある。
【0006】
ここで、導電ペーストとセラミックグリーンシートとの間は、サイドギャップ部となるセラミックグリーンシートが直接積層されている部分と比べて接着力が弱い。ゆえに、切断刃が、導電ペーストが印刷されている部分に近づいていくと、導電ペーストに上から下への力が加わり、その導電ペーストが印刷されたセラミックグリーンシートが、上に積層されているセラミックグリーンシートから引き離されて層間剥がれが発生する可能性がある。
【0007】
このような層間剥がれを回避するため、切断刃が幅方向のどちらにずれてもいいように、サイドギャップ部の幅を、幅方向の両方向へと上から下に行くにつれて広げることも考えられる。
【0008】
しかし、近年、積層セラミックコンデンサは、小型化且つ大静電容量化が求められている。サイドギャップ部の幅を、幅方向の両方向へと上から下に行くにつれて広げると、下側における導電ペーストの幅方向の寸法、すなわち内部電極層の幅方向の寸法が小さくなり、小型化且つ大容量化に反する結果となる。
【0009】
本発明は、小型化且つ大静電容量化の要求をある程度満たしつつ、層間剥がれを有する可能性が低減された積層セラミック電子部品を提供することを目的とする。
【課題を解決するための手段】
【0010】
上記課題を解決するために、本発明は、内部電極層と内部誘電体層とが積層された内層部と、積層方向に相対する第1主面及び第2主面と、前記積層方向と交差する長さ方向に相対する第1端面及び第2端面と、前記積層方向及び前記長さ方向と交差する幅方向に相対する第1側面及び第2側面と、前記内層部の、前記積層方向の両側に配置された2つの外層部と、前記内層部の前記第1側面側に位置する第1サイドギャップ部、及び、前記第2側面側に位置する第2サイドギャップ部と、を有する積層体、並びに、前記第1端面及び前記第2端面のそれぞれに配置された外部電極、を備える積層セラミックコンデンサであって、前記内層部の前記幅方向の寸法は、前記積層方向の前記第1主面側と前記第2主面側とで略等しく、前記長さ方向の中央での前記積層方向と前記幅方向とを通る断面において、前記第1サイドギャップ部の前記幅方向の寸法は、前記積層方向の前記第1主面側と前記第2主面側とで略等しく、前記第2サイドギャップ部の前記幅方向の寸法は、前記積層方向の中央部から前記第2主面側に向かって漸増している、積層セラミック電子部品を提供する。
【発明の効果】
(【0011】以降は省略されています)
この特許をJ-PlatPat(特許庁公式サイト)で参照する
関連特許
株式会社村田製作所
電池
13日前
株式会社村田製作所
釣り具
12日前
株式会社村田製作所
電子部品
5日前
株式会社村田製作所
測定装置
今日
株式会社村田製作所
電池パック
今日
株式会社村田製作所
コイル部品
19日前
株式会社村田製作所
噴霧ノズル
7日前
株式会社村田製作所
フィルタ回路
9日前
株式会社村田製作所
流体制御装置
20日前
株式会社村田製作所
複合型電子部品
5日前
株式会社村田製作所
弾性波フィルタ
19日前
株式会社村田製作所
インダクタ部品
19日前
株式会社村田製作所
圧力センサ装置
今日
株式会社村田製作所
積層インダクタ
9日前
株式会社村田製作所
呼吸検出システム
9日前
株式会社村田製作所
電子部品包装装置
今日
株式会社村田製作所
多層基板及び電子機器
9日前
株式会社村田製作所
多層基板及び電子機器
9日前
株式会社村田製作所
積層セラミック電子部品
6日前
株式会社村田製作所
光学的パターン表示物品
5日前
株式会社村田製作所
積層セラミック電子部品
6日前
株式会社村田製作所
積層セラミック電子部品
5日前
株式会社村田製作所
積層セラミックコンデンサ
9日前
株式会社村田製作所
積層セラミックコンデンサ
12日前
株式会社村田製作所
樹脂多層基板及び電子機器
9日前
株式会社村田製作所
樹脂多層基板及び電子機器
9日前
株式会社村田製作所
高周波回路および通信装置
今日
株式会社村田製作所
積層コイル部品の製造方法
21日前
株式会社村田製作所
二次電池および電池パック
1日前
株式会社村田製作所
積層セラミックコンデンサ
1日前
株式会社村田製作所
積層セラミックコンデンサ
9日前
株式会社村田製作所
タブおよび電池モジュール
5日前
株式会社村田製作所
二次電池および電池パック
1日前
株式会社村田製作所
電池および電池の製造方法
5日前
株式会社村田製作所
積層セラミックコンデンサ
7日前
株式会社村田製作所
タブおよび電池モジュール
5日前
続きを見る
他の特許を見る