TOP
|
特許
|
意匠
|
商標
特許ウォッチ
Twitter
他の特許を見る
10個以上の画像は省略されています。
公開番号
2025146125
公報種別
公開特許公報(A)
公開日
2025-10-03
出願番号
2024046744
出願日
2024-03-22
発明の名称
電池および電池の製造方法
出願人
株式会社村田製作所
代理人
弁理士法人酒井国際特許事務所
主分類
H01M
50/184 20210101AFI20250926BHJP(基本的電気素子)
要約
【課題】金属部材と樹脂部材との接合強度を簡便に調節することができる電池および電池の製造方法を提供すること。
【解決手段】電池1は、正極端子11および負極端子12を有する電極体10と、電極体10を収容する外装部材20と、を備える。外装部材20は、貫通穴31aを有する第1側部31を含む金属製の箱状の箱部材30と、第1側部31側から見た平面視において、貫通穴31aの内側に第1側部31から離間した状態で配置される板部材40と、第1側部31の第1接触面31bおよび板部材40の第2接触面40aそれぞれと接触し、第1側部31側と板部材40と間の隙間Gを封止する樹脂層52を有する封止体50と、を備える。第1接触面31bおよび第2接触面40aは、それぞれ、第1側部31側から見た平面視において樹脂層52と重なる部位Pに、行列状に並ぶ複数の凹部Cを有する。凹部Cには、樹脂層52の一部が充填される。
【選択図】図2
特許請求の範囲
【請求項1】
正極端子および負極端子を有する電極体と、
前記電極体が収容される外装部材と、を備え、
前記外装部材は、
貫通穴を有する側板部を含む金属製の箱状であり、前記電極体が収容され且つ前記負極端子と電気的に接続される箱部材と、
前記側板部側から見た平面視において、前記貫通穴の内側に前記側板部から離間した状態で配置され、前記正極端子と電気的に接続される板部材と、
前記側板部の第1接触面および前記板部材の第2接触面それぞれと接触し、前記側板部側と前記板部材と間の隙間を封止する樹脂層を有する封止体と、を備え、
前記第1接触面および前記第2接触面は、それぞれ、前記側板部側から見た平面視において前記樹脂層と重なる部位に、行列状に並ぶ複数の凹部を有し、
前記凹部には、前記樹脂層の一部が充填される、
電池。
続きを表示(約 820 文字)
【請求項2】
前記凹部は、前記凹部の開口部から底部に向かうほど、前記凹部の幅が狭くなる、
請求項1に記載の電池。
【請求項3】
前記封止体は、
前記樹脂層と重なる基材層と、
前記樹脂層とは反対側で前記基材層と重なる保護層と、をさらに備える、
請求項1に記載の電池。
【請求項4】
前記封止体は、前記側板部および前記板部材よりも前記外装部材の外側に位置する、
請求項1に記載の電池。
【請求項5】
前記外装部材の内圧が前記側板部の前記第1接触面と前記封止体との接合強度以上の所定圧力である場合、前記側板部の前記第1接触面と前記封止体との間で開裂する、
請求項1に記載の電池。
【請求項6】
側板部を有する箱状であり、電極体を収容する箱部材と、前記側板部が有する貫通穴の内側に前記側板部から離間した状態で配置される板部材と、前記側板部および前記板部材それぞれと接触し、前記側板部側と前記板部材と間の隙間を封止する封止体と、を備える電池の製造方法であって、
前記側板部が前記封止体と接触する第1接触面および前記板部材が前記封止体と接触する第2接触面それぞれにおいて前記側板部から見た平面視で前記封止体と重なる部位に対してレーザを照射する複数の照射位置および前記レーザの強さを定める第1工程と、
前記第1工程で定められた複数の前記照射位置それぞれに前記第1工程で定められた前記レーザの強さにて前記部位に対して前記レーザを照射して複数の凹部を前記側板部から見た平面視で行列状に並ぶように形成する第2工程と、
前記側板部および前記板部材と前記封止体とを接触させて前記凹部に前記封止体の一部が入り込むように熱溶着して、前記側板部および前記板部材と前記封止体とを接合する第3工程と、を含む、
電池の製造方法。
発明の詳細な説明
【技術分野】
【0001】
本開示は、電池および電池の製造方法に関する。
続きを表示(約 1,900 文字)
【背景技術】
【0002】
特許文献1には、樹脂部品と接合される金属部品の製造方法、及び当該製造方法で製造された金属部品と樹脂部品とを備える複合成形体が開示されている。特許文献1の製造方法では、樹脂部品が接合される金属部品の接合面には、レーザによって複数の粗面が並ぶように形成される。隣り合う粗面の間隔および粗面に形成される凹凸の深さが調節されることで樹脂部品と金属部品との密着性が向上する。
【先行技術文献】
【特許文献】
【0003】
特開2013-111881号公報
【発明の概要】
【発明が解決しようとする課題】
【0004】
特許文献1の複合成形体は、電池の外装部材に適用されることが考えられる。電池の外装部材においては、外装部材の内圧の上昇に応じて金属部品と樹脂部品とが剥離するようにすることが考えられる。この場合、外装部材に電極体の種類および大きさなどによって、金属部品と樹脂部品との接合強度を簡便に調整したいとの要望がある。
【0005】
本開示は、上記に鑑みてなされたものであって、金属部材と樹脂部材との接合強度を簡便に調節することができる電池および電池の製造方法を提供することを目的とする。
【課題を解決するための手段】
【0006】
本開示の電池は、正極端子および負極端子を有する電極体と、前記電極体が収容される外装部材と、を備え、前記外装部材は、貫通穴を有する側板部を含む金属製の箱状であり、前記電極体が収容され且つ前記負極端子と電気的に接続される箱部材と、前記側板部側から見た平面視において、前記貫通穴の内側に前記側板部から離間した状態で配置され、前記正極端子と電気的に接続される板部材と、前記側板部の第1接触面および前記板部材の第2接触面それぞれと接触し、前記側板部側と前記板部材と間の隙間を封止する樹脂層を有する封止体と、を備え、前記第1接触面および前記第2接触面は、それぞれ、前記側板部側から見た平面視において前記樹脂層と重なる部位に、行列状に並ぶ複数の凹部を有し、前記凹部には、前記樹脂層の一部が充填される。
【0007】
本開示の電池の製造方法は、側板部を有する箱状であり、電極体を収容する箱部材と、前記側板部が有する貫通穴の内側に前記側板部から離間した状態で配置される板部材と、前記側板部および前記板部材それぞれと接触し、前記側板部側と前記板部材と間の隙間を封止する封止体と、を備える電池の製造方法であって、前記側板部が前記封止体と接触する第1接触面および前記板部材が前記封止体と接触する第2接触面それぞれにおいて前記側板部から見た平面視で前記封止体と重なる部位に対してレーザを照射する複数の照射位置および前記レーザの強さを定める第1工程と、前記第1工程で定められた複数の前記照射位置それぞれに前記第1工程で定められた前記レーザの強さにて前記部位に対して前記レーザを照射して複数の凹部を前記側板部から見た平面視で行列状に並ぶように形成する第2工程と、前記側板部および前記板部材と前記封止体とを接触させて前記凹部に前記封止体の一部が入り込むように熱溶着して、前記側板部および前記板部材と前記封止体とを接合する第3工程と、を含む。
【発明の効果】
【0008】
本開示の電池および電池の製造方法によれば、金属部材と樹脂部材との接合強度を簡便に調節することができる。
【図面の簡単な説明】
【0009】
図1は、本開示の実施形態に係る電池の斜視図である。
図2は、図1に示す電池の分解斜視図である。
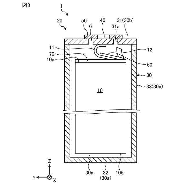
図3は、図1に示す電池の断面図である。
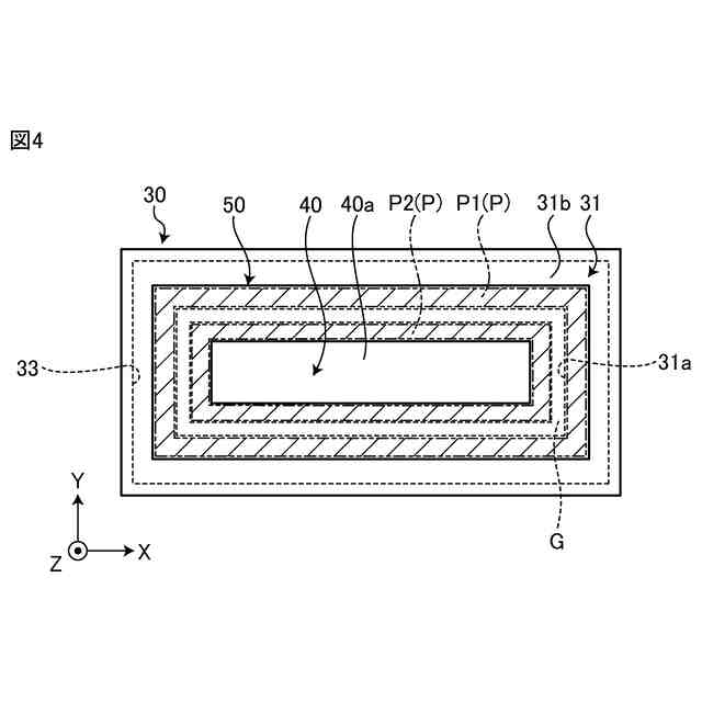
図4は、第1側部側から見た電池の平面視を示す図である。
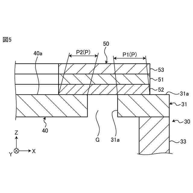
図5は、図3に示す封止体の部分拡大断面図である。
図6は、第1接触面および第2接触面の部位の平面図である。
図7は、図6に示すVII-VII線に沿う凹部の断面図である。
図8は、接合強度を示す図である。
図9は、本開示の実施形態の変形例に係る電池の分解斜視図である。
【発明を実施するための形態】
【0010】
以下に、実施の形態を図面に基づいて詳細に説明する。なお、この実施の形態により本開示が限定されるものではない。各実施の形態は例示であり、異なる実施の形態で示した構成の部分的な置換又は組み合わせが可能であることは言うまでもない。
(【0011】以降は省略されています)
この特許をJ-PlatPat(特許庁公式サイト)で参照する
関連特許
株式会社村田製作所
電池
12日前
株式会社村田製作所
釣り具
11日前
株式会社村田製作所
電子部品
4日前
株式会社村田製作所
コイル部品
18日前
株式会社村田製作所
噴霧ノズル
6日前
株式会社村田製作所
フィルタ回路
8日前
株式会社村田製作所
流体制御装置
19日前
株式会社村田製作所
弾性波フィルタ
18日前
株式会社村田製作所
インダクタ部品
18日前
株式会社村田製作所
複合型電子部品
4日前
株式会社村田製作所
積層インダクタ
8日前
株式会社村田製作所
グラビア印刷版
26日前
株式会社村田製作所
呼吸検出システム
8日前
株式会社村田製作所
多層基板及び電子機器
8日前
株式会社村田製作所
多層基板及び電子機器
8日前
株式会社村田製作所
積層セラミック電子部品
5日前
株式会社村田製作所
積層セラミック電子部品
20日前
株式会社村田製作所
積層セラミック電子部品
20日前
株式会社村田製作所
積層セラミック電子部品
5日前
株式会社村田製作所
積層セラミック電子部品
20日前
株式会社村田製作所
積層セラミック電子部品
27日前
株式会社村田製作所
光学的パターン表示物品
4日前
株式会社村田製作所
積層セラミック電子部品
4日前
株式会社村田製作所
積層セラミックコンデンサ
5日前
株式会社村田製作所
積層セラミックコンデンサ
今日
株式会社村田製作所
二次電池および電池パック
今日
株式会社村田製作所
二次電池および電池パック
今日
株式会社村田製作所
積層セラミックコンデンサ
20日前
株式会社村田製作所
電池および電池の製造方法
4日前
株式会社村田製作所
積層セラミックコンデンサ
11日前
株式会社村田製作所
積層インダクタの製造方法
4日前
株式会社村田製作所
積層セラミックコンデンサ
8日前
株式会社村田製作所
積層コイル部品の製造方法
20日前
株式会社村田製作所
樹脂多層基板及び電子機器
8日前
株式会社村田製作所
積層セラミックコンデンサ
8日前
株式会社村田製作所
積層セラミックコンデンサ
6日前
続きを見る
他の特許を見る