TOP
|
特許
|
意匠
|
商標
特許ウォッチ
Twitter
他の特許を見る
10個以上の画像は省略されています。
公開番号
2025134255
公報種別
公開特許公報(A)
公開日
2025-09-17
出願番号
2024032039
出願日
2024-03-04
発明の名称
積層セラミック電子部品
出願人
株式会社村田製作所
代理人
個人
,
個人
主分類
H01G
4/30 20060101AFI20250909BHJP(基本的電気素子)
要約
【課題】実装時の状態が安定しやすい積層セラミックコンデンサを提供する。
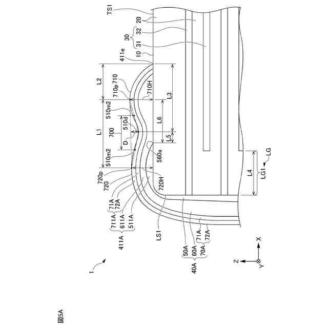
【解決手段】積層体10と、積層体10の両端部に配置された一対の外部電極40とを備え、外部電極40は、主面側外部電極411Aを含み、積層方向Tおよび長さ方向Lに沿った断面視において、主面側外部電極411Aは、その表面に、積層体10側に窪む凹部510Aと、凹部510Aを挟んで、積層体10の長さ方向Lで中央側に配置された第1の盛り上がり部710および積層体10の長さ方向Lで端部側に配置された第2の盛り上がり部720と、を有し、第1の盛り上がり部710の頂点710pと、第2の盛り上がり部720の頂点720pと、の間の長さ方向の距離L1は、主面側外部電極411Aの長さ方向Lでの内側端部411eと、第1の盛り上がり部710の頂点710pとの間の長さ方向Lの距離L2よりも長い。
【選択図】図5B
特許請求の範囲
【請求項1】
高さ方向に交互に積層された複数のセラミック層および複数の内部導体層を含むとともに、前記高さ方向に相対する第1の主面および第2の主面と、前記高さ方向に直交する長さ方向に相対する第1の端面および第2の端面と、前記高さ方向および前記長さ方向に直交する幅方向に相対する第1の側面および第2の側面と、を含む積層体と、
前記積層体の前記長さ方向の両端部のそれぞれに、互いに離間して配置された一対の外部電極と、を備え、
前記内部導体層は、
前記第1の端面に引き出される第1の内部導体層と、
前記第2の端面に引き出される第2の内部導体層と、を含み、
前記外部電極は、
前記第1の主面上および前記第2の主面上の少なくとも一方に配置された主面側外部電極を含み、
前記高さ方向および前記長さ方向に沿った断面視において、前記主面側外部電極は、その表面に、前記積層体側に窪む凹部と、
前記凹部を挟んで、前記積層体の前記長さ方向で中央側に配置された第1の盛り上がり部および前記積層体の前記長さ方向で端部側に配置された第2の盛り上がり部と、を有し、
前記第1の盛り上がり部の頂点と、前記第2の盛り上がり部の頂点と、の間の前記長さ方向の距離L1は、前記主面側外部電極の前記長さ方向での内側端部と、前記第1の盛り上がり部の頂点との間の前記長さ方向の距離L2よりも長い、積層セラミック電子部品。
続きを表示(約 890 文字)
【請求項2】
前記積層体は、
前記第1の内部導体層と前記第2の内部導体層とが前記高さ方向で対向する対向電極部と、
前記対向電極部から前記第1の端面までの間、および前記対向電極部から前記第2の端面までの間、のそれぞれに位置する端面側外層部と、を含み、
前記距離L1は、前記端面側外層部の前記長さ方向の距離L4よりも長い、請求項1に記載の積層セラミック電子部品。
【請求項3】
前記距離L1は、前記主面側外部電極の前記高さ方向に対応する厚みにおける最大厚みよりも大きい、請求項1または2に記載の積層セラミック電子部品。
【請求項4】
前記主面側外部電極の前記長さ方向での前記内側端部と、前記凹部の最深部と、の間の長さ方向の距離L3は、前記端面側外層部の長さ方向の距離L4よりも長い、請求項1または2に記載の積層セラミック電子部品。
【請求項5】
前記積層体の表面から前記第1の盛り上がり部の前記頂点までの前記高さ方向の最短距離である前記第1の盛り上がり部の高さは、前記積層体の表面から前記第2の盛り上がり部の前記頂点までの前記高さ方向の距離である前記第2の盛り上がり部の高さよりも高い、請求項1または2に記載の積層セラミック電子部品。
【請求項6】
前記主面側外部電極を、前記高さ方向および前記長さ方向に沿った断面視した状態において、
前記第1の盛り上がり部の頂点と、前記第2の盛り上がり部の頂点と、を結ぶ線と、前記凹部の最深部と、の間の最短距離を前記凹部の深さとした場合、当該凹部の深さは、前記主面側外部電極層の最大厚みの5%以上15%以下である、請求項1または2に記載の積層セラミック電子部品。
【請求項7】
前記内部導体層は、前記第1の端面および前記第2の端面のいずれにも引き出されず、かつ、前記セラミック層を挟んで前記第1の内部導体層および前記第2の内部導体層の少なくとも一方に対向する浮き内部導体層、を有する、請求項1または2に記載の積層セラミック電子部品。
発明の詳細な説明
【技術分野】
【0001】
本発明は、積層セラミック電子部品に関する。
続きを表示(約 2,000 文字)
【背景技術】
【0002】
従来、積層セラミック電子部品として積層セラミックコンデンサが知られている。一般に、積層セラミックコンデンサは、誘電体層と内部電極層とが交互に複数積層された直方体形状の積層体と、この積層体の両端面に設けられた外部電極と、を備えている。例えば特許文献1には、上述の構造を有し、かつ、外部電極が、焼き付けにより形成された下地電極層を含む積層セラミックコンデンサが開示されている。
【先行技術文献】
【特許文献】
【0003】
特開2003-243249号公報
【発明の概要】
【発明が解決しようとする課題】
【0004】
ところで、積層セラミックコンデンサの外部電極は、通常、直方体形状の積層体の最も広い平面を形成する主面側にも配置されている。そして、この主面側に配置された外部電極の表面は、全体的にラウンドした形状(丸みをおびた形状)となっている。この場合、積層セラミックコンデンサを基板へ実装する際においては、外部電極の基板との接地面積が小さくなり、実装時の状態が安定しない場合がある。
【0005】
本発明は、実装時の状態が安定しやすい積層セラミックコンデンサを提供することを目的とする。
【課題を解決するための手段】
【0006】
本発明に係る積層セラミックコンデンサは、高さ方向に交互に積層された複数のセラミック層および複数の内部導体層を含むとともに、前記高さ方向に相対する第1の主面および第2の主面と、前記高さ方向に直交する長さ方向に相対する第1の端面および第2の端面と、前記高さ方向および前記長さ方向に直交する幅方向に相対する第1の側面および第2の側面と、を含む積層体と、前記積層体の前記長さ方向の両端部のそれぞれに、互いに離間して配置された一対の外部電極と、を備え、前記内部導体層は、前記第1の端面に引き出される第1の内部導体層と、前記第2の端面に引き出される第2の内部導体層と、を含み、前記外部電極は、前記第1の主面上および前記第2の主面上の少なくとも一方に配置された主面側外部電極を含み、前記高さ方向および前記長さ方向に沿った断面視において、前記主面側外部電極は、その表面に、前記積層体側に窪む凹部と、前記凹部を挟んで、前記積層体の前記長さ方向で中央側に配置された第1の盛り上がり部および前記積層体の前記長さ方向で端部側に配置された第2の盛り上がり部と、を有し、前記第1の盛り上がり部の頂点と、前記第2の盛り上がり部の頂点と、の間の前記長さ方向の距離L1は、前記主面側外部電極の前記長さ方向での内側端部と、前記第1の盛り上がり部の頂点との間の前記長さ方向の距離L2よりも長い。
【発明の効果】
【0007】
本発明によれば、実装時の状態が安定しやすい積層セラミックコンデンサを提供することができる。
【図面の簡単な説明】
【0008】
実施形態に係る積層セラミックコンデンサの外観斜視図である。
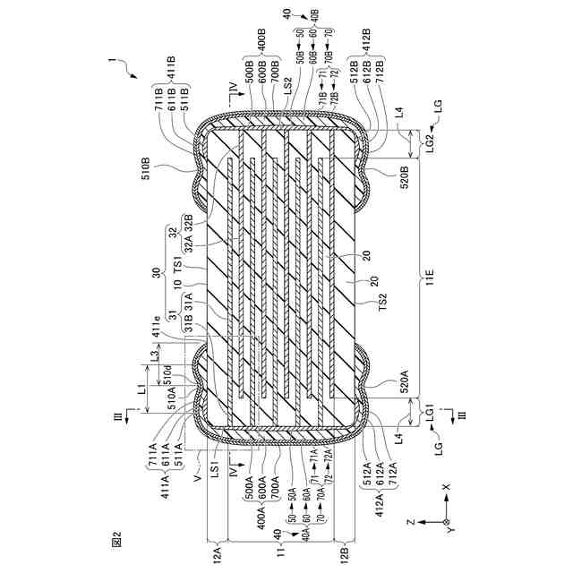
図1のII-II線に沿った断面図である。
図2のIII-III線に沿った断面図である。
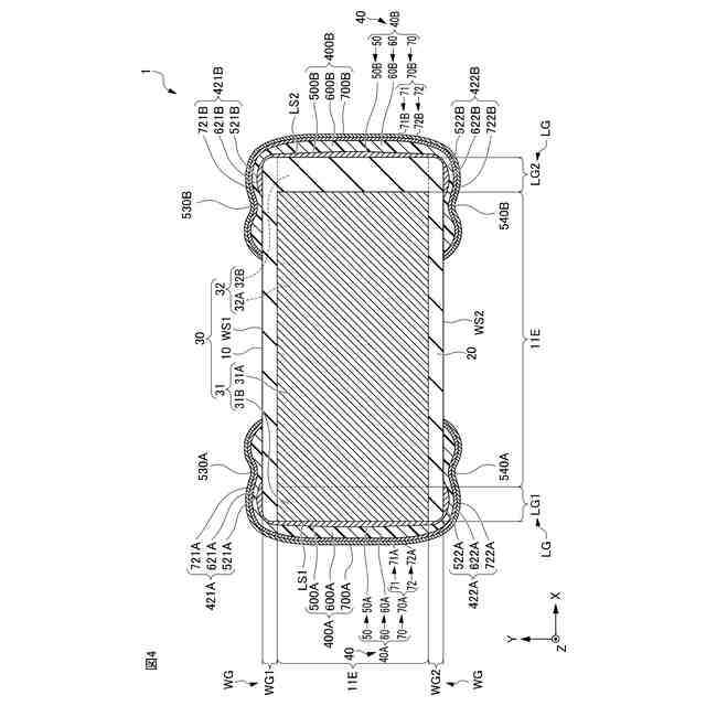
図2のIV-IV線に沿った断面図である。
図2のVで示す部分の拡大図であって、第1の主面側外部電極の断面を示す図である。
図2のVで示す部分の拡大図であって、第1の主面側外部電極の断面を示す図である。
実施形態の積層セラミックコンデンサの製造方法を示す図であって、積層体に外部電極を形成する第1の工程を示す図である。
実施形態の積層セラミックコンデンサの製造方法を示す図であって、積層体に外部電極を形成する第2の工程を示す図である。
実施形態の積層セラミックコンデンサの製造方法を示す図であって、積層体に外部電極を形成する第3の工程を示す図である。
2連構造の積層セラミックコンデンサを示す図である。
3連構造の積層セラミックコンデンサを示す図である。
4連構造の積層セラミックコンデンサを示す図である。
【発明を実施するための形態】
【0009】
以下、実施形態に係る積層セラミック電子部品としての積層セラミックコンデンサ1について、図1~図4を用いて説明する。図1は、実施形態の積層セラミックコンデンサ1の外観斜視図である。図2は、図1の積層セラミックコンデンサ1のII-II線に沿った断面図である。図3は、図2の積層セラミックコンデンサ1のIII-III線に沿った断面図である。図4は、図2の積層セラミックコンデンサ1のIV-IV線に沿った断面図である。
【0010】
積層セラミックコンデンサ1は、積層体10と、外部電極40と、を有する。
(【0011】以降は省略されています)
この特許をJ-PlatPat(特許庁公式サイト)で参照する
関連特許
株式会社村田製作所
電池
13日前
株式会社村田製作所
ラック
1か月前
株式会社村田製作所
釣り具
12日前
株式会社村田製作所
電子部品
5日前
株式会社村田製作所
搬送装置
1か月前
株式会社村田製作所
測定装置
今日
株式会社村田製作所
増幅回路
1か月前
株式会社村田製作所
電池パック
今日
株式会社村田製作所
コイル部品
1か月前
株式会社村田製作所
高周波回路
1か月前
株式会社村田製作所
高周波回路
1か月前
株式会社村田製作所
コイル部品
19日前
株式会社村田製作所
噴霧ノズル
7日前
株式会社村田製作所
測定システム
1か月前
株式会社村田製作所
流体制御装置
20日前
株式会社村田製作所
フィルタ回路
9日前
株式会社村田製作所
電力増幅回路
1か月前
株式会社村田製作所
積層インダクタ
1か月前
株式会社村田製作所
積層インダクタ
9日前
株式会社村田製作所
圧力センサ装置
1か月前
株式会社村田製作所
インダクタ部品
1か月前
株式会社村田製作所
グラビア印刷版
27日前
株式会社村田製作所
圧力センサ装置
今日
株式会社村田製作所
インダクタ部品
1か月前
株式会社村田製作所
インダクタ部品
19日前
株式会社村田製作所
弾性波フィルタ
19日前
株式会社村田製作所
複合型電子部品
5日前
株式会社村田製作所
電子部品包装装置
今日
株式会社村田製作所
呼吸検出システム
9日前
株式会社村田製作所
電子部品の製造装置
1か月前
株式会社村田製作所
多層基板及び電子機器
9日前
株式会社村田製作所
多層基板及び電子機器
9日前
株式会社村田製作所
積層セラミック電子部品
6日前
株式会社村田製作所
積層セラミック電子部品
28日前
株式会社村田製作所
積層セラミック電子部品
21日前
株式会社村田製作所
積層セラミック電子部品
21日前
続きを見る
他の特許を見る