TOP
|
特許
|
意匠
|
商標
特許ウォッチ
Twitter
他の特許を見る
公開番号
2025121525
公報種別
公開特許公報(A)
公開日
2025-08-20
出願番号
2024016962
出願日
2024-02-07
発明の名称
コイル部品
出願人
株式会社村田製作所
代理人
個人
,
個人
主分類
H01F
17/04 20060101AFI20250813BHJP(基本的電気素子)
要約
【課題】コイル部品の特性に対する悪影響を低減できる。
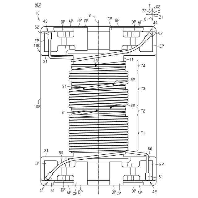
【解決手段】コイル部品10は、ドラムコア10C、第1ワイヤ50、及び第2ワイヤ60を備えている。ドラムコア10Cは、巻芯部11、第1鍔部21、第2鍔部31を有している。第2ワイヤ60は、第1巻回部71、第2巻回部72、第3巻回部73を備えている。第2巻回部72は、中心軸Xに沿う方向において第1巻回部71に対して第2鍔部31側に位置し、少なくとも一部が、巻芯部11の外周面に巻回されている。第2巻回部72において第2ワイヤ60を第1端61から第2端62へと辿っていったときに、第2ワイヤ60は、2ターン巻回される範囲内において、第1ワイヤ50の特定の1ターンに対して交差する第1交差箇所81及び第2交差箇所82を有している。
【選択図】図2
特許請求の範囲
【請求項1】
柱状の巻芯部、及び前記巻芯部の中心軸に沿う方向の第1端に設けられた第1鍔部、前記巻芯部における前記第1端とは反対側の第2端に設けられた第2鍔部を有するドラムコアと、
前記第1鍔部に設けられた第1外部電極及び第2外部電極と、
前記第2鍔部に設けられた第3外部電極及び第4外部電極と、
前記巻芯部に巻回され、第1端が前記第1外部電極に接続し、第2端が前記第3外部電極に接続する第1ワイヤと、
前記第1ワイヤと同一方向に前記巻芯部に巻回され、第1端が前記第2外部電極に接続し、第2端が前記第4外部電極に接続する第2ワイヤと、
を備え、
前記第2ワイヤは、
複数のターンに亘って前記第1ワイヤに対して外周側に巻回される第1巻回部と、
前記中心軸に沿う方向において前記第1巻回部に対して前記第2鍔部側に位置し、少なくとも一部が前記巻芯部の外周面に巻回されている第2巻回部と、
前記中心軸に沿う方向において前記第2巻回部に対して前記第2鍔部側に位置し、複数のターンに亘って前記第1ワイヤに対して外周側に巻回される第3巻回部と、
を備え、
前記第2巻回部において前記第2ワイヤを前記第1端から前記第2端へと辿っていったときに、前記第2ワイヤは、2ターン巻回される範囲内において、前記第1ワイヤの特定の1ターンに対して交差する第1交差箇所及び第2交差箇所を有している
コイル部品。
続きを表示(約 1,300 文字)
【請求項2】
前記第2ワイヤは、前記第1交差箇所を有するターンにおいて、0.5ターン以上が前記巻芯部の外周面に巻回されており、前記第2交差箇所を有するターンにおいて、0.5ターン以上が前記巻芯部の外周面に巻回されている
請求項1に記載のコイル部品。
【請求項3】
前記第1交差箇所及び前記第2交差箇所は、前記第2ワイヤを前記第1端から前記第2端へと辿っていったときに、前記中心軸に沿う方向において前記第2鍔部側から前記第1鍔部側に第1ワイヤを跨いでいる箇所であり、
前記第2ワイヤは、前記第1交差箇所及び前記第2交差箇所よりも後のターンにおいて、前記第2ワイヤを前記第1端から前記第2端へと辿っていったときに、前記中心軸に沿う方向において前記第1鍔部側から前記第2鍔部側に第1ワイヤを跨いでいる箇所を有する
請求項1に記載のコイル部品。
【請求項4】
Nを3以上の整数とし、前記第1ワイヤの特定の1ターンを、前記第1ワイヤのNターン目としたとき、
前記第1交差箇所は、前記第2ワイヤのNターン目であり、
前記第2交差箇所は、前記第2ワイヤの(N+1)ターン目である
請求項1に記載のコイル部品。
【請求項5】
Nを3以上の整数とし、前記第1ワイヤの特定の1ターンを、前記第1ワイヤのNターン目としたとき、
前記第1交差箇所は、前記第2ワイヤの(N-1)ターン目であり、
前記第2交差箇所は、前記第2ワイヤのNターン目である
請求項1に記載のコイル部品。
【請求項6】
前記第2ワイヤの1ターン目は、前記第1ワイヤの1ターン目と前記第1ワイヤの2ターン目との間に位置している
請求項1に記載のコイル部品。
【請求項7】
前記第2ワイヤの最終ターンは、前記第1ワイヤの最終ターンよりも前記中心軸に沿う方向において前記第2鍔部側に位置している
請求項1に記載のコイル部品。
【請求項8】
前記第1ワイヤにおける最終ターンは、(2×N)ターン目であり、
前記第2ワイヤにおける最終ターンは、(2×N)ターン目である
請求項4又は請求項5に記載のコイル部品。
【請求項9】
前記第2ワイヤにおける(N-2)ターン目は、前記第1ワイヤの(N-3)ターン目と(N-2)ターン目との間で、前記第1ワイヤに対して外周側に巻回されており、
前記第2ワイヤにおける(N+2)ターン目は、前記第1ワイヤの(N+2)ターン目と(N+3)ターン目との間で、前記第1ワイヤに対して外周側に巻回されている
請求項5に記載のコイル部品。
【請求項10】
前記第2ワイヤの(2×N)ターンよりも1つ前のターンは、前記第1ワイヤの(2×N)ターンよりも1つ前のターンに対して交差する第3交差箇所を有している
請求項8に記載のコイル部品。
(【請求項11】以降は省略されています)
発明の詳細な説明
【技術分野】
【0001】
本発明は、コイル部品に関する。
続きを表示(約 2,100 文字)
【背景技術】
【0002】
特許文献1に記載のコイル部品は、ドラム型コアと、4つの外部電極と、第1ワイヤと、第2ワイヤと、を備えている。ドラム型コアは、巻芯部と、第1鍔部と、第2鍔部と、を備えている。巻芯部は四角柱状である。第1鍔部は、巻芯部の第1端に接続している。第2鍔部は、巻芯部の第2端に接続している。4つの外部電極のうちの2つは、第1鍔部の表面に位置している。残りの2つの外部電極は、第2鍔部の表面に位置している。
【0003】
第1ワイヤは、巻芯部に巻回されている。第1ワイヤの第1端は、第1鍔部上の外部電極に接続している。第1ワイヤの第2端は、第2鍔部側上の外部電極に接続している。第2ワイヤは、巻芯部に巻回されている。第2ワイヤの第1端は、第1鍔部上の外部電極に接続している。第2ワイヤの第2端は、第2鍔部上の外部電極に接続している。第2ワイヤは、第1ワイヤと同一方向に巻回されている。また、第2ワイヤは、全体的に、第1ワイヤの外側に巻回されている。
【先行技術文献】
【特許文献】
【0004】
特開2018-120887号公報
【発明の概要】
【発明が解決しようとする課題】
【0005】
特許文献1に記載のコイル部品において、第2ワイヤは、全体的に第1ワイヤの外側に巻回されている。そのため、第2ワイヤにおいて巻芯部に巻回された部分の長さは、第1ワイヤにおいて巻芯部に巻回された部分の長さよりも長くなっている。巻芯部に巻回されたワイヤの長さが長いほど、当該ワイヤの直流抵抗が大きくなる。したがって、巻芯部に巻回された第1ワイヤの長さと、巻芯部に巻回された第2ワイヤの長さとの差が大きくなることにより、各ワイヤの直流抵抗の差が大きくなる。この直流抵抗の差によって、コイル部品として求められる特性に悪影響を及ぼすおそれがある。
【課題を解決するための手段】
【0006】
上記課題を解決するため、本発明は、柱状の巻芯部、及び前記巻芯部の中心軸に沿う方向の第1端に設けられた第1鍔部、前記巻芯部における前記第1端とは反対側の第2端に設けられた第2鍔部を有するドラムコアと、前記第1鍔部に設けられた第1外部電極及び第2外部電極と、前記第2鍔部に設けられた第3外部電極及び第4外部電極と、前記巻芯部に巻回され、第1端が前記第1外部電極に接続し、第2端が前記第3外部電極に接続する第1ワイヤと、前記第1ワイヤと同一方向に前記巻芯部に巻回され、第1端が前記第2外部電極に接続し、第2端が前記第4外部電極に接続する第2ワイヤと、を備え、前記第2ワイヤは、複数のターンに亘って前記第1ワイヤに対して外周側に巻回される第1巻回部と、前記中心軸に沿う方向において前記第1巻回部に対して前記第2鍔部側に位置し、少なくとも一部が前記巻芯部の外周面に巻回されている第2巻回部と、前記中心軸に沿う方向において前記第2巻回部に対して前記第2鍔部側に位置し、複数のターンに亘って前記第1ワイヤに対して外周側に巻回される第3巻回部と、を備え、前記第2巻回部において前記第2ワイヤを前記第1端から前記第2端へと辿っていったときに、前記第2ワイヤは、2ターン巻回される範囲内において、前記第1ワイヤの特定の1ターンに対して交差する第1交差箇所及び第2交差箇所を有しているコイル部品である。
【発明の効果】
【0007】
上記構成によれば、コイル部品の特性に対する悪影響を低減できる。
【図面の簡単な説明】
【0008】
図1は、第1実施形態のコイル部品の斜視図である。
図2は、第1実施形態のコイル部品の平面図である。
図3は、下方向を向いて第1実施形態のコイル部品を視たときの、各ワイヤの巻回の様態を説明する図である。
図4は、左方向を向いて第1実施形態のコイル部品を視たときの、各ワイヤの巻回の様態を説明する図である。
図5は、下方向を向いて第2実施形態のコイル部品を視たときの、各ワイヤの巻回の様態を説明する図である。
図6は、左方向を向いて第2実施形態のコイル部品を視たときの、各ワイヤの巻回の様態を説明する図である。
図7は、下方向を向いて第3実施形態のコイル部品を視たときの、各ワイヤの巻回の様態を説明する図である。
図8は、左方向を向いて第3実施形態のコイル部品を視たときの、各ワイヤの巻回の様態を説明する図である。
【発明を実施するための形態】
【0009】
以下、コイル部品の第1実施形態、第2実施形態、及び第3実施形態を、図面を参照して説明する。なお、図面は、理解を容易にするために構成要素を拡大して示している場合がある。構成要素の寸法比率は実際のものと、又は別の図面中のものと異なる場合がある。
【0010】
(第1実施形態について)
図1に示すように、コイル部品10は、ドラムコア10Cと、板コア10Fと、を備えている。
(【0011】以降は省略されています)
この特許をJ-PlatPat(特許庁公式サイト)で参照する
関連特許
株式会社村田製作所
電子部品
10日前
株式会社村田製作所
測定装置
5日前
株式会社村田製作所
移相回路
3日前
株式会社村田製作所
電子聴診器
3日前
株式会社村田製作所
噴霧ノズル
12日前
株式会社村田製作所
高周波回路
4日前
株式会社村田製作所
コイル部品
3日前
株式会社村田製作所
コイル部品
3日前
株式会社村田製作所
電池パック
5日前
株式会社村田製作所
ネブライザ
3日前
株式会社村田製作所
フィルタ回路
14日前
株式会社村田製作所
フィルタ装置
4日前
株式会社村田製作所
圧力センサ装置
5日前
株式会社村田製作所
複合型電子部品
10日前
株式会社村田製作所
積層インダクタ
14日前
株式会社村田製作所
電池モジュール
3日前
株式会社村田製作所
呼吸検出システム
14日前
株式会社村田製作所
電子部品包装装置
5日前
株式会社村田製作所
ファブリペロー干渉計
4日前
株式会社村田製作所
コンデンサモジュール
3日前
株式会社村田製作所
造粒粉及びインダクタ
4日前
株式会社村田製作所
積層セラミック電子部品
10日前
株式会社村田製作所
積層セラミック電子部品
11日前
株式会社村田製作所
積層セラミック電子部品
4日前
株式会社村田製作所
積層セラミック電子部品
11日前
株式会社村田製作所
積層セラミック電子部品
4日前
株式会社村田製作所
積層セラミック電子部品
4日前
株式会社村田製作所
光学的パターン表示物品
10日前
株式会社村田製作所
濾過装置および濾過方法
4日前
株式会社村田製作所
積層セラミックコンデンサ
11日前
株式会社村田製作所
タブおよび電池モジュール
10日前
株式会社村田製作所
積層セラミックコンデンサ
12日前
株式会社村田製作所
タブおよび電池モジュール
10日前
株式会社村田製作所
積層セラミックコンデンサ
14日前
株式会社村田製作所
積層インダクタの製造方法
10日前
株式会社村田製作所
電池および電池の製造方法
10日前
続きを見る
他の特許を見る