TOP
|
特許
|
意匠
|
商標
特許ウォッチ
Twitter
他の特許を見る
10個以上の画像は省略されています。
公開番号
2025145212
公報種別
公開特許公報(A)
公開日
2025-10-03
出願番号
2024045283
出願日
2024-03-21
発明の名称
タブおよび電池モジュール
出願人
株式会社村田製作所
代理人
個人
,
個人
,
個人
主分類
H01H
37/76 20060101AFI20250926BHJP(基本的電気素子)
要約
【課題】過電流が流れてヒューズが溶断しても、溶断個所の再接触をより防止するタブおよび電池モジュールを提供する。
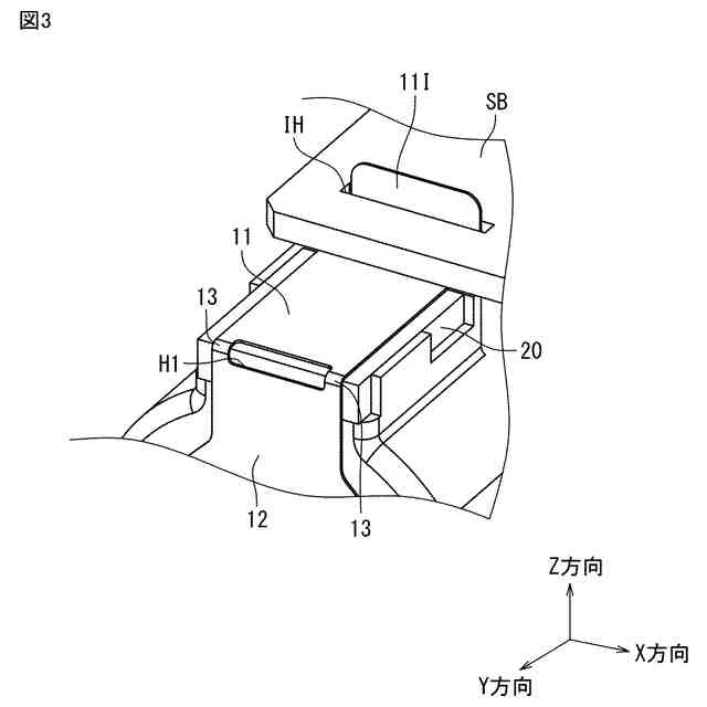
【解決手段】本開示のタブ1Aは、第1タブ部11と、第2タブ部12と、第1タブ部11と第2タブ部12とを接続する接続部13と、を備えるタブ本体10と、少なくとも第1タブ部11および第2タブ部12と接触する熱膨張部材20と、を備え、第1タブ部11が接続部13に向けて延在する方向をY方向、第2タブ部12が接続部13に向けて延在する方向をZ方向、Y方向およびZ方向それぞれと垂直な方向をX方向とし、接続部13のX方向の寸法L3は、第1タブ部11のX方向の寸法L1および第2タブ部12のX方向の寸法L2それぞれよりも小さく、熱膨張部材20は、第1タブ部11とZ方向で接触する第1接触面21と、第2タブ部12とY方向で接触する第2接触面22と、を備えている。
【選択図】図3
特許請求の範囲
【請求項1】
第1タブ部と、第2タブ部と、前記第1タブ部と前記第2タブ部とを接続する接続部と、を備えるタブ本体と、
少なくとも前記第1タブ部および前記第2タブ部と接触する熱膨張部材と、を備え、
前記第1タブ部が前記接続部に向けて延在する方向をY方向、前記第2タブ部が前記接続部に向けて延在する方向をZ方向、前記Y方向および前記Z方向それぞれと垂直な方向をX方向とし、
前記接続部の前記X方向の寸法は、前記第1タブ部の前記X方向の寸法および前記第2タブ部の前記X方向の寸法それぞれよりも小さく、
前記熱膨張部材は、前記第1タブ部と前記Z方向で接触する第1接触面と、前記第2タブ部と前記Y方向で接触する第2接触面と、を備えた、タブ。
続きを表示(約 950 文字)
【請求項2】
前記熱膨張部材は、前記第1接触面と前記第2接触面とで構成される角部を備えており、
前記角部は、前記接続部と接触している、請求項1に記載のタブ。
【請求項3】
前記接続部は、前記第1タブ部の外側縁と前記接続部の外側縁とが連続しており、前記接続部の外側縁と前記第2タブ部の外側縁とが連続している、請求項1に記載のタブ。
【請求項4】
前記接続部は、前記第1タブ部の両外側縁からそれぞれ連続し、前記第2タブ部の両外側縁からそれぞれ連続している、請求項3に記載のタブ。
【請求項5】
前記接続部は、1つである、請求項1に記載のタブ。
【請求項6】
前記Z方向に沿って視て、前記熱膨張部材の前記X方向の最大寸法は、前記第1タブ部の前記X方向の最大寸法よりも大きい、請求項1に記載のタブ。
【請求項7】
前記Y方向に沿って視て、前記熱膨張部材の前記X方向の最大寸法は、前記第2タブ部の前記X方向の最大寸法よりも大きい、請求項1に記載のタブ。
【請求項8】
前記接続部は、前記第1タブ部に向かうにつれて前記X方向の寸法が大きくなっており、
前記接続部は、前記第2タブ部に向かうにつれて前記X方向の寸法が大きくなっている、請求項1に記載のタブ。
【請求項9】
前記第1タブ部には、前記接続部と近接して第1開口が設けられ、および/または、前記第2タブ部には、前記接続部と近接して第2開口が設けられ、
前記第1開口の前記X方向両側にそれぞれ、第1縁部が設けられ、および/または、前記第2開口の前記X方向両側にそれぞれ、第2縁部が設けられ、
前記第1縁部の前記X方向の寸法は、前記接続部の前記X方向の寸法よりも大きい、および/または、前記第2縁部の前記X方向の寸法は、前記接続部の前記X方向の寸法よりも大きい、請求項1に記載のタブ。
【請求項10】
請求項1に記載のタブと、
前記タブと電気的に接続する電池セルと、
前記電池セルと収容する電池ホルダと、を備える、電池モジュール。
(【請求項11】以降は省略されています)
発明の詳細な説明
【技術分野】
【0001】
本開示は、タブおよび電池モジュールに関する。
続きを表示(約 1,800 文字)
【背景技術】
【0002】
特許文献1には、絶縁基板に凹部が設けられ、ヒュ-ズエレメントとしての低融点金属体が絶縁基板上に上記凹部の底面と間隙を保って配設され、上記低融点金属体上に上記凹部を覆う圧縮状態の弾性体または発泡性層を介して外被体が被せられている平型温度ヒュ-ズが開示されている。
【0003】
特許文献1に記載の平型温度ヒューズによれば、低融点金属体が溶融すると、弾性体または発泡層が凹部を埋めるように形状回復し、凹部の上端エッジ箇所において、溶融低融点金属体が剪断変形され、溶融低融点金属体がこの箇所で分断されて溶融低融点金属体の通電が遮断されることが開示されている。
【先行技術文献】
【特許文献】
【0004】
特開平9-17303号公報
【発明の概要】
【発明が解決しようとする課題】
【0005】
特許文献1に記載の平型温度ヒューズは、圧縮状態の弾性体または発泡性層は、凹部を埋める方向に弾性変形する。つまり、弾性体または発泡性層が弾性変形する方向は、一方向である。そのため、弾性体または発泡性層に、凹部を埋める方向と反対方向に力が作用した場合、溶融した低融点金属体同士が再接続される虞があった。
【0006】
本開示は、かかる観点に鑑みて為されたものである。すなわち、本開示の主たる目的は、過電流が流れてヒューズが溶断後に、溶断個所の再接触をより防止するタブおよび電池モジュールを提供することである。
【課題を解決するための手段】
【0007】
本開示のタブは、
第1タブ部と、第2タブ部と、前記第1タブ部と前記第2タブ部とを接続する接続部と、を備えるタブ本体と、
少なくとも前記第1タブ部および前記第2タブ部と接触する熱膨張部材と、を備え、
前記第1タブ部が前記接続部に向けて延在する方向をY方向、前記第2タブ部が前記接続部に向けて延在する方向をZ方向、前記Y方向および前記Z方向それぞれと垂直な方向をX方向とし、
前記接続部の前記X方向の寸法は、前記第1タブ部の前記X方向の寸法および前記第2タブ部の前記X方向の寸法それぞれよりも小さく、
前記熱膨張部材は、前記第1タブ部と前記Z方向で接触する第1接触面と、前記第2タブ部と前記Y方向で接触する第2接触面と、を備えている。
【0008】
本開示の電池モジュールは、
上述のタブと、
前記タブと電気的に接続する電池と、
前記電池と収容する電池ホルダと、を備える。
【発明の効果】
【0009】
本開示によれば、過電流が流れて第1タブ部と第2タブ部とを接続する接続部が溶断しても、溶断個所の再接触をより防止することができる。具体的には、熱膨張部材は、第1タブ部とZ方向で接触する第1接触面と、第2タブ部とY方向で接触する第2接触面と、を備えているため、第1接触面および第2接触面を使用し、溶断時の第1タブ部と第2タブ部との再接触をより適切に防止することができる。
【図面の簡単な説明】
【0010】
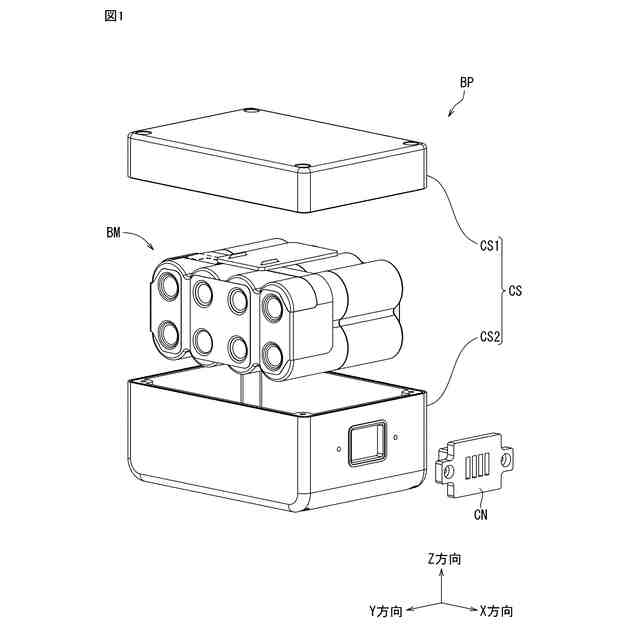
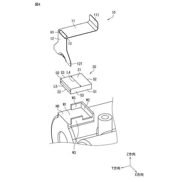
図1は、本開示の電池パックの模式分解斜視図である。
図2は、本開示の電池パックに収容される電池モジュールの模式分解斜視図である。
図3は、本実施形態のタブの模式斜視図である。
図4は、本実施形態のタブの模式分解斜視図である。
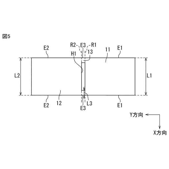
図5は、本実施形態のタブ本体(接続部で折り曲げる前)の模式平面図である。
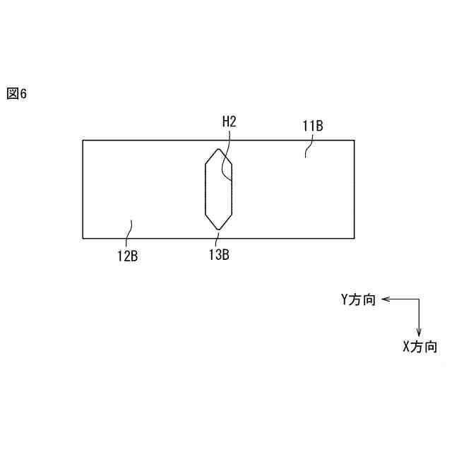
図6は、本実施形態のタブ本体(接続部で折り曲げる前)の変形例の模式平面図である。
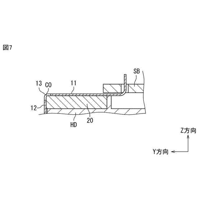
図7は、本実施形態のタブの模式断面図である。
図8は、本実施形態のタブに溶断が生じた場合を説明する模式断面図である。
図9Aは、本実施形態のタブ本体の他の変形例の模式斜視図である。
図9Bは、本実施形態のタブ本体の他の変形例の模式平面図である。
図10は、本実施形態のタブ本体の他の変形例の模式斜視図である。
図11は、本実施形態のタブ本体の他の変形例の模式斜視図である。
図12は、本実施形態のタブ本体の他の変形例の模式斜視図である。
【発明を実施するための形態】
(【0011】以降は省略されています)
この特許をJ-PlatPat(特許庁公式サイト)で参照する
関連特許
株式会社村田製作所
電子部品
4日前
株式会社村田製作所
噴霧ノズル
6日前
株式会社村田製作所
複合型電子部品
4日前
株式会社村田製作所
光学的パターン表示物品
4日前
株式会社村田製作所
積層セラミック電子部品
5日前
株式会社村田製作所
積層セラミック電子部品
5日前
株式会社村田製作所
積層セラミック電子部品
4日前
株式会社村田製作所
積層セラミックコンデンサ
8日前
株式会社村田製作所
積層セラミックコンデンサ
6日前
株式会社村田製作所
積層セラミックコンデンサ
5日前
株式会社村田製作所
タブおよび電池モジュール
4日前
株式会社村田製作所
タブおよび電池モジュール
4日前
株式会社村田製作所
積層インダクタの製造方法
4日前
株式会社村田製作所
電池および電池の製造方法
4日前
株式会社村田製作所
電子部品およびその製造方法
4日前
株式会社村田製作所
光学的パターン表示システム
4日前
株式会社村田製作所
弾性波フィルタ及び高周波回路
4日前
株式会社村田製作所
高周波モジュール及び通信装置
4日前
株式会社村田製作所
高周波モジュール及び通信装置
4日前
株式会社村田製作所
転倒検知装置、及び転倒検知方法
5日前
株式会社村田製作所
積層セラミックコンデンサ
1日前
個人
安全なNAS電池
1か月前
東レ株式会社
多孔質炭素シート
27日前
日本発條株式会社
積層体
8日前
個人
防雪防塵カバー
8日前
ローム株式会社
半導体装置
6日前
ローム株式会社
半導体装置
6日前
ローム株式会社
半導体装置
6日前
キヤノン株式会社
電子機器
27日前
ローム株式会社
半導体装置
27日前
エイブリック株式会社
半導体装置
29日前
ローム株式会社
半導体装置
4日前
エイブリック株式会社
半導体装置
29日前
株式会社ティラド
面接触型熱交換器
19日前
個人
半導体パッケージ用ガラス基板
7日前
ニチコン株式会社
コンデンサ
20日前
続きを見る
他の特許を見る