TOP
|
特許
|
意匠
|
商標
特許ウォッチ
Twitter
他の特許を見る
公開番号
2025140765
公報種別
公開特許公報(A)
公開日
2025-09-29
出願番号
2024040335
出願日
2024-03-14
発明の名称
積層セラミックコンデンサ
出願人
株式会社村田製作所
代理人
個人
,
個人
主分類
H01G
4/30 20060101AFI20250919BHJP(基本的電気素子)
要約
【課題】ボイドの発生を抑制することができる積層セラミックコンデンサを提供すること。
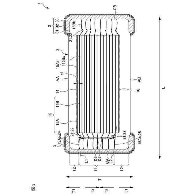
【解決手段】内部電極15は、積層方向Tに隣り合う内部電極15と対向する対向部15aと、対向部15aから引き出されるとともに外部電極3と接続される第1引出部15Abと、を有する。積層体2は、各対向部15aと、誘電体層14のうち隣り合う対向部15aに挟まれた部分と、からなる有効層部10を有する。第1引出部15Abは、積層方向中心側T2に頂点22を有するように屈曲する屈曲部21を有する。屈曲部21の頂点22と、有効層部10と、の長さ方向Lの最短距離は、誘電体層14の積層方向Tの寸法よりも大きく、当該屈曲部21の頂点22と、各端面Cのうち当該頂点22と近接する側の端面Cと、の長さ方向Lの最短距離よりも小さくなっている。
【選択図】図2
特許請求の範囲
【請求項1】
交互に積層された複数の誘電体層及び複数の内部電極を含む内層部と、積層方向に相対する第1主面及び第2主面と、前記積層方向に直交する幅方向に相対する第1側面及び第2側面と、前記積層方向及び前記幅方向に直交する長さ方向に相対する第1端面及び第2端面と、を有する積層体と、
各前記端面に対となって配置される外部電極と、
を備える積層セラミックコンデンサであって、
前記内部電極は、前記積層方向に隣り合う前記内部電極と対向する対向部と、前記対向部から引き出されるとともに前記外部電極と接続される引出部と、を有し、
前記積層体は、各前記対向部と、前記誘電体層のうち隣り合う前記対向部に挟まれた部分と、からなる有効層部を有し、
前記積層方向のうち、各前記主面から前記積層体の前記積層方向の中央部に向かう方向を、積層方向中心側とすると、
前記引出部は、前記積層方向中心側に頂点を有するように屈曲する屈曲部を有し、
前記屈曲部の前記頂点と、前記有効層部と、の前記長さ方向の最短距離は、前記誘電体層の前記積層方向の寸法よりも大きく、当該屈曲部の前記頂点と、各前記端面のうち当該頂点と近接する側の前記端面と、の前記長さ方向の最短距離よりも小さい、積層セラミックコンデンサ。
続きを表示(約 400 文字)
【請求項2】
前記屈曲部の前記頂点と、前記有効層部と、の前記長さ方向の最短距離は、50μm以下である、請求項1に記載の積層セラミックコンデンサ。
【請求項3】
前記対向部から前記第1端面側に引き出される前記引出部を、第1引出部とし、
前記第1引出部のうち最も前記第1主面側に位置する前記第1引出部を、第1主面側最外第1引出部とし、
前記第1引出部のうち最も前記第2主面側に位置する前記第1引出部を、第2主面側最外第1引出部とすると、
前記第1主面側最外第1引出部の前記屈曲部の前記頂点と、前記第2主面側最外第1引出部の前記屈曲部の前記頂点と、を結ぶ線分の長さは、前記第1主面側最外第1引出部の前記第1端面側の端部と、前記第2主面側最外第1引出部の前記第1端面側の端部と、を結ぶ線分の長さよりも小さい、請求項1又は2に記載の積層セラミックコンデンサ。
発明の詳細な説明
【技術分野】
【0001】
本発明は、積層セラミックコンデンサに関する。
続きを表示(約 1,500 文字)
【背景技術】
【0002】
従来、積層セラミック電子部品として積層セラミックコンデンサが知られている。一般に、積層セラミックコンデンサは、誘電体層と内部電極層とが交互に複数積層された積層体と、積層体の両端面に設けられた外部電極と、を備えている。例えば特許文献1には、上述の構造を有し、かつ、外部電極が、焼き付けにより形成された下地電極層を含む積層セラミックコンデンサが開示されている。
【先行技術文献】
【特許文献】
【0003】
特開2001-237137号公報
【発明の概要】
【発明が解決しようとする課題】
【0004】
しかしながら、特許文献1のような一般的な積層セラミックコンデンサにおいては、内部電極層の端部付近にボイド(空隙)が形成され易い。この部分にボイドが存在すると、ボイドを起点として、クラックが発生してしまうおそれがある。このため、信頼性の点で改善の余地がある。
【0005】
本発明は、ボイドの発生を抑制することができる積層セラミックコンデンサを提供することを目的とする。
【課題を解決するための手段】
【0006】
上記課題を解決すべく、本発明の積層セラミックコンデンサは、交互に積層された複数の誘電体層及び複数の内部電極を含む内層部と、積層方向に相対する第1主面及び第2主面と、前記積層方向に直交する幅方向に相対する第1側面及び第2側面と、前記積層方向及び前記幅方向に直交する長さ方向に相対する第1端面及び第2端面と、を有する積層体と、各前記端面に対となって配置される外部電極と、を備える積層セラミックコンデンサであって、前記内部電極は、前記積層方向に隣り合う前記内部電極と対向する対向部と、前記対向部から引き出されるとともに前記外部電極と接続される引出部と、を有し、前記積層体は、各前記対向部と、前記誘電体層のうち隣り合う前記対向部に挟まれた部分と、からなる有効層部を有し、前記積層方向のうち、各前記主面から前記積層体の前記積層方向の中央部に向かう方向を、積層方向中心側とすると、前記引出部は、前記積層方向中心側に頂点を有するように屈曲する屈曲部を有し、前記屈曲部の前記頂点と、前記有効層部と、の前記長さ方向の最短距離は、前記誘電体層の前記積層方向の寸法よりも大きく、当該屈曲部の前記頂点と、各前記端面のうち当該頂点と近接する側の前記端面と、の前記長さ方向の最短距離よりも小さい。
【発明の効果】
【0007】
本発明によれば、ボイドの発生を抑制することができる積層セラミックコンデンサを提供することができる。
【図面の簡単な説明】
【0008】
実施形態に係る積層セラミックコンデンサ1の概略斜視図である。
図1のII-II断面図である。
図1のII-II断面図である。
【発明を実施するための形態】
【0009】
以下、本発明の実施形態に係る積層セラミックコンデンサ1について図1~図3を参照しつつ説明する。
【0010】
(積層セラミックコンデンサ1)
図1に示すように、積層セラミックコンデンサ1は、いわゆる二端子構造の積層セラミックコンデンサである。積層セラミックコンデンサ1は、積層体2と、一対の外部電極3とを備える。積層体2は、略直方体状をなし、6つの外表面を有する。積層体2は、誘電体層14と内部電極15とが積層された内層部11を含む。
(【0011】以降は省略されています)
この特許をJ-PlatPat(特許庁公式サイト)で参照する
関連特許
他の特許を見る