TOP
|
特許
|
意匠
|
商標
特許ウォッチ
Twitter
他の特許を見る
10個以上の画像は省略されています。
公開番号
2025145208
公報種別
公開特許公報(A)
公開日
2025-10-03
出願番号
2024045275
出願日
2024-03-21
発明の名称
タブおよび電池モジュール
出願人
株式会社村田製作所
代理人
個人
,
個人
,
個人
主分類
H01H
85/36 20060101AFI20250926BHJP(基本的電気素子)
要約
【課題】過電流が流れてヒューズが溶断しても、溶断個所の再接触をより防止するタブおよび電池モジュールを提供する。
【解決手段】本開示のタブ1Aは、第1タブ部11Aと、第2タブ部12Aと、第1タブ部11Aと第2タブ部12Aとを接続する接続部13Aと、を備えるタブ本体10Aと、少なくとも接続部13Aと接触する熱膨張部材20Aと、を備え、第1タブ部11Aと第2タブ部12Aとが接続部を介して並ぶ方向をY方向、タブ本体10Aの厚み方向をZ方向、Y方向およびZ方向それぞれと垂直な方向をX方向とし、接続部13AのX方向の寸法L3は、第1タブ部11AのX方向の寸法L1および第2タブ部12AのX方向の寸法L2それぞれよりも小さく、熱膨張部材20Aは、タブ本体10AとX方向で接触するX接触面AX、タブ本体10AとY方向で接触するY接触面AY、タブ本体10AとZ方向で接触するZ接触面AZのうち、いずれか2つを少なくとも備えている。
【選択図】図3
特許請求の範囲
【請求項1】
第1タブ部と、第2タブ部と、前記第1タブ部と前記第2タブ部とを接続する接続部と、を備えるタブ本体と、
少なくとも前記接続部と接触する熱膨張部材と、を備え、
前記第1タブ部と前記第2タブ部とが接続部を介して並ぶ方向をY方向、前記タブ本体の厚み方向をZ方向、前記Y方向および前記Z方向それぞれと垂直な方向をX方向とし、
前記接続部の前記X方向の寸法は、前記第1タブ部の前記X方向の寸法および前記第2タブ部の前記X方向の寸法それぞれよりも小さく、
前記熱膨張部材は、前記タブ本体と前記X方向で接触するX接触面、前記タブ本体と前記Y方向で接触するY接触面、前記タブ本体と前記Z方向で接触するZ接触面のうち、いずれか2つを少なくとも備えている、タブ。
続きを表示(約 1,000 文字)
【請求項2】
前記熱膨張部材は、前記Z接触面から前記Z方向に突出する突出部を備えており、
前記突出部に前記X接触面および/または前記Y接触面が設けられている、請求項1に記載のタブ。
【請求項3】
前記タブ本体は孔を備え、前記孔の外側に前記接続部が配置されており、
前記孔に前記突出部が挿入されている、請求項2に記載のタブ。
【請求項4】
前記Z方向に沿って視て、前記突出部は、前記孔に嵌合している、請求項3に記載のタブ。
【請求項5】
前記突出部の前記Z方向の最大寸法は、前記タブ本体の厚み寸法以上である、請求項2に記載のタブ。
【請求項6】
前記孔の前記X方向の最大寸法は、前記接続部の前記X方向の寸法以上である、請求項3に記載のタブ。
【請求項7】
前記第1タブ部における前記接続部側のY方向端部には、前記Z方向に向けて折り曲げられ、前記熱膨張部材の一方側の前記Y接触面と接触する第1屈曲部が設けられ、
前記第2タブ部における前記接続部側のY方向端部には、前記Z方向に向けて折り曲げられ、前記熱膨張部材の他方側の前記Y接触面と接触する第2屈曲部が設けられている、請求項1に記載のタブ。
【請求項8】
前記第1屈曲部のZ方向端部には、前記熱膨張部材の前記Z接触面と接触する第1フック部が設けられ、
前記第2屈曲部のZ方向端部には、前記熱膨張部材の前記Z接触面と接触する第2フック部が設けられている、請求項7に記載のタブ。
【請求項9】
前記接続部は、
前記第1タブ部と接続する第1接続部位と、前記第2タブ部と接続する第2接続部位と、前記第1接続部位と前記第2接続部位とを接続する第3接続部位と、を備えており、
前記第1接続部位は、前記第3接続部位に向かうにつれて前記X方向の寸法が小さくなるテーパー部分を備え、
前記第2接続部位は、前記第3接続部位に向かうにつれて前記X方向の寸法が小さくなるテーパー部分を備えている、請求項1に記載のタブ。
【請求項10】
前記タブ本体は孔を備え、前記孔の外側に前記接続部が配置されており、
前記孔の形状は、前記Z方向に沿って視て、前記第1接続部位、前記第2接続部位および前記第3接続部位に対応して台形部分を有し、
前記熱膨張部材は、前記孔と嵌合している、請求項9に記載のタブ。
(【請求項11】以降は省略されています)
発明の詳細な説明
【技術分野】
【0001】
本開示は、タブおよび電池モジュールに関する。
続きを表示(約 2,100 文字)
【背景技術】
【0002】
特許文献1には、絶縁基板に凹部が設けられ、ヒュ-ズエレメントとしての低融点金属体が絶縁基板上に上記凹部の底面と間隙を保って配設され、上記低融点金属体上に上記凹部を覆う圧縮状態の弾性体または発泡性層を介して外被体が被せられている平型温度ヒュ-ズが開示されている。
【0003】
特許文献1に記載の平型温度ヒューズによれば、低融点金属体が溶融すると、弾性体または発泡層が凹部を埋めるように形状回復し、凹部の上端エッジ箇所において、溶融低融点金属体が剪断変形され、溶融低融点金属体がこの箇所で分断されて溶融低融点金属体の通電が遮断されることが開示されている。
【先行技術文献】
【特許文献】
【0004】
特開平9-17303号公報
【発明の概要】
【発明が解決しようとする課題】
【0005】
特許文献1に記載の平型温度ヒューズは、圧縮状態の弾性体または発泡性層は、凹部を埋める方向に弾性変形する。つまり、弾性体または発泡性層が弾性変形する方向は、一方向である。そのため、弾性体または発泡性層に、凹部を埋める方向と反対方向に力が作用した場合、溶融した低融点金属体同士が再接続される虞があった。
【0006】
本開示は、かかる観点に鑑みて為されたものである。すなわち、本開示の主たる目的は、過電流が流れてヒューズが溶断後、溶断個所の再接触をより防止するタブおよび電池モジュールを提供することである。
【課題を解決するための手段】
【0007】
本開示のタブは、
第1タブ部と、第2タブ部と、前記第1タブ部と前記第2タブ部とを接続する接続部と、を備えるタブ本体と、
少なくとも接続部と接触する熱膨張部材と、を備え、
前記第1タブ部と前記第2タブ部とが接続部を介して並ぶ方向をY方向、前記タブ本体の厚み方向をZ方向、前記Y方向および前記Z方向それぞれと垂直な方向をX方向とし、
前記接続部の前記X方向の寸法 は、前記第1タブ部の前記X方向の寸法 および前記第2タブ部の前記X方向の寸法 それぞれよりも小さく、
前記熱膨張部材は、前記タブ本体と前記X方向で接触するX接触面、前記タブ本体と前記Y方向で接触するY接触面、前記タブ本体と前記Z方向で接触するZ接触面のうち、いずれか2つを少なくとも備えている。
【0008】
本開示の電池モジュールは、
上述のタブと、
前記タブと電気的に接続する電池と、
前記電池と収容する電池ホルダと、を備える。
【発明の効果】
【0009】
本開示によれば、過電流が流れて第1タブ部と第2タブ部とを接続する接続部が溶断しても、溶断個所の再接触をより防止することができる。具体的には、熱膨張部材は、タブ本体とX方向で接触するX接触面、タブ本体とY方向で接触するY接触面、タブ本体とZ方向で接触するZ接触面のうち、いずれか2つを少なくとも備えているため、少なくとも2つの接触面を使用し、溶断時の第1タブ部と第2タブ部との再接触をより適切に防止することができる。
【図面の簡単な説明】
【0010】
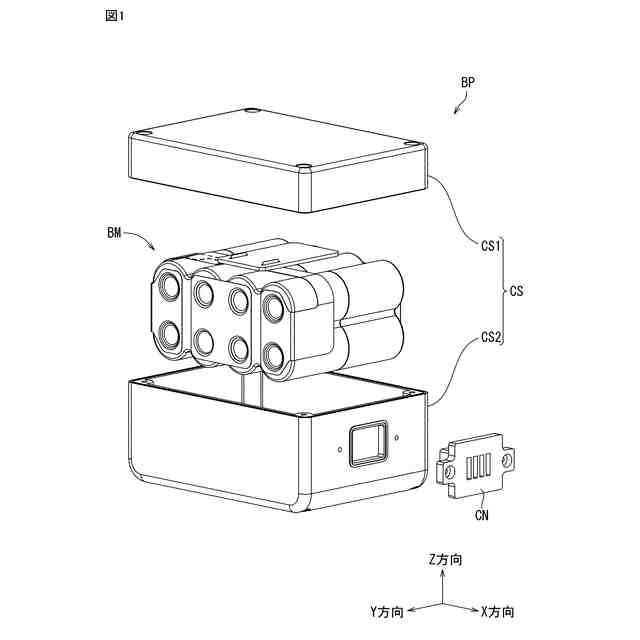
図1は、本開示の電池パックの模式分解斜視図である。
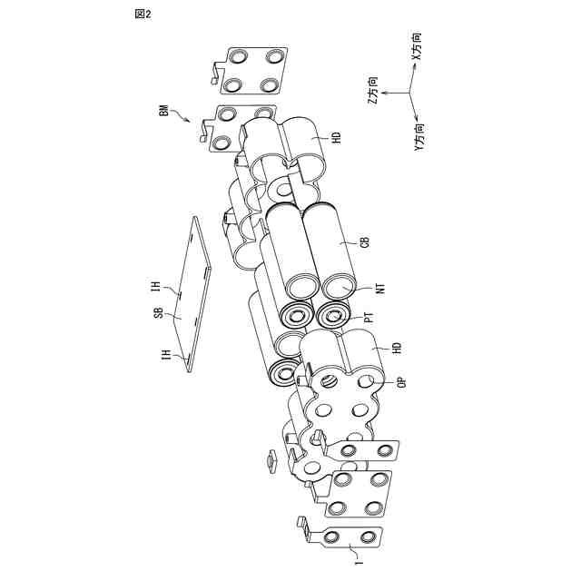
図2は、本開示の電池パックに収容される電池モジュールの模式分解斜視図である。
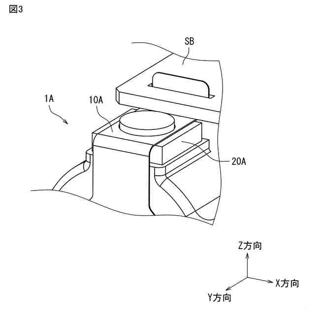
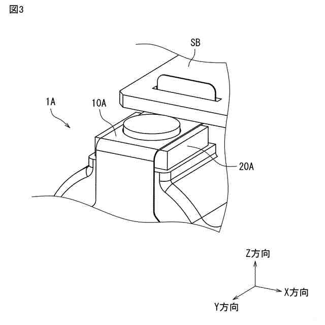
図3は、第1実施形態のタブの模式斜視図である。
図4は、第1実施形態のタブの模式分解斜視図である。
図5は、第1実施形態のタブ本体の模式平面図である。
図6Aは、第1実施形態のタブの模式平面図である。
図6Bは、図6AのB-B線で切断したタブの模式断面図である。
図6Cは、図6AのC-C線で切断したタブの模式断面図である。
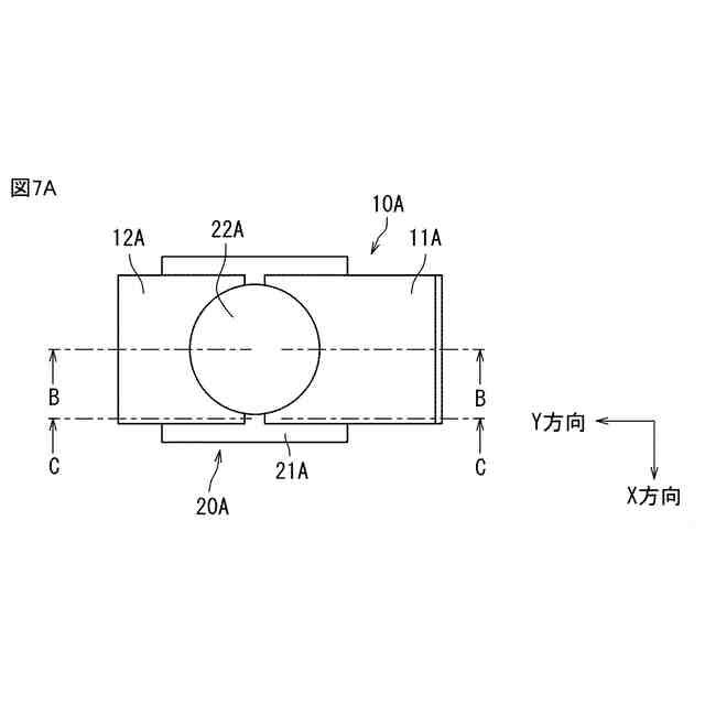
図7Aは、第1実施形態のタブに溶断が生じた場合を説明する模式平面図である。
図7Bは、図7AのB-B線で切断したタブの模式断面図である。
図7Cは、図7AのC-C線で切断したタブの模式断面図である。
図8は、第2実施形態のタブの模式分解斜視図である。
図9は、第2実施形態のタブ本体の模式平面図である。
図10Aは、第2実施形態のタブをX方向から視た模式断面図である。
図10Bは、第2実施形態のタブに溶断が生じた場合を説明する模式断面図である。
図11Aは、第2実施形態のタブの変形例の模式斜視図である。
図11Bは、第2実施形態のタブの変形例をX方向から視た模式断面図である。
図12は、第3実施形態のタブの模式分解斜視図である。
図13は、第3実施形態のタブの模式平面図である。
図14Aは、第3実施形態のタブに溶断が生じた場合を説明する模式平面図である。
図14Bは、第3実施形態のタブに溶断が生じた場合を説明する模式断面図である。
【発明を実施するための形態】
(【0011】以降は省略されています)
この特許をJ-PlatPat(特許庁公式サイト)で参照する
関連特許
株式会社村田製作所
電池
12日前
株式会社村田製作所
釣り具
11日前
株式会社村田製作所
電子部品
4日前
株式会社村田製作所
コイル部品
18日前
株式会社村田製作所
噴霧ノズル
6日前
株式会社村田製作所
流体制御装置
19日前
株式会社村田製作所
フィルタ回路
8日前
株式会社村田製作所
インダクタ部品
18日前
株式会社村田製作所
複合型電子部品
4日前
株式会社村田製作所
積層インダクタ
8日前
株式会社村田製作所
弾性波フィルタ
18日前
株式会社村田製作所
呼吸検出システム
8日前
株式会社村田製作所
多層基板及び電子機器
8日前
株式会社村田製作所
多層基板及び電子機器
8日前
株式会社村田製作所
積層セラミック電子部品
5日前
株式会社村田製作所
積層セラミック電子部品
5日前
株式会社村田製作所
光学的パターン表示物品
4日前
株式会社村田製作所
積層セラミック電子部品
4日前
株式会社村田製作所
積層セラミックコンデンサ
8日前
株式会社村田製作所
電池および電池の製造方法
4日前
株式会社村田製作所
二次電池および電池パック
今日
株式会社村田製作所
二次電池および電池パック
今日
株式会社村田製作所
積層セラミックコンデンサ
11日前
株式会社村田製作所
樹脂多層基板及び電子機器
8日前
株式会社村田製作所
積層セラミックコンデンサ
8日前
株式会社村田製作所
樹脂多層基板及び電子機器
8日前
株式会社村田製作所
積層インダクタの製造方法
4日前
株式会社村田製作所
積層セラミックコンデンサ
今日
株式会社村田製作所
積層セラミックコンデンサ
6日前
株式会社村田製作所
積層セラミックコンデンサ
5日前
株式会社村田製作所
タブおよび電池モジュール
4日前
株式会社村田製作所
タブおよび電池モジュール
4日前
株式会社村田製作所
電子部品およびその製造方法
4日前
株式会社村田製作所
光学的パターン表示システム
4日前
株式会社村田製作所
モジュール基板及び電子機器
8日前
株式会社村田製作所
高周波モジュール及び通信装置
4日前
続きを見る
他の特許を見る