TOP
|
特許
|
意匠
|
商標
特許ウォッチ
Twitter
他の特許を見る
10個以上の画像は省略されています。
公開番号
2025139675
公報種別
公開特許公報(A)
公開日
2025-09-29
出願番号
2024038634
出願日
2024-03-13
発明の名称
多層基板及び電子機器
出願人
株式会社村田製作所
代理人
弁理士法人 楓国際特許事務所
主分類
H05K
1/02 20060101AFI20250919BHJP(他に分類されない電気技術)
要約
【課題】段差部の変形及び補強材部近傍でのクラックを抑制した多層基板、及び当該多層基板を備える電子機器、を得る。
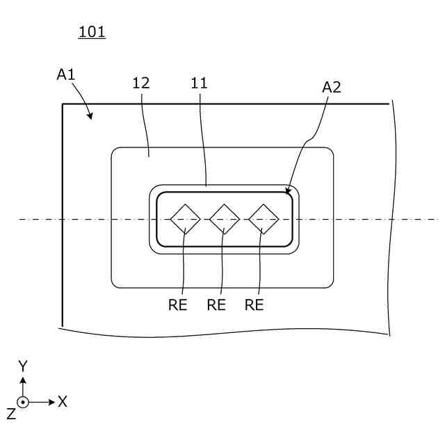
【解決手段】多層基板101は、導体パターンが形成された樹脂層を含む複数の樹脂層の積層による樹脂積層体10を備える。樹脂積層体10は、樹脂積層体10の層方向領域として第1領域A1及び当該第1領域A1に連続する第2領域A2を有する。樹脂積層体10の第1領域A1での厚みをT1で表し、樹脂積層体10の第2領域A2での厚みをT2で表すとき、それら厚みはT1<T2の関係にある。多層基板101は、樹脂積層体10の第1領域A1の上面と、樹脂積層体10の第2領域A2の側面と、に連続して接合している第1補強材部11と、樹脂積層体10の第1領域A1の上面T2と第1補強材部11の表面とに連続して接合している第2補強材部12と、を備える。
【選択図】図1
特許請求の範囲
【請求項1】
導体パターンが形成された樹脂層を含む複数の樹脂層の積層による樹脂積層体を備える多層基板であり、
前記樹脂積層体は、前記樹脂積層体の層方向領域として第1領域及び当該第1領域に連続する第2領域を有し、
前記樹脂積層体の前記第1領域での厚みをT1で表し、前記樹脂積層体の前記第2領域での厚みをT2で表すとき、それら厚みはT1<T2の関係にあり、
前記樹脂積層体の前記第1領域の上面と、前記樹脂積層体の前記第2領域の側面と、に連続して接合している、第1樹脂で構成される第1補強材部と、
前記樹脂積層体の前記第1領域の表面と前記第1補強材部の表面とに連続して接合している、第2樹脂で構成される第2補強材部と、
を備える多層基板。
続きを表示(約 1,400 文字)
【請求項2】
導体パターンが形成された樹脂層を含む複数の樹脂層の積層による樹脂積層体を備える多層基板であり、
前記樹脂積層体の層方向領域として第1領域、第2領域、及び前記第1領域と前記第2領域との間の領域である第3領域を有し、
前記樹脂積層体の前記第1領域での厚みをT1で表し、前記樹脂積層体の前記第2領域の厚みをT2で表し、前記樹脂積層体の前記第3領域の厚みをT3で表すとき、それら厚みはT3<T1<T2の関係にあり、
前記樹脂積層体の前記第3領域を充填し、前記樹脂積層体の前記第1領域の上面と前記樹脂積層体の前記第2領域の側面とに連続して接合している、第1樹脂で構成される第1補強材部と、
前記樹脂積層体の前記第1領域の表面と前記第1補強材部の表面とに連続して接合している、第2樹脂で構成される第2補強材部と、
を備える多層基板。
【請求項3】
前記樹脂層のヤング率をE10で表し、前記第1補強材部のヤング率をE11で表し、前記第2補強材部のヤング率をE12で表すと、
E11>E10、E11>E12、の関係にある、
請求項1又は2に記載の多層基板。
【請求項4】
前記第1補強材部の、前記樹脂積層体の前記第2領域の側面に沿った高さをL1で表し、前記第1補強材部の、前記樹脂積層体の前記第1領域での前記第2領域から離れる方向に沿った長さをL2で表すとき、L1>L2の関係にある、
請求項1又は2に記載の多層基板。
【請求項5】
前記第2補強材部は、前記樹脂積層体の前記第1領域の表面と、前記第1補強材部の表面と、前記樹脂積層体の前記第2領域の側面と、に沿って連続している、
請求項1又は2に記載の多層基板。
【請求項6】
前記樹脂積層体の内部の層に形成された信号ライン用導体パターンと、前記樹脂積層体の下面又は内層に形成されたグランド導体層と、を備え、少なくとも、前記信号ライン用導体パターン、前記グランド導体層及び前記樹脂積層体の前記第1領域でストリップ線路が構成され、
前記第1補強材部と前記信号ライン用導体パターンとの間にグランド導体層が形成されている、
請求項1又は2に記載の多層基板。
【請求項7】
前記樹脂積層体の前記第2領域の上面に形成された放射電極と、前記樹脂積層体の少なくとも前記第2領域の下面又は内層に形成されたグランド導体層とでパッチアンテナが構成された、
請求項1又は2に記載の多層基板。
【請求項8】
前記第1補強材部及び前記第2補強材部は、前記樹脂積層体の前記第1領域において前記複数の樹脂層の積層方向の異なる位置である2箇所に存在する、
請求項1又は2に記載の多層基板。
【請求項9】
前記第1補強材部及び前記第2補強材部は、前記樹脂積層体の前記第1領域において前記複数の樹脂層の層方向に異なる位置である2箇所に存在する、
請求項1又は2に記載の多層基板。
【請求項10】
前記第2補強材部の表面の一部及び前記第2領域の側面に接合する第3補強材部を備える、
請求項1又は2に記載の多層基板。
(【請求項11】以降は省略されています)
発明の詳細な説明
【技術分野】
【0001】
本発明は、導体パターンが形成された樹脂層を含む複数の樹脂層の積層による樹脂積層体を備える多層基板、及び当該多層基板を備える電子機器、に関する。
続きを表示(約 1,100 文字)
【背景技術】
【0002】
特許文献1には、樹脂層の積層数の相違により、積層方向の厚みが異なる第1領域と第2領域とを有する多層基板が示されている。
【0003】
このように、樹脂層の積層数が第1領域と第2領域とで相違する場合、この第1領域と第2領域との境界に段差部が形成される。
【先行技術文献】
【特許文献】
【0004】
特開2019-16743号公報
【発明の概要】
【発明が解決しようとする課題】
【0005】
導体パターンが形成された樹脂層を含む複数の樹脂層の積層による樹脂積層体を備える多層基板においては、各導体パターンの位置関係や使用形態に応じて、積層方向の厚みが異なる第1領域と第2領域とを有する多層基板が必要となる。
【0006】
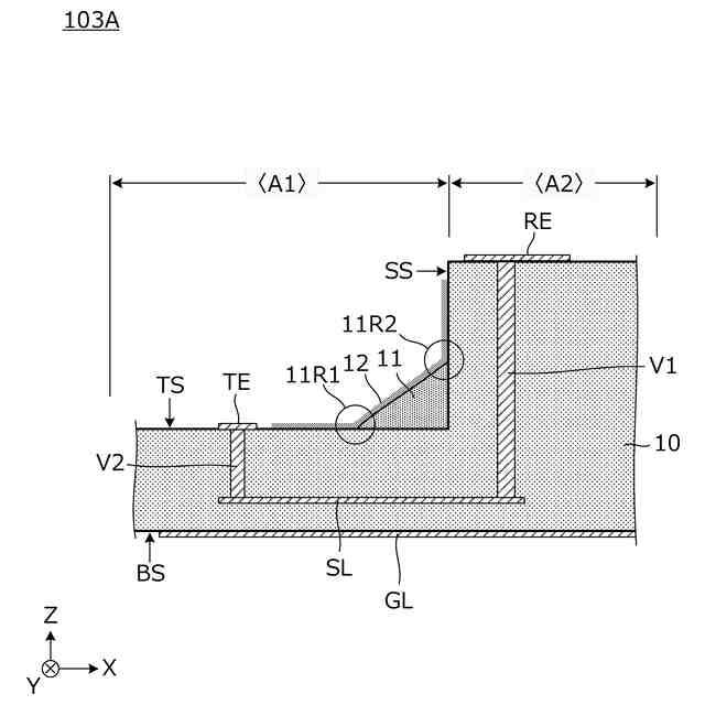
上記厚みの薄い領域を第1領域、厚みの厚い領域を第2領域、と表現すると、第1領域と第2領域との段差部が変形しやすくなる。
【0007】
上記段差部の内角部に、樹脂層に比べてヤング率の高い補強のための樹脂を付与することで、補強樹脂部を形成すると、多層基板の段差部での変形が抑えられる。
【0008】
しかし多層基板の変形によって、補強樹脂部に応力が集中するので、主に補強樹脂部と樹脂層との間にクラックが発生する虞がある。
【0009】
そこで、本発明の目的は、段差部の変形及び補強材部近傍でのクラックを抑制した多層基板、及び当該多層基板を備える電子機器、を提供することにある。
【課題を解決するための手段】
【0010】
(1)本開示の一例としての多層基板は、
導体パターンが形成された樹脂層を含む複数の樹脂層の積層による樹脂積層体を備える多層基板であり、
前記樹脂積層体は、前記樹脂積層体の層方向領域として第1領域及び当該第1領域に連続する第2領域を有し、
前記樹脂積層体の前記第1領域での厚みをT1で表し、前記樹脂積層体の前記第2領域での厚みをT2で表すとき、それら厚みはT1<T2の関係にあり、
前記樹脂積層体の前記第1領域の上面と、前記樹脂積層体の前記第2領域の側面と、に連続して接合している、第1樹脂で構成される第1補強材部と、
前記樹脂積層体の前記第1領域の表面と前記第1補強材部の表面とに連続して接合している、第2樹脂で構成される第2補強材部と、
を備えることを特徴とする。
(【0011】以降は省略されています)
この特許をJ-PlatPat(特許庁公式サイト)で参照する
関連特許
株式会社村田製作所
二次電池
21日前
株式会社村田製作所
移相回路
27日前
株式会社村田製作所
コイル部品
15日前
株式会社村田製作所
ネブライザ
27日前
株式会社村田製作所
コイル部品
27日前
株式会社村田製作所
コイル部品
27日前
株式会社村田製作所
電子聴診器
27日前
株式会社村田製作所
高周波回路
28日前
株式会社村田製作所
外観検査装置
7日前
株式会社村田製作所
フィルタ装置
1日前
株式会社村田製作所
フィルタ装置
28日前
株式会社村田製作所
電力増幅回路
7日前
株式会社村田製作所
電力システム
16日前
株式会社村田製作所
インダクタ部品
9日前
株式会社村田製作所
電池モジュール
27日前
株式会社村田製作所
積層体の切断装置
1日前
株式会社村田製作所
高周波モジュール
7日前
株式会社村田製作所
伸縮性コイル部品
14日前
株式会社村田製作所
積層体の切断装置
1日前
株式会社村田製作所
コンデンサモジュール
27日前
株式会社村田製作所
ファブリペロー干渉計
28日前
株式会社村田製作所
積層セラミック電子部品
13日前
株式会社村田製作所
濾過装置および濾過方法
28日前
株式会社村田製作所
積層セラミックコンデンサ
28日前
株式会社村田製作所
積層セラミックコンデンサ
28日前
株式会社村田製作所
プラグの端子構造及びプラグ
28日前
株式会社村田製作所
熱拡散デバイス及び電子機器
1日前
株式会社村田製作所
二次電池用負極および二次電池
14日前
株式会社村田製作所
高周波モジュール及び通信装置
7日前
株式会社村田製作所
積層セラミック電子部品の製造方法
28日前
株式会社村田製作所
聴診デバイスおよび聴診システムに関する。
27日前
株式会社村田製作所
積層セラミックコンデンサおよびその製造方法
2日前
株式会社村田製作所
筋振動検知センサ、電気刺激装置及び筋振動検知方法
2日前
株式会社村田製作所
光変調器
1日前
株式会社村田製作所
電子部品
1日前
株式会社村田製作所
二次電池
23日前
続きを見る
他の特許を見る