TOP
|
特許
|
意匠
|
商標
特許ウォッチ
Twitter
他の特許を見る
公開番号
2025150915
公報種別
公開特許公報(A)
公開日
2025-10-09
出願番号
2024052077
出願日
2024-03-27
発明の名称
プラグの端子構造及びプラグ
出願人
株式会社村田製作所
代理人
弁理士法人酒井国際特許事務所
主分類
H01R
24/60 20110101AFI20251002BHJP(基本的電気素子)
要約
【課題】信号品位の低下を抑制可能なプラグの端子構造及びプラグを実現する。
【解決手段】USB Type-C規格に準拠したレセプタクルコネクタに接続可能に構成されたプラグの端子構造であって、レセプタクルコネクタのシェル内に差し込まれることにより機器のGND電位に接続されるプラグシェル2aと、レセプタクルコネクタの複数のピンに対応して、プラグシェル2aの挿抜方向に延びて設けられる複数のピンA1,A2,・・・,A12,B1,B2,・・・,B12と、を備える。複数のピンA1,A2,・・・,A12,B1,B2,・・・,B12のうち、第1の信号が割り当てられた第1のピンと、第1のピンに割り当てられた第1の信号とは異なる種別の第2の信号が割り当てられた第2のピンとは、それぞれ、プラグシェル2aのGND面との距離が異なる。
【選択図】図4
特許請求の範囲
【請求項1】
USB Type-C規格に準拠したレセプタクルコネクタに接続可能に構成されたプラグの端子構造であって、
前記レセプタクルコネクタのシェル内に差し込まれることにより機器のGND電位に接続されるプラグシェルと、
前記レセプタクルコネクタの複数のピンに対応して、前記プラグシェルの挿抜方向に延びて設けられる複数のピンと、
を備え、
複数の前記ピンのうち、第1の信号が割り当てられた第1のピンと、前記第1のピンに割り当てられた第1の信号とは異なる種別の第2の信号が割り当てられた第2のピンとは、それぞれ、前記プラグシェルのGND面との距離が異なる、
プラグの端子構造。
続きを表示(約 590 文字)
【請求項2】
請求項1に記載のプラグの端子構造であって、
前記プラグシェルは、少なくとも前記プラグシェルの端部から一定距離離れた位置において、複数の前記ピンと前記プラグシェルの挿抜方向に沿って対向する箇所の厚みがそれぞれ異なっている、
プラグの端子構造。
【請求項3】
請求項2に記載のプラグの端子構造であって、
複数の前記ピンのうち、少なくともSuperSpeed規格に準拠した高速データ通信用のピンは、電源供給用のVbusピンよりも前記プラグシェルのGND面との間の距離が大きい、
プラグの端子構造。
【請求項4】
請求項3に記載のプラグの端子構造であって、
複数の前記ピンのうち、電源供給用のVbusピンは、当該Vbusピンを除く他のピンよりも前記プラグシェルのGND面との間の距離が小さい、
プラグの端子構造。
【請求項5】
請求項3又は4に記載のプラグの端子構造を有するプラグであって、
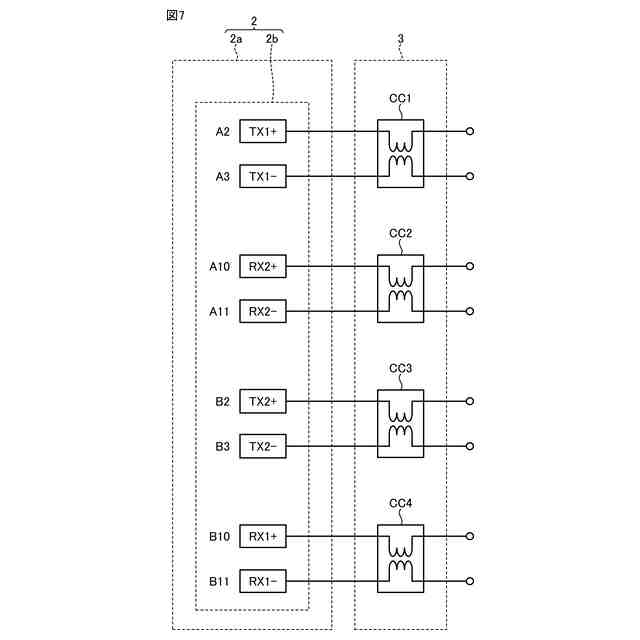
前記高速データ通信用のピンは、差動伝送のピンに対応するコモンモードチョークコイルが接続されている、
プラグ。
【請求項6】
請求項5に記載のプラグであって、
前記コモンモードチョークコイルは、プラグハウジング内に設けられている、
プラグ。
発明の詳細な説明
【技術分野】
【0001】
本発明は、プラグの端子構造及びプラグに関する。
続きを表示(約 1,200 文字)
【背景技術】
【0002】
特許文献1には、プラグの表面及び裏面が入れ替わった場合でも利用可能なリバーシブルタイプのコネクタを使用して、例えばテレビジョン放送の受信波のような高周波信号を伝送する技術が開示されている(例えば、特許文献1)。下記特許文献1では、リバーシブルタイプのコネクタとして、USB Type-C(登録商標)、Lightning(登録商標)等のコネクタが例示されている。
【先行技術文献】
【特許文献】
【0003】
国際公開第2017/170419号
【発明の概要】
【発明が解決しようとする課題】
【0004】
USB Type-C規格に準拠したコネクタにおいて、機器のGND電位に接続されるシェルと各ピンとの物理的な距離は一定となる。このため、各ピンに割り当てられる信号の種別に応じた最適な特性インピーダンスを得ることができず、信号品位が低下する可能性がある。
【0005】
本開示は、上記に鑑みてなされたものであって、信号品位の低下を抑制可能なプラグの端子構造及びプラグを実現することを目的とする。
【課題を解決するための手段】
【0006】
本開示の一側面のプラグの端子構造は、USB Type-C規格に準拠したレセプタクルコネクタに接続可能に構成されたプラグの端子構造であって、前記レセプタクルコネクタのシェル内に差し込まれることにより機器のGND電位に接続されるプラグシェルと、前記レセプタクルコネクタの複数のピンに対応して、前記プラグシェルの挿抜方向に延びて設けられる複数のピンと、を備え、複数の前記ピンのうち、第1の信号が割り当てられた第1のピンと、前記第1のピンに割り当てられた第1の信号とは異なる種別の第2の信号が割り当てられた第2のピンとは、それぞれ、前記プラグシェルのGND面との距離が異なる。
【0007】
この構成では、複数のピンに対してそれぞれ割り当てられている信号の種別に応じた最適な特性インピーダンスとすることができる。これにより、インピーダンス不整合による信号品位の低下を抑制可能なプラグの端子構造及びプラグを実現することができる。
【0008】
本開示の一側面のプラグは、上記プラグの端子構造を有するプラグであって、前記高速データ通信用のピンは、差動伝送のピンに対応するコモンモードチョークコイルが接続されている。
【0009】
この構成では、高速データ通信による電源供給ラインや低速信号線への高周波電磁ノイズの漏洩を効果的に抑制することができる。
【発明の効果】
【0010】
本開示によれば、信号品位の低下を抑制可能なプラグの端子構造及びプラグを実現することができる。
【図面の簡単な説明】
(【0011】以降は省略されています)
この特許をJ-PlatPat(特許庁公式サイト)で参照する
関連特許
東ソー株式会社
絶縁電線
12日前
APB株式会社
蓄電セル
10日前
株式会社東芝
端子台
4日前
マクセル株式会社
電源装置
4日前
ローム株式会社
半導体装置
11日前
株式会社GSユアサ
蓄電装置
5日前
株式会社GSユアサ
蓄電装置
5日前
日本特殊陶業株式会社
保持装置
13日前
日新イオン機器株式会社
基板処理装置
7日前
トヨタ自動車株式会社
冷却構造
12日前
トヨタ自動車株式会社
バッテリ
10日前
北道電設株式会社
配電具カバー
10日前
トヨタ自動車株式会社
蓄電装置
5日前
株式会社デンソー
電子装置
7日前
日亜化学工業株式会社
半導体レーザ素子
7日前
住友電装株式会社
コネクタ
12日前
トヨタ自動車株式会社
密閉型電池
6日前
ローム株式会社
半導体装置
12日前
株式会社東芝
高周波回路
13日前
マクセル株式会社
扁平形電池
11日前
三協立山株式会社
バッテリーケース
11日前
トヨタ自動車株式会社
蓄電モジュール
5日前
シャープ株式会社
アンテナ装置
11日前
トヨタ自動車株式会社
電池モジュール
12日前
株式会社村田製作所
コイル部品
12日前
ローム株式会社
半導体パッケージ
11日前
日産自動車株式会社
電池モジュール
4日前
トヨタ自動車株式会社
正極層
10日前
TDK株式会社
アンテナモジュール
4日前
アイリスオーヤマ株式会社
電動工具
10日前
新光電気工業株式会社
基板固定装置
10日前
大阪瓦斯株式会社
平板型燃料電池スタック
11日前
日本航空電子工業株式会社
コネクタ組立体
11日前
ヒロセ電機株式会社
平型導体用電気コネクタ
6日前
古河電池株式会社
双極型蓄電池
4日前
トヨタ自動車株式会社
電池容量検知システム
12日前
続きを見る
他の特許を見る