TOP
|
特許
|
意匠
|
商標
特許ウォッチ
Twitter
他の特許を見る
10個以上の画像は省略されています。
公開番号
2025161578
公報種別
公開特許公報(A)
公開日
2025-10-24
出願番号
2024064885
出願日
2024-04-12
発明の名称
基板固定装置
出願人
新光電気工業株式会社
代理人
個人
,
個人
主分類
H01L
21/683 20060101AFI20251017BHJP(基本的電気素子)
要約
【課題】放電の発生を抑制できる基板固定装置を提供する。
【解決手段】基板固定装置10は、ベースプレート20と、ベースプレート20上に固定された静電チャック40と、ベースプレート20を厚さ方向に貫通する貫通孔50と、静電チャック40の下面に設けられるとともに貫通孔50と連通する凹部43とを有する。基板固定装置10は、静電チャック40に内蔵される電極42と、貫通孔50の内部に挿入されるとともに、凹部43から露出する電極42に電気的に接続される給電端子60と、貫通孔50の内部に挿入されるとともに、給電端子60の外周を包囲する筒状絶縁部材70とを有する。筒状絶縁部材70は、給電端子60のうち貫通孔50の内部に配置された部分の外周面全面を包囲するように形成されている。筒状絶縁部材70は、貫通孔50の軸方向の全長にわたって延びるように形成されている。筒状絶縁部材70は、単一部材である。
【選択図】図2
特許請求の範囲
【請求項1】
ベースプレートと、
前記ベースプレート上に固定された静電チャックと、
前記ベースプレートを厚さ方向に貫通する第1貫通孔と、
前記静電チャックの下面に設けられるとともに前記第1貫通孔と連通する凹部と、
前記静電チャックに内蔵される電極と、
前記第1貫通孔の内部に挿入されるとともに、前記凹部から露出する前記電極に電気的に接続される給電端子と、
前記第1貫通孔の内部に挿入されるとともに、前記給電端子の外周を包囲する筒状絶縁部材と、を有し、
前記筒状絶縁部材は、前記給電端子のうち前記第1貫通孔の内部に配置された部分の外周面全面を包囲するように形成されており、
前記筒状絶縁部材は、前記第1貫通孔の軸方向の全長にわたって延びるように形成されており、
前記筒状絶縁部材は、単一部材である、基板固定装置。
続きを表示(約 1,300 文字)
【請求項2】
前記筒状絶縁部材は、前記給電端子の外周面と前記第1貫通孔の内周面との間の隙間を埋めるように形成されている、請求項1に記載の基板固定装置。
【請求項3】
前記給電端子の下面は、前記ベースプレートの下面よりも上方に設けられており、
前記筒状絶縁部材は、前記給電端子の下面よりも下方に突出する突出部を有する、請求項1に記載の基板固定装置。
【請求項4】
前記第1貫通孔の内面全面を被覆する絶縁膜を有する、請求項1に記載の基板固定装置。
【請求項5】
前記ベースプレートと前記筒状絶縁部材とを接着する接着剤を更に有し、
前記接着剤は、前記絶縁膜と前記筒状絶縁部材との間の隙間を充填するとともに、前記給電端子と前記筒状絶縁部材との間の隙間を充填するように形成されている、請求項4に記載の基板固定装置。
【請求項6】
前記ベースプレートと前記静電チャックとを接合する接着層と、
前記接着層を厚さ方向に貫通する第2貫通孔と、を更に有し、
前記第2貫通孔は、前記第1貫通孔に連通するとともに、前記凹部に連通するように形成されており、
前記給電端子は、前記第2貫通孔の内部に挿入されており、
前記筒状絶縁部材は、前記第2貫通孔の内部に挿入されるとともに、前記給電端子のうち前記第2貫通孔の内部に配置された部分の外周面全面を包囲するように形成されており、
前記筒状絶縁部材は、前記第2貫通孔の軸方向の全長にわたって延びるように形成されている、請求項1に記載の基板固定装置。
【請求項7】
前記給電端子の外周面に設けられた凹み部を有し、
前記筒状絶縁部材は、前記凹み部を充填するように形成された充填部を有する、請求項1に記載の基板固定装置。
【請求項8】
前記給電端子の外周面に設けられた凹み部を有し、
前記凹み部を充填するように形成された絶縁層を更に有し、
前記絶縁層は、前記筒状絶縁部材と別部材である、請求項1に記載の基板固定装置。
【請求項9】
前記給電端子は、
前記電極に接合される電極端子と、
前記電極端子と平面視において重ならない位置に設けられた筒状導電部材と、
前記電極端子と前記筒状導電部材とを連結する連結部材と、を有し、
前記連結部材は、前記第1貫通孔の軸方向に対して傾斜して延びている、請求項1に記載の基板固定装置。
【請求項10】
前記筒状絶縁部材は、
前記電極端子が挿入される第1孔部と、
前記連結部材が挿入されるとともに、前記第1孔部に連通する第2孔部と、
前記筒状導電部材が挿入されるとともに、前記第2孔部に連通する第3孔部と、を有し、
前記第2孔部は、前記第1貫通孔の軸方向に対して傾斜して延びており、
前記連結部材は、前記電極端子に対して回転可能に前記電極端子の下端部に連結されている、請求項9に記載の基板固定装置。
発明の詳細な説明
【技術分野】
【0001】
本発明は、基板固定装置に関するものである。
続きを表示(約 2,200 文字)
【背景技術】
【0002】
従来、ICやLSI等の半導体素子を製造する際に使用される成膜装置(例えば、CVD装置やPVD装置)やプラズマエッチング装置は、シリコンウェハ等の基板を真空の処理室内に精度良く保持するための基板固定装置を有している。
【0003】
基板固定装置は、金属製のベースプレートと、ベースプレート上に接着された静電チャックと、静電チャックに内蔵された電極と、電極と電気的に接続された給電端子と、筒状絶縁部材とを有する(例えば、特許文献1参照)。基板固定装置は、ベースプレートを厚さ方向に貫通する貫通孔と、静電チャックの下面に設けられるとともに電極を露出する凹部とを有する。給電端子は、貫通孔の内部に挿入されるとともに、凹部から露出する電極に接合されている。電極は、給電端子を通じて外部電源から電圧が印加されると、静電チャックの搭載面に載置された基板との間に静電気による吸着力を発生させる。これにより、静電チャックの搭載面上に基板を吸着保持することができる。筒状絶縁部材は、貫通孔の内部に挿入されるとともに、給電端子の外周を包囲している。筒状絶縁部材は、ベースプレートと給電端子との間における電気的絶縁性を高めることで、ベースプレートと給電端子との間で放電が発生することを抑制している。
【先行技術文献】
【特許文献】
【0004】
特開2023-31603号公報
【発明の概要】
【発明が解決しようとする課題】
【0005】
ところで、上記基板固定装置においては、放電の発生を更に抑制することが望まれている。
【課題を解決するための手段】
【0006】
本発明の一観点によれば、ベースプレートと、前記ベースプレート上に固定された静電チャックと、前記ベースプレートを厚さ方向に貫通する第1貫通孔と、前記静電チャックの下面に設けられるとともに前記第1貫通孔と連通する凹部と、前記静電チャックに内蔵される電極と、前記第1貫通孔の内部に挿入されるとともに、前記凹部から露出する前記電極に電気的に接続される給電端子と、前記第1貫通孔の内部に挿入されるとともに、前記給電端子の外周を包囲する筒状絶縁部材と、を有し、前記筒状絶縁部材は、前記給電端子のうち前記第1貫通孔の内部に配置された部分の外周面全面を包囲するように形成されており、前記筒状絶縁部材は、前記第1貫通孔の軸方向の全長にわたって延びるように形成されており、前記筒状絶縁部材は、単一部材である。
【発明の効果】
【0007】
本発明の一観点によれば、放電の発生を抑制できるという効果を奏する。
【図面の簡単な説明】
【0008】
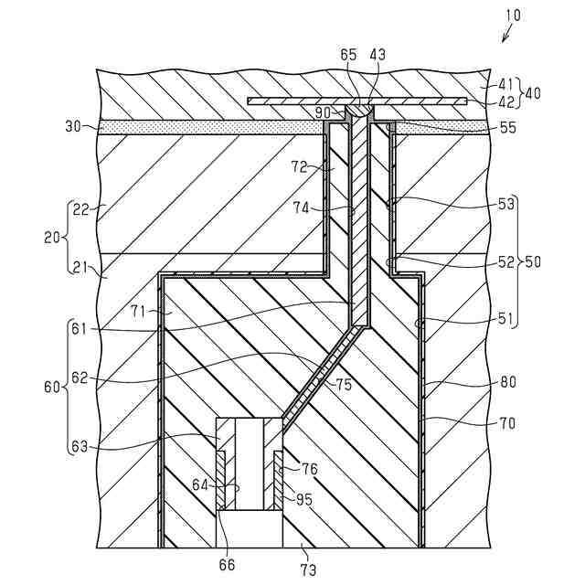
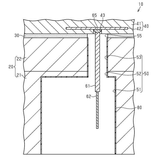
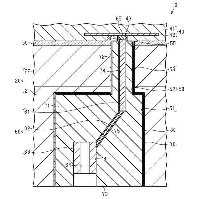
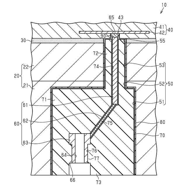
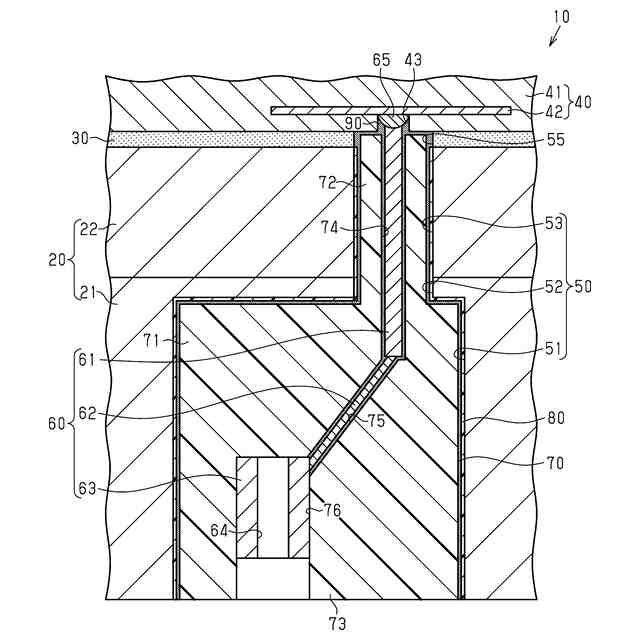
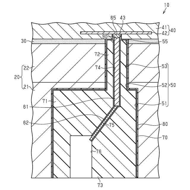
図1は、一実施形態の基板固定装置を示す概略断面図である。
図2は、一実施形態の基板固定装置の一部を拡大して示す概略断面図である。
図3は、一実施形態の基板固定装置の製造方法を示す概略断面図である。
図4は、一実施形態の基板固定装置の製造方法を示す概略断面図である。
図5は、一実施形態の基板固定装置の製造方法を示す概略断面図である。
図6は、一実施形態の基板固定装置の製造方法を示す概略断面図である。
図7は、一実施形態の基板固定装置の製造方法を示す概略断面図である。
図8は、変更例の基板固定装置の一部を拡大して示す概略断面図である。
図9は、変更例の基板固定装置の一部を拡大して示す概略断面図である。
【発明を実施するための形態】
【0009】
以下、一実施形態について添付図面を参照して説明する。
なお、添付図面は、便宜上、特徴を分かりやすくするために特徴となる部分を拡大して示している場合があり、各構成要素の寸法比率については各図面で異なる場合がある。また、断面図では、各部材の断面構造を分かりやすくするために、一部の部材のハッチングを梨地模様に代えて示し、一部の部材のハッチングを省略している。本明細書において、「平面視」とは、特に記載がない限り、対象物を図1の鉛直方向(図中上下方向)から見ることを言う。本明細書において、「平面形状」とは、特に記載がない限り、対象物を図1の鉛直方向から見た形状のことを言う。なお、本明細書における「上下方向」及び「左右方向」は、各図面において各部材を示す符号が正しく読める向きを正位置とした場合の方向である。
【0010】
(基板固定装置10の全体構成)
図1に示すように、基板固定装置10は、ベースプレート20と、接着層30と、静電チャック40と、貫通孔50,55と、給電端子60と、筒状絶縁部材70と、絶縁膜80とを有している。静電チャック40は、接着層30によりベースプレート20の上面に固定されている。基板固定装置10は、ベースプレート20の上面に固定された静電チャック40により吸着対象物である基板(図示略)を吸着保持する装置である。基板としては、例えば、シリコンウェハなどを挙げることができる。なお、基板の直径は、例えば、8インチ、12インチ又は18インチ程度とすることができる。
(【0011】以降は省略されています)
この特許をJ-PlatPat(特許庁公式サイト)で参照する
関連特許
新光電気工業株式会社
光導波路部品
1か月前
新光電気工業株式会社
基板固定装置
24日前
新光電気工業株式会社
光導波路部品
1か月前
新光電気工業株式会社
配線基板の製造方法
1か月前
新光電気工業株式会社
静電チャック及びその製造方法、基板固定装置
10日前
東ソー株式会社
絶縁電線
26日前
APB株式会社
蓄電セル
24日前
個人
フレキシブル電気化学素子
1か月前
日新イオン機器株式会社
イオン源
1か月前
ローム株式会社
半導体装置
1か月前
株式会社東芝
端子台
18日前
ローム株式会社
半導体装置
1か月前
株式会社ユーシン
操作装置
1か月前
マクセル株式会社
電源装置
18日前
ローム株式会社
半導体装置
25日前
三菱電機株式会社
回路遮断器
5日前
株式会社GSユアサ
蓄電装置
19日前
太陽誘電株式会社
コイル部品
1か月前
株式会社GSユアサ
蓄電設備
1か月前
株式会社GSユアサ
蓄電設備
1か月前
オムロン株式会社
電磁継電器
1か月前
株式会社GSユアサ
蓄電装置
11日前
株式会社ホロン
冷陰極電子源
1か月前
株式会社GSユアサ
蓄電装置
19日前
日本特殊陶業株式会社
保持装置
27日前
ノリタケ株式会社
熱伝導シート
1か月前
トヨタ自動車株式会社
バッテリ
24日前
日新イオン機器株式会社
基板処理装置
21日前
日東電工株式会社
積層体
1か月前
トヨタ自動車株式会社
蓄電装置
1か月前
日本特殊陶業株式会社
保持装置
10日前
トヨタ自動車株式会社
冷却構造
26日前
トヨタ自動車株式会社
蓄電装置
19日前
サクサ株式会社
電池の固定構造
1か月前
北道電設株式会社
配電具カバー
24日前
TDK株式会社
電子部品
1か月前
続きを見る
他の特許を見る