TOP
|
特許
|
意匠
|
商標
特許ウォッチ
Twitter
他の特許を見る
公開番号
2025159946
公報種別
公開特許公報(A)
公開日
2025-10-22
出願番号
2024062835
出願日
2024-04-09
発明の名称
電池容量検知システム
出願人
トヨタ自動車株式会社
代理人
個人
主分類
H01M
10/48 20060101AFI20251015BHJP(基本的電気素子)
要約
【課題】電源からの電流供給を行うことなく、電気自動車用二次電池の容量を検知することが可能な電池容量検知システムを提供すること。
【解決手段】本開示にかかる電池容量検知システム1は、電気自動車用二次電池に外部二次電池の電流を供給し、満充電状態まで充電する充電ステップと、満充電状態の電気自動車用二次電池から電欠状態まで外部二次電池に放電する放電ステップと、放電ステップにおいて、満充電状態から電欠状態に至るまでに放電された放電容量から電気自動車用二次電池の容量を算出する算出ステップと、を実行する。電池容量検知システム1は、電気自動車用二次電池を満充電状態まで充電可能であり、かつ満充電状態の電気自動車用二次電池を電欠状態まで放電した際に蓄電可能であるという条件を満たす外部二次電池の位置情報をユーザに通知する。
【選択図】図1
特許請求の範囲
【請求項1】
電気自動車用二次電池に外部二次電池の電流を供給し、満充電状態まで充電する充電ステップと、
満充電状態の前記電気自動車用二次電池から電欠状態まで前記外部二次電池に放電する放電ステップと、
前記放電ステップにおいて、満充電状態から電欠状態に至るまでに放電された放電容量から前記電気自動車用二次電池の容量を算出する算出ステップと、を実行する電池容量検知システムであって、
前記電気自動車用二次電池を満充電状態まで充電可能であり、かつ満充電状態の前記電気自動車用二次電池を電欠状態まで放電した際に蓄電可能であるという条件を満たす外部二次電池の位置情報をユーザに通知する
電池容量検知システム。
発明の詳細な説明
【技術分野】
【0001】
本開示は、電池容量検知システムに関する。
続きを表示(約 1,300 文字)
【背景技術】
【0002】
電気自動車に搭載された二次電池の寿命予測を行い、予測結果に基づいて二次電池の容量を推定して表示する技術が知られている。寿命予測は電池性能や走行パターンなどに基づいて行われるため、車両の使用年数が長期になり電池が劣化すると、推定精度が低下する傾向にある。
【0003】
関連する技術として、特許文献1は、電気自動車に搭載されるバッテリの実際の充電容量(実容量)を検知するバッテリ容量検知装置を開示する。当該装置は、電気自動車用バッテリを充電率0パーセントから充電率100パーセントまで充電する際、バッテリに流入する電流量から実際の充電容量を算出する。
【先行技術文献】
【特許文献】
【0004】
特開2008-278624号公報
【発明の概要】
【発明が解決しようとする課題】
【0005】
特許文献1が開示する技術では、バッテリを満充電状態にする際、電源からの電流供給を必要とする。本開示は、電源からの電流供給を行うことなく、電気自動車用二次電池の容量を検知することが可能な電池容量検知システムを提供するものである。
【課題を解決するための手段】
【0006】
本開示にかかる電池容量検知システムは、電気自動車用二次電池に外部二次電池の電流を供給し、満充電状態まで充電する充電ステップと、満充電状態の前記電気自動車用二次電池から電欠状態まで前記外部二次電池に放電する放電ステップと、前記放電ステップにおいて、満充電状態から電欠状態に至るまでに放電された放電容量から前記電気自動車用二次電池の容量を算出する算出ステップと、を実行する電池容量検知システムであって、前記電気自動車用二次電池を満充電状態まで充電可能であり、かつ満充電状態の前記電気自動車用二次電池を電欠状態まで放電した際に蓄電可能であるという条件を満たす外部二次電池の位置情報をユーザに通知するものである。
【発明の効果】
【0007】
本開示にかかる電池容量検知システムは、電源からの電流供給を行うことなく、電気自動車用二次電池の容量を検知することができる。
【図面の簡単な説明】
【0008】
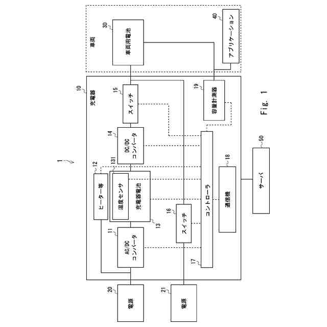
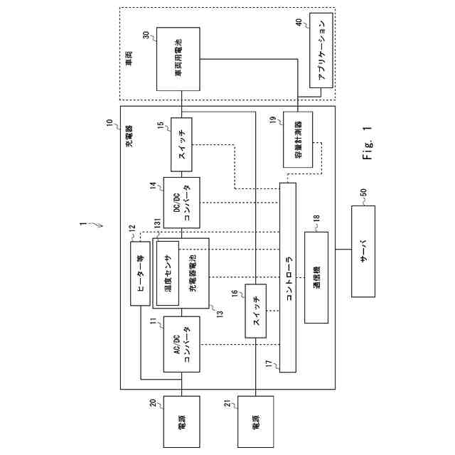
図1は、電池容量検知システムの構成を示すブロック図である。
図2は、劣化診断希望取得処理の流れを示すフローチャートである。
図3は、劣化診断処理の流れを示すフローチャートである。
【発明を実施するための形態】
【0009】
以下では、本開示の実施形態について、図面を参照しながら詳細に説明する。各図面において、同一又は対応する要素には同一の符号が付されている。説明の明確化のため、必要に応じて重複説明は省略される。
【0010】
図1を参照して、本開示にかかる電池容量検知システム1について説明する。図1は、電池容量検知システム1の構成を示すブロック図である。電池容量検知システム1は、電源からの電流供給を行うことなく、電気自動車用二次電池の容量を検知することが可能なシステムである。
(【0011】以降は省略されています)
この特許をJ-PlatPat(特許庁公式サイト)で参照する
関連特許
トヨタ自動車株式会社
方法
2日前
トヨタ自動車株式会社
車両
3日前
トヨタ自動車株式会社
方法
11日前
トヨタ自動車株式会社
車両
1日前
トヨタ自動車株式会社
方法
11日前
トヨタ自動車株式会社
車両
15日前
トヨタ自動車株式会社
車両
10日前
トヨタ自動車株式会社
車体
4日前
トヨタ自動車株式会社
方法
3日前
トヨタ自動車株式会社
方法
2日前
トヨタ自動車株式会社
電池
1日前
トヨタ自動車株式会社
電池
8日前
トヨタ自動車株式会社
車両
2日前
トヨタ自動車株式会社
車両
8日前
トヨタ自動車株式会社
方法
1日前
トヨタ自動車株式会社
椅子
11日前
トヨタ自動車株式会社
飛行体
8日前
トヨタ自動車株式会社
モータ
9日前
トヨタ自動車株式会社
正極層
1日前
トヨタ自動車株式会社
モータ
3日前
トヨタ自動車株式会社
電磁弁
11日前
トヨタ自動車株式会社
電動車
11日前
トヨタ自動車株式会社
電動機
1日前
トヨタ自動車株式会社
自動車
2日前
トヨタ自動車株式会社
加熱器
15日前
トヨタ自動車株式会社
通知装置
1日前
トヨタ自動車株式会社
制御装置
15日前
トヨタ自動車株式会社
燃料電池
3日前
トヨタ自動車株式会社
製造方法
8日前
トヨタ自動車株式会社
端末装置
8日前
トヨタ自動車株式会社
蓄電セル
1日前
トヨタ自動車株式会社
報知装置
3日前
トヨタ自動車株式会社
車載装置
15日前
トヨタ自動車株式会社
蓄電装置
1日前
トヨタ自動車株式会社
電源装置
8日前
トヨタ自動車株式会社
充電装置
3日前
続きを見る
他の特許を見る