TOP
|
特許
|
意匠
|
商標
特許ウォッチ
Twitter
他の特許を見る
10個以上の画像は省略されています。
公開番号
2025160722
公報種別
公開特許公報(A)
公開日
2025-10-23
出願番号
2024063478
出願日
2024-04-10
発明の名称
コネクタ組立体
出願人
日本航空電子工業株式会社
代理人
個人
主分類
H01R
13/621 20060101AFI20251016BHJP(基本的電気素子)
要約
【課題】第1コネクタと第2コネクタを容易に嵌合しながらも、第1コンタクトと第2コンタクトの接触信頼性を向上させることができるコネクタ組立体を提供する。
【解決手段】第2インシュレータ22が第1インシュレータ12の嵌合方向に接触する接触位置に位置すると、第2コンタクト23は、第1コンタクト13に対して所定の間隔を隔てた状態で第1コンタクト13に対して直交方向に対向し、ネジ部材31を回転すると、雄ネジ部31Cが雌ネジ部16Eにねじ込まれてスライダ16が嵌合方向にスライドし、スライダ本体部16Aにより第1インシュレータ12が第2インシュレータ22に押し付けられて第1コネクタ11および第2コネクタ21が互いに嵌合し、且つ、押し込み部16Bにより第1コンタクト13および第2コンタクト23が互いに直交方向に押し付けられて電気的に接続される。
【選択図】図19
特許請求の範囲
【請求項1】
嵌合方向に沿って第1コネクタに第2コネクタが嵌合するコネクタ組立体であって、
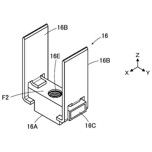
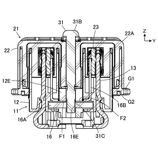
前記第1コネクタは、第1インシュレータと、前記第1インシュレータに保持された第1コンタクトと、前記嵌合方向に沿ってスライド可能に前記第1インシュレータに保持され且つ雌ネジ部を有するスライダを含み、
前記第2コネクタは、第2インシュレータと、前記第2インシュレータに保持された第2コンタクトと、前記第2インシュレータを前記嵌合方向に貫通した状態で回転可能に前記第2インシュレータに保持され且つ前記雌ネジ部にねじ込み可能な雄ネジ部を有するネジ部材を含み、
前記スライダは、前記嵌合方向に対して直交する直交方向に延び且つ前記雌ネジ部が形成されたスライダ本体部と、前記スライダ本体部から前記嵌合方向に沿って延びる押し込み部を有し、
前記第2インシュレータが前記第1インシュレータの前記嵌合方向に接触する接触位置に位置すると、前記第2コンタクトは、前記第1コンタクトに対して所定の間隔を隔てた状態で前記第1コンタクトに対して前記直交方向に対向し、
前記第1インシュレータに対して前記第2インシュレータを前記接触位置に位置させた状態で前記ネジ部材を回転すると、前記雄ネジ部が前記雌ネジ部にねじ込まれて前記スライダが前記嵌合方向にスライドし、前記スライダ本体部により前記第1インシュレータが前記第2インシュレータに押し付けられて前記第1コネクタおよび前記第2コネクタが互いに嵌合し、且つ、前記押し込み部により前記第1コンタクトおよび前記第2コンタクトが互いに前記直交方向に押し付けられて電気的に接続されるコネクタ組立体。
続きを表示(約 2,200 文字)
【請求項2】
前記第1インシュレータは、前記直交方向に沿って延び且つ前記第2インシュレータの方向を向いた第1対向面を有し、
前記第2インシュレータは、前記直交方向に沿って延び且つ前記第1対向面に対向する第2対向面を有し、
前記接触位置において、前記第1対向面と前記第2対向面は互いに接触する請求項1に記載のコネクタ組立体。
【請求項3】
前記第1インシュレータは、前記嵌合方向に沿ってスライド可能に前記スライダ本体部を収容する凹状のスライダ収容部と、前記直交方向に沿って延び且つ前記スライダ収容部に面して前記スライダ本体部に対向する締結力受け面を有し、
前記スライダ本体部は、前記直交方向に沿って延び且つ前記締結力受け面に対向する締結力付与面を有し、
前記ネジ部材の回転に伴って前記嵌合方向にスライドする前記スライダ本体部の前記締結力付与面が前記第1インシュレータの前記締結力受け面に接触して前記締結力受け面を前記嵌合方向に押し付けることにより、前記第1対向面が前記第2対向面に対して押し付けられ、前記第1インシュレータが前記嵌合方向に沿って前記第2インシュレータに締結される請求項2に記載のコネクタ組立体。
【請求項4】
前記第2インシュレータは、前記嵌合方向に沿って前記第2インシュレータを貫通するネジ部材貫通孔を有し、
前記第1インシュレータは、前記嵌合方向に沿って前記第1インシュレータを貫通し且つ前記スライダ収容部内に連通する連絡孔を有し、
前記ネジ部材は、前記ネジ部材貫通孔および前記連絡孔に通された状態で、前記雄ネジ部が前記スライダの前記雌ネジ部にねじ込まれる請求項3に記載のコネクタ組立体。
【請求項5】
前記ネジ部材は、前記嵌合方向に沿って延び且つ少なくとも先端に前記雄ネジ部が形成されているネジ本体部と、前記ネジ本体部の基端に連結され且つ前記ネジ本体部の径よりも大きい径を有するネジ頭部を含み、
前記ネジ頭部が前記第2インシュレータから前記第1インシュレータとは反対方向に露出し且つ前記ネジ本体部が前記ネジ部材貫通孔および前記連絡孔に通される請求項4に記載のコネクタ組立体。
【請求項6】
前記第2コネクタは、前記第2インシュレータにより保持されるフレーム部材を有し、
前記フレーム部材は、それぞれ前記嵌合方向に延び且つ互いに前記直交方向に対向する一対の内壁面と、前記一対の内壁面のうち一方の内壁面上に配置され且つ前記直交方向に弾性変形可能なバネ部と、前記一対の内壁面のうち他方の内壁面上に配置され且つ前記直交方向に突出する突起を有し、
前記第2コンタクトは、前記バネ部と前記突起との間に配置される第2接触部を有し、
前記第1コンタクトは、前記第1インシュレータに対して前記第2インシュレータを前記接触位置に位置させた場合に前記バネ部と前記突起との間に位置し且つ前記第2接触部に対して前記直交方向に対向する第1接触部を有し、
前記ネジ部材の回転に伴って前記嵌合方向にスライドする前記スライダの前記押し込み部が前記バネ部と前記突起との間に位置すると、前記バネ部は弾性的に圧縮され、前記バネ部の弾性力により前記第1接触部および前記第2接触部が互いに前記直交方向に押し付けられて接触する請求項1~5のいずれか一項に記載のコネクタ組立体。
【請求項7】
前記第1コンタクトは、前記第1インシュレータに対して前記第2インシュレータを前記接触位置に位置させた場合に前記バネ部と前記第2コンタクトの間に位置し、
前記ネジ部材の回転に伴って前記押し込み部は前記第2コンタクトと前記突起の間に挿入される請求項6に記載のコネクタ組立体。
【請求項8】
前記バネ部に前記直交方向の力が作用しない状態において、前記直交方向における前記第2接触部と前記バネ部の間の間隔S1および前記第2コンタクトと前記突起の間の間隔S2の和は、前記直交方向における前記第1コンタクトの厚さD1および前記押し込み部の厚さD2の和よりも小さい請求項7に記載のコネクタ組立体。
【請求項9】
前記第2インシュレータは、凹状のフレーム部材収容部を有し、
前記フレーム部材は、前記直交方向に移動可能に前記フレーム部材収容部内に収容され、
前記ネジ部材の回転に伴って前記嵌合方向にスライドする前記スライダの前記押し込み部が前記バネ部と前記突起との間に位置すると、前記押し込み部により前記フレーム部材は、前記バネ部を弾性的に圧縮しながら前記フレーム部材収容部内を前記直交方向に移動する請求項6に記載のコネクタ組立体。
【請求項10】
前記第2コネクタは、前記ネジ部材を挟んで前記直交方向における前記ネジ部材の両側に配置された一対の前記第2コンタクトを有し、
前記第1コネクタは、前記一対の前記第2コンタクトに対応する一対の前記第1コンタクトを有し、
前記スライダは、前記一対の前記第1コンタクトおよび前記一対の前記第2コンタクトに対応する一対の前記押し込み部を有する請求項1~5のいずれか一項に記載のコネクタ組立体。
発明の詳細な説明
【技術分野】
【0001】
この発明は、コネクタ組立体に係り、特に、第1コネクタと第2コネクタが嵌合方向に沿って互いに嵌合するコネクタ組立体に関する。
続きを表示(約 2,100 文字)
【背景技術】
【0002】
従来から、第1コネクタを第2コネクタに対してボルト締めすることにより、ボルトの締結力を利用して第1コネクタおよび第2コネクタを互いに嵌合させる、いわゆる、ボルトアシストタイプのコネクタ組立体が知られている。
【0003】
例えば、特許文献1には、図21に示されるように、第1コネクタ1と、電線Lの端部に接続され且つ嵌合方向Dに沿って第1コネクタ1に嵌合される第2コネクタ2を備えたコネクタ組立体が開示されている。第1コネクタ1は、第1ハウジング3と、第1ハウジング3に保持された第1コンタクト4を有し、第2コネクタ2は、第2ハウジング5と、第2ハウジング5内に保持された図示しない第2コンタクトと、第2ハウジング5を嵌合方向Dに貫通する締結ボルト6を有している。
【0004】
第1コネクタ1に対して第2コネクタ2を嵌合方向Dに押し付け、第2コネクタ2の締結ボルト6を回転すると、締結ボルト6が第1コネクタ1の第1ハウジング3内に埋め込まれている図示しないナットにねじ込まれ、図22に示されるように、第2ハウジング5が第1ハウジング3に締結されて、第1コネクタ1および第2コネクタ2は嵌合状態となる。これにより、第1コネクタ1の柱状の第1コンタクト4と第2コネクタ2の筒状の第2コンタクト7が互いに接触し、電気的に接続される。
【先行技術文献】
【特許文献】
【0005】
特開2024-8643号公報
【発明の概要】
【発明が解決しようとする課題】
【0006】
しかしながら、第2コネクタ2の締結ボルト6を回転して第1コネクタ1のナットにねじ込むことにより第2コネクタ2を第1コネクタ1に嵌合させる際に、柱状の第1コンタクト4が嵌合方向Dに沿って筒状の第2コンタクト7内に圧入されることとなる。このため、第1コネクタ1と第2コネクタ2の嵌合動作に伴って第1コンタクト4および第2コンタクト7が摩耗するおそれがある。第1コンタクト4および第2コンタクト7の摩耗が進行すると、第1コンタクト4および第2コンタクト7の表面に施されているメッキが削れ、電気的接続の信頼性が低下してしまう。
【0007】
特に、電線Lを通して大電流が流されるコネクタ組立体においては、第1コンタクト4および第2コンタクト7の大型化、電線Lの大径化に伴って、第1コンタクト4および第2コンタクト7の相互間の接触力も増大するため、これらのコンタクトの摩耗を無視することができなくなる。
【0008】
この発明は、このような従来の問題点を解消するためになされたもので、第1コネクタと第2コネクタを容易に嵌合しながらも、第1コンタクトと第2コンタクトの電気的接続の信頼性を向上させることができるコネクタ組立体を提供することを目的とする。
【課題を解決するための手段】
【0009】
この発明に係るコネクタ組立体は、
嵌合方向に沿って第1コネクタに第2コネクタが嵌合するコネクタ組立体であって、
第1コネクタは、第1インシュレータと、第1インシュレータに保持された第1コンタクトと、嵌合方向に沿ってスライド可能に第1インシュレータに保持され且つ雌ネジ部を有するスライダを含み、
第2コネクタは、第2インシュレータと、第2インシュレータに保持された第2コンタクトと、第2インシュレータを嵌合方向に貫通した状態で回転可能に第2インシュレータに保持され且つ雌ネジ部にねじ込み可能な雄ネジ部を有するネジ部材を含み、
スライダは、嵌合方向に対して直交する直交方向に延び且つ雌ネジ部が形成されたスライダ本体部と、スライダ本体部から嵌合方向に沿って延びる押し込み部を有し、
第2インシュレータが第1インシュレータの嵌合方向に接触する接触位置に位置すると、第2コンタクトは、第1コンタクトに対して所定の間隔を隔てた状態で第1コンタクトに対して直交方向に対向し、
第1インシュレータに対して第2インシュレータを接触位置に位置させた状態でネジ部材を回転すると、雄ネジ部が雌ネジ部にねじ込まれてスライダが嵌合方向にスライドし、スライダ本体部により第1インシュレータが第2インシュレータに押し付けられて第1コネクタおよび第2コネクタが互いに嵌合し、且つ、押し込み部により第1コンタクトおよび第2コンタクトが互いに直交方向に押し付けられて電気的に接続されるものである。
【0010】
第1インシュレータは、直交方向に沿って延び且つ第2インシュレータの方向を向いた第1対向面を有し、
第2インシュレータは、直交方向に沿って延び且つ第1対向面に対向する第2対向面を有し、
接触位置において、第1対向面と第2対向面は互いに接触することが好ましい。
(【0011】以降は省略されています)
この特許をJ-PlatPat(特許庁公式サイト)で参照する
関連特許
東ソー株式会社
絶縁電線
3日前
APB株式会社
蓄電セル
1日前
日本発條株式会社
積層体
26日前
個人
フレキシブル電気化学素子
15日前
ローム株式会社
半導体装置
24日前
ローム株式会社
半導体装置
24日前
ローム株式会社
半導体装置
24日前
個人
防雪防塵カバー
26日前
ローム株式会社
半導体装置
22日前
日新イオン機器株式会社
イオン源
11日前
ローム株式会社
半導体装置
17日前
ローム株式会社
半導体装置
2日前
株式会社ユーシン
操作装置
15日前
株式会社GSユアサ
蓄電設備
15日前
株式会社GSユアサ
蓄電設備
15日前
太陽誘電株式会社
コイル部品
15日前
株式会社GSユアサ
蓄電装置
26日前
太陽誘電株式会社
全固体電池
22日前
株式会社ホロン
冷陰極電子源
9日前
株式会社GSユアサ
蓄電装置
22日前
株式会社ホロン
冷陰極電子源
22日前
個人
半導体パッケージ用ガラス基板
25日前
オムロン株式会社
電磁継電器
16日前
ローム株式会社
電子装置
26日前
日本特殊陶業株式会社
保持装置
26日前
北道電設株式会社
配電具カバー
1日前
日本特殊陶業株式会社
保持装置
22日前
日本特殊陶業株式会社
保持装置
22日前
トヨタ自動車株式会社
冷却構造
3日前
日本特殊陶業株式会社
保持装置
4日前
日本特殊陶業株式会社
保持装置
24日前
サクサ株式会社
電池の固定構造
15日前
トヨタ自動車株式会社
バッテリ
16日前
トヨタ自動車株式会社
蓄電装置
15日前
ノリタケ株式会社
熱伝導シート
15日前
日東電工株式会社
積層体
16日前
続きを見る
他の特許を見る