TOP
|
特許
|
意匠
|
商標
特許ウォッチ
Twitter
他の特許を見る
公開番号
2025139797
公報種別
公開特許公報(A)
公開日
2025-09-29
出願番号
2024038831
出願日
2024-03-13
発明の名称
積層セラミックコンデンサ
出願人
株式会社村田製作所
代理人
個人
,
個人
主分類
H01G
4/30 20060101AFI20250919BHJP(基本的電気素子)
要約
【課題】電歪クラックの発生を抑制し、信頼性の高い積層セラミックコンデンサを提供すること。
【解決手段】複数の内層誘電体層20i及び複数の内部電極層30が積層する積層体と外部電極を備えた積層セラミックコンデンサであって、長さ方向L及び積層方向Tに平行な断面をみたとき、前記内層誘電体層20iは、長さ方向Lの中央部に配置される中央領域と、長さ方向Lの端部に配置される端部領域と、含み、内層誘電体層20iの積層方向Tの厚みをTdとしたとき、前記中央領域は、長さ方向Lの寸法をTd/2とし積層方向Tの寸法をTdとする方形状の領域A1と、前記領域A1と隣接し、長さ方向Lの寸法をTd/2とし積層方向Tの寸法をTdとする方形状の領域A2と、を含み、前記領域A1は、他の領域より空隙率が高く、前記領域A1における空隙率P1と前記領域A2における空隙率P2との差は、1%以上5%以下である、積層セラミックコンデンサ1。
【選択図】図5
特許請求の範囲
【請求項1】
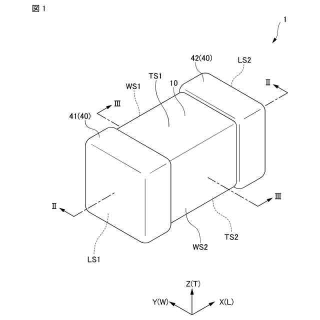
積層方向に交互に積層される複数の内層誘電体層及び複数の内部電極層を含む内層部と、該内層部を前記積層方向から挟み込む外層部と、を含み、前記積層方向において相対する第1の主面及び第2の主面と、前記積層方向に直交する幅方向において相対する第1の側面及び第2の側面と、前記積層方向及び前記幅方向に直交する長さ方向において相対する第1の端面及び第2の端面と、を備える積層体と、
前記積層体の前記長さ方向の両端部に、少なくとも前記第1の端面及び前記第2の端面をそれぞれ覆うように配置され、前記内部電極層に接続される一対の外部電極と、
を備え、
前記長さ方向及び前記積層方向に平行な断面をみたとき、
前記内層誘電体層は、前記長さ方向の中央部に配置される中央領域と、前記長さ方向の端部に配置される端部領域と、含み、
前記内層誘電体層の前記積層方向の厚みをTdとすると、
前記中央領域は、長さ方向の寸法をTd/2とし積層方向の寸法をTdとする方形状の領域A1と、前記領域A1と隣接し、長さ方向の寸法をTd/2とし積層方向の寸法をTdとする方形状の領域A2と、を含み、
前記領域A1は、他の領域より空隙率が高く、
前記領域A1における空隙率P1と前記領域A2における空隙率P2との差は、1%以上5%以下である、積層セラミックコンデンサ。
続きを表示(約 120 文字)
【請求項2】
前記積層体の前記積層方向の高さをTsとしたとき、
前記領域A1と前記領域A2は、前記積層体の前記積層方向において中央に位置する高さTs/10の範囲に存在する、請求項1に記載の積層セラミックコンデンサ。
発明の詳細な説明
【技術分野】
【0001】
本発明は、積層セラミックコンデンサに関する。
続きを表示(約 1,700 文字)
【背景技術】
【0002】
従来より、積層セラミックコンデンサは、誘電体層と内部電極層とが交互に積層され、さらに、その上面と下面に誘電体層が積層された積層体と、該積層体の両端面に形成された一対の外部電極とを備えている。
【0003】
そして、積層セラミックコンデンサは、一般に、チタン酸バリウムなどの誘電体セラミックからなるセラミックグリーンシートと未焼成の内部電極層とを交互に積層してグリーンチップを作製し、当該グリーンチップを焼成した後、得られた積層体の端面に外部電極を形成することにより製造される。
【先行技術文献】
【特許文献】
【0004】
特開2001-237137号公報
【発明の概要】
【発明が解決しようとする課題】
【0005】
しかしながら、積層体を製造する過程において、グリーンチップを焼成すると、誘電体セラミックが収縮し、誘電体層内に空隙が発生する。また、チタン酸バリウムは高誘電率系セラミックのため、電圧印加時に電歪現象によって空隙の部分に応力がかかり易く、空隙が誘電体層内の特定の部分に集中していると、その部分から電歪クラックが発生し、誘電体層の絶縁抵抗が劣化することにより、積層セラミックコンデンサとしての信頼性が低下することとなる。
【0006】
本発明は、電歪クラックの発生を抑制し、信頼性の高い積層セラミックコンデンサを提供することを目的とする。
【課題を解決するための手段】
【0007】
本発明者は、誘電体層内の空隙の分布を制御することにより、電歪クラックの発生率が低減することを見出し、本発明を完成するに至った。
【0008】
すなわち、本発明は、積層方向に交互に積層される複数の内層誘電体層及び複数の内部電極層を含む内層部と、該内層部を前記積層方向から挟み込む外層部と、を含み、前記積層方向において相対する第1の主面及び第2の主面と、前記積層方向に直交する幅方向において相対する第1の側面及び第2の側面と、前記積層方向及び前記幅方向に直交する長さ方向において相対する第1の端面及び第2の端面と、を備える積層体と、
前記積層体の前記長さ方向の両端部に、少なくとも前記第1の端面及び前記第2の端面をそれぞれ覆うように配置され、前記内部電極層に接続される一対の外部電極と、
を備え、
前記長さ方向及び前記積層方向に平行な断面をみたとき、
前記内層誘電体層は、前記長さ方向の中央部に配置される中央領域と、前記長さ方向の端部に配置される端部領域と、含み、
前記内層誘電体層の前記積層方向の厚みをTdとすると、
前記中央領域は、長さ方向の寸法をTd/2とし積層方向の寸法をTdとする方形状の領域A1と、前記領域A1と隣接し、長さ方向の寸法をTd/2とし積層方向の寸法をTdとする方形状の領域A2と、を含み、
前記領域A1は、他の領域より空隙率が高く、
前記領域A1における空隙率P1と前記領域A2における空隙率P2との差は、1%以上5%以下である、積層セラミックコンデンサである。
【発明の効果】
【0009】
本発明によれば、誘電体層内の空隙の分布を制御し、電歪クラックの発生を抑制した、信頼性の高い積層セラミックコンデンサを提供することが可能となる。
【図面の簡単な説明】
【0010】
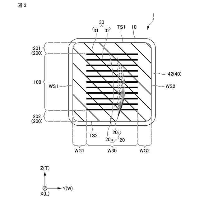
積層セラミックコンデンサを示す斜視図である。
図1に示す積層セラミックコンデンサのII-II線断面図(LT断面)である。
図1に示す積層セラミックコンデンサのIII-III線断面図(WT断面)である。
図1に示す積層セラミックコンデンサの内層部の構造を示す模式図である。
誘電体層内の空隙の分布状態を示す模式図である。
【発明を実施するための形態】
(【0011】以降は省略されています)
この特許をJ-PlatPat(特許庁公式サイト)で参照する
関連特許
株式会社村田製作所
電池
6日前
株式会社村田製作所
釣り具
5日前
株式会社村田製作所
ラック
1か月前
株式会社村田製作所
増幅回路
1か月前
株式会社村田製作所
搬送装置
1か月前
株式会社村田製作所
噴霧ノズル
今日
株式会社村田製作所
高周波回路
1か月前
株式会社村田製作所
コイル部品
1か月前
株式会社村田製作所
コイル部品
12日前
株式会社村田製作所
高周波回路
1か月前
株式会社村田製作所
流体制御装置
13日前
株式会社村田製作所
測定システム
1か月前
株式会社村田製作所
電力増幅回路
1か月前
株式会社村田製作所
フィルタ回路
2日前
株式会社村田製作所
円筒型二次電池
1か月前
株式会社村田製作所
インダクタ部品
1か月前
株式会社村田製作所
圧力センサ装置
1か月前
株式会社村田製作所
グラビア印刷版
20日前
株式会社村田製作所
積層インダクタ
2日前
株式会社村田製作所
インダクタ部品
1か月前
株式会社村田製作所
積層インダクタ
1か月前
株式会社村田製作所
インダクタ部品
12日前
株式会社村田製作所
弾性波フィルタ
12日前
株式会社村田製作所
呼吸検出システム
2日前
株式会社村田製作所
電子部品の製造装置
1か月前
株式会社村田製作所
多層基板及び電子機器
2日前
株式会社村田製作所
多層基板及び電子機器
2日前
株式会社村田製作所
積層セラミック電子部品
14日前
株式会社村田製作所
積層セラミック電子部品
14日前
株式会社村田製作所
積層セラミック電子部品
14日前
株式会社村田製作所
積層セラミック電子部品
21日前
株式会社村田製作所
積層セラミックコンデンサ
2日前
株式会社村田製作所
樹脂多層基板及び電子機器
2日前
株式会社村田製作所
積層セラミックコンデンサ
2日前
株式会社村田製作所
積層セラミックコンデンサ
5日前
株式会社村田製作所
樹脂多層基板及び電子機器
2日前
続きを見る
他の特許を見る