TOP
|
特許
|
意匠
|
商標
特許ウォッチ
Twitter
他の特許を見る
10個以上の画像は省略されています。
公開番号
2025119855
公報種別
公開特許公報(A)
公開日
2025-08-15
出願番号
2024014928
出願日
2024-02-02
発明の名称
電子部品の製造装置
出願人
株式会社村田製作所
代理人
弁理士法人深見特許事務所
主分類
B02C
17/16 20060101AFI20250807BHJP(破砕,または粉砕;製粉のための穀粒の前処理)
要約
【課題】スラリーからビーズを分離しやすくする。
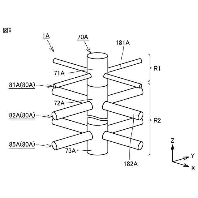
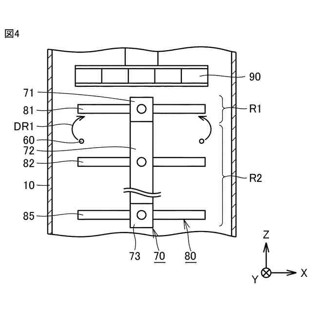
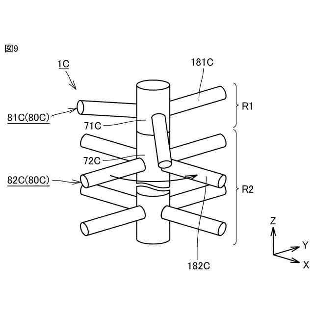
【解決手段】電子部品の製造装置は、筒状の容器10と、軸部70と、複数の攪拌子80とを備える。容器10は、第1の方向に延在する軸心を有し、スラリーを収容可能である。軸部70は、容器10の内部に配置され、第1の方向に延び、第1の方向を軸中心として回転可能である。複数の攪拌子80は、軸部70から第1の方向に交差する面内方向に延出する少なくとも1つの攪拌部を各々有し、スラリーを複数のビーズ60とともに攪拌するように、軸部70とともに回転可能である。複数の攪拌子80においては、攪拌子が1つずつ第1の方向に互いに間隔をあけて配置されている。複数の攪拌子80は、第1の方向において互いに隣り合う第1攪拌子81および第2攪拌子82を含む。第1攪拌子81は、第2攪拌子82より低い攪拌力を有している。
【選択図】図4
特許請求の範囲
【請求項1】
第1の方向に延在する軸心を有し、スラリーを収容可能な筒状の容器と、
前記容器の内部に配置され、前記第1の方向に延び、前記第1の方向を軸中心として回転可能な軸部と、
前記軸部から前記第1の方向に交差する面内方向に延出する少なくとも1つの攪拌部を各々有し、前記スラリーを攪拌するように、前記軸部とともに回転可能な複数の攪拌子とを備え、
前記複数の攪拌子においては、攪拌子が1つずつ前記第1の方向に互いに間隔をあけて配置されており、
前記複数の攪拌子は、前記第1の方向において互いに隣り合う第1攪拌子および第2攪拌子を含み、
前記第1攪拌子は、前記第2攪拌子より低い攪拌力を有する、電子部品の製造装置。
続きを表示(約 880 文字)
【請求項2】
前記容器の前記第1の方向における第1の端部側に位置し、前記スラリーを前記容器の内部に投入可能な投入口と、
前記容器の前記第1の方向における第1の端部とは反対側の第2の端部側に位置し、前記スラリーを前記容器の内部から取り出し可能な取り出し口とをさらに備え、
前記第1攪拌子は、前記第2攪拌子より前記第1の方向において取り出し口側に位置している、請求項1に記載の電子部品の製造装置。
【請求項3】
前記第1攪拌子の回転速度が前記第2攪拌子の回転速度より遅いことにより、前記第1攪拌子は、前記第2攪拌子より低い攪拌力を有する、請求項1または請求項2に記載の電子部品の製造装置。
【請求項4】
前記第1攪拌子は、前記攪拌部として、第1攪拌部を有し、
前記第2攪拌子は、前記攪拌部として、第2攪拌部を有し、
前記第1の方向および前記攪拌部が延出する方向に沿う断面における、各前記第1攪拌部を前記軸部の周方向から見たときの投影面積の合計が、各前記第2攪拌部を前記周方向から見たときの投影面積の合計より小さいことにより、前記第1攪拌子は、前記第2攪拌子より低い攪拌力を有する、請求項1または請求項2に記載の電子部品の製造装置。
【請求項5】
前記攪拌部が延出する方向における、各前記第1攪拌部の長さの合計が各前記第2攪拌部の長さの合計より短いことにより、前記第1攪拌子は、前記第2攪拌子より低い攪拌力を有する、請求項4に記載の電子部品の製造装置。
【請求項6】
前記第1攪拌子が有する前記第1攪拌部の本数が前記第2攪拌子が有する前記第2攪拌部の本数より少ないことにより、前記第1攪拌子は、前記第2攪拌子より低い攪拌力を有する、請求項4に記載の電子部品の製造装置。
【請求項7】
前記複数の攪拌子は、前記スラリーを複数のビーズとともに攪拌するように、前記軸部とともに回転可能である、請求項1または請求項2に記載の電子部品の製造装置。
発明の詳細な説明
【技術分野】
【0001】
本発明は、電子部品の製造装置に関する。
続きを表示(約 1,600 文字)
【背景技術】
【0002】
電子部品の製造装置として扱うことが可能なビーズミルの構成を開示した先行技術文献として、実用新案登録第3217671号公報(特許文献1)がある。特許文献1に記載されたビーズミルは、円筒容器と、攪拌子とを備える。ビーズミルは、円筒容器内において攪拌子が回転することによって、硬質粒子(ビーズ)を攪拌する。これにより、固体粒子の懸濁液(スラリー)中の粒子が粉砕される。その後、ビーズがスラリーから分離される。
【先行技術文献】
【特許文献】
【0003】
実用新案登録第3217671号公報
【発明の概要】
【発明が解決しようとする課題】
【0004】
積層セラミックコンデンサの小型化に伴ってセラミックスラリーの粒子を微細化するために、セラミックスラリーを粉砕するビーズも微細化する。特許文献1に記載のビーズミルにおいては、ビーズの微細化に伴って、スラリーからビーズを分離しにくい可能性がある。
【0005】
本発明は上記の問題点に鑑みてなされたものであって、スラリーからビーズを分離しやすくすることができる、電子部品の製造装置を提供することを目的とする。
【課題を解決するための手段】
【0006】
本発明に基づく電子部品の製造装置は、筒状の容器と、軸部と、複数の攪拌子とを備える。容器は、第1の方向に延在する軸心を有し、スラリーを収容可能である。軸部は、容器の内部に配置され、第1の方向に延び、第1の方向を軸中心として回転可能である。複数の攪拌子は、軸部から第1の方向に交差する面内方向に延出する少なくとも1つの攪拌部を各々有し、スラリーを複数のビーズとともに攪拌するように、軸部とともに回転可能である。複数の攪拌子においては、攪拌子が1つずつ第1の方向に互いに間隔をあけて配置されている。複数の攪拌子は、第1の方向において互いに隣り合う第1攪拌子および第2攪拌子を含む。第1攪拌子は、第2攪拌子より低い攪拌力を有している。
【発明の効果】
【0007】
本発明の装置構成によれば、ビーズの流れをコントロールしやすくなり、スラリーからビーズを分離しやすくすることができる。
【図面の簡単な説明】
【0008】
本発明の実施の形態1に係る電子部品の製造装置の構成を示す部分断面図である。
本発明の実施の形態1に係る電子部品の製造装置が備える軸部および複数の攪拌子の構成を示す概略図である。
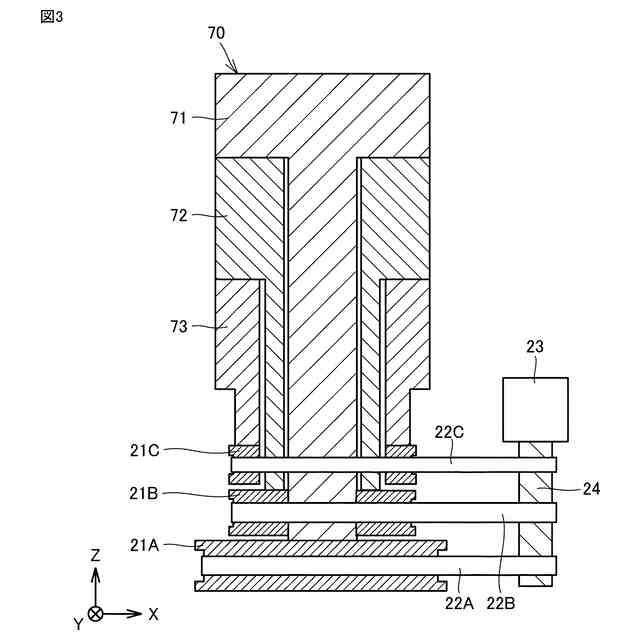
本発明の実施の形態1に係る電子部品の製造装置が備える軸部の内部構成を示す部分断面図である。
本発明の実施の形態1に係る複数のビーズが容器内を流動する状態を示す概略図である。
本発明の実施の形態1に係る電子部品の製造方法を示すフローチャートである。
本発明の実施の形態2に係る電子部品の製造装置の構成を示す斜視図である。
複数の攪拌子の攪拌力に起因する攪拌部の投影面積を示す斜視図である。
本発明の実施の形態3に係る電子部品の製造装置の構成を示す斜視図である。
本発明の実施の形態4に係る電子部品の製造装置の構成を示す斜視図である。
【発明を実施するための形態】
【0009】
以下、本発明の各実施の形態に係る電子部品の製造装置について図を参照して説明する。以下の実施の形態の説明においては、図中の同一または相当部分には同一符号を付して、その説明は繰り返さない。
【0010】
なお、図面においては、電子部品の製造装置が備える容器の軸心が延在する第1の方向に直交する任意の一方向をX方向、上記第1の方向およびX方向に直交する方向をY方向、上記第1の方向をZ方向とする。
(【0011】以降は省略されています)
この特許をJ-PlatPat(特許庁公式サイト)で参照する
関連特許
株式会社村田製作所
電池
15日前
株式会社村田製作所
釣り具
14日前
株式会社村田製作所
測定装置
2日前
株式会社村田製作所
電子部品
7日前
株式会社村田製作所
噴霧ノズル
9日前
株式会社村田製作所
電池パック
2日前
株式会社村田製作所
高周波回路
1か月前
株式会社村田製作所
高周波回路
1か月前
株式会社村田製作所
高周波回路
1日前
株式会社村田製作所
コイル部品
21日前
株式会社村田製作所
フィルタ回路
11日前
株式会社村田製作所
フィルタ装置
1日前
株式会社村田製作所
流体制御装置
22日前
株式会社村田製作所
測定システム
1か月前
株式会社村田製作所
インダクタ部品
21日前
株式会社村田製作所
グラビア印刷版
29日前
株式会社村田製作所
インダクタ部品
1か月前
株式会社村田製作所
積層インダクタ
11日前
株式会社村田製作所
複合型電子部品
7日前
株式会社村田製作所
弾性波フィルタ
21日前
株式会社村田製作所
圧力センサ装置
1か月前
株式会社村田製作所
圧力センサ装置
2日前
株式会社村田製作所
呼吸検出システム
11日前
株式会社村田製作所
電子部品包装装置
2日前
株式会社村田製作所
ファブリペロー干渉計
1日前
株式会社村田製作所
造粒粉及びインダクタ
1日前
株式会社村田製作所
多層基板及び電子機器
11日前
株式会社村田製作所
多層基板及び電子機器
11日前
株式会社村田製作所
積層セラミック電子部品
8日前
株式会社村田製作所
積層セラミック電子部品
1か月前
株式会社村田製作所
積層セラミック電子部品
23日前
株式会社村田製作所
積層セラミック電子部品
23日前
株式会社村田製作所
積層セラミック電子部品
23日前
株式会社村田製作所
積層セラミック電子部品
1日前
株式会社村田製作所
積層セラミック電子部品
1日前
株式会社村田製作所
濾過装置および濾過方法
1日前
続きを見る
他の特許を見る