TOP
|
特許
|
意匠
|
商標
特許ウォッチ
Twitter
他の特許を見る
10個以上の画像は省略されています。
公開番号
2025139677
公報種別
公開特許公報(A)
公開日
2025-09-29
出願番号
2024038636
出願日
2024-03-13
発明の名称
多層基板及び電子機器
出願人
株式会社村田製作所
代理人
弁理士法人 楓国際特許事務所
主分類
H05K
1/02 20060101AFI20250919BHJP(他に分類されない電気技術)
要約
【課題】絶縁体層の積層数の相違箇所での割れや欠けが生じにくい多層基板及びこの多層基板を備えた電子機器を得る。
【解決手段】多層基板101は、第1基板部1と、第2基板部2と、盛り上がり部3と、を備える。第1基板部1は第1材料で形成されている。第2基板部2は第2材料で形成されていて、第1基板部1に接合されて第1基板部1から突出する突出部EXを有する。盛り上がり部3は、第1材料で構成され、第2基板部2の突出部EXの基部に接合し、且つ突出部EXの基部付近に盛り上がって突出部EXの側部の一部を覆う。
【選択図】図1
特許請求の範囲
【請求項1】
第1材料の樹脂層の積層により形成された第1基板部と、
前記第1基板部に接合されて前記第1基板部から突出する突出部を有する、第2材料の樹脂層の積層により形成された第2基板部と、
前記第2基板部の前記突出部の基部に接合し、且つ前記突出部の基部付近に盛り上がって前記突出部の側部の一部を覆う、前記第1材料で構成された盛り上がり部と、
を備え、
前記第1基板部に対する前記第2基板部の接合面の一部である、前記第2基板部の底部は、前記第1基板部の上面より下方に位置する、
多層基板。
続きを表示(約 740 文字)
【請求項2】
前記第2基板部の側部と前記盛り上がり部との境界は、前記盛り上がり部の頂部より下方にかけて、前記第2基板部の側部の幅が拡がる傾斜状部を有する、
請求項1に記載の多層基板。
に記載の多層基板。
【請求項3】
前記第1材料と前記第2材料とは同一材料である、
請求項1又は2に記載の多層基板。
に記載の多層基板。
【請求項4】
前記第2材料は前記第1材料に比べて高誘電率である、
請求項1又は2に記載の多層基板。
に記載の多層基板。
【請求項5】
前記第1材料及び前記第2材料は熱可塑性樹脂である、
請求項1又は2に記載の多層基板。
【請求項6】
前記熱可塑性樹脂は液晶ポリマー樹脂である、
請求項5に記載の多層基板。
【請求項7】
前記第1材料は前記第2材料に比べてヤング率が低い、
請求項1又は2に記載の多層基板。
に記載の多層基板。
【請求項8】
前記第1基板部は当該第1基板部の上面より陥凹した陥凹部を有し、前記第2基板部は前記第1基板部の前記陥凹部の底部に接合されていて、前記盛り上がり部は前記陥凹部内に位置し、前記第2基板部の一部が前記第1基板部の上面より突出している、
請求項1又は2に記載の多層基板。
【請求項9】
前記第2基板部にアンテナが形成されている、
請求項1又は2に記載の多層基板。
【請求項10】
前記第1基板部に伝送線路が形成されている、
請求項1又は2に記載の多層基板。
(【請求項11】以降は省略されています)
発明の詳細な説明
【技術分野】
【0001】
本発明は多層基板及びそれを備えた電子機器に関する。
続きを表示(約 1,500 文字)
【背景技術】
【0002】
特許文献1には、複数の絶縁体層を備えた多層基板が示されている。また、絶縁体層の積層数の相違により、部分的に積層方向の厚みが異なる領域を形成した多層基板が示されている。
【先行技術文献】
【特許文献】
【0003】
特開2005-236873号公報
【発明の概要】
【発明が解決しようとする課題】
【0004】
導体層が付された導体層付き絶縁体層の積層数の相違により、部分的に積層方向の厚みが異なる領域を形成する構造であれば、厚みの厚い部分で所定の電子部品的な機能を持たせることができる。しかし、絶縁体層の積層数の相違箇所に応力が集中すると割れや欠けが生じやすい。
【0005】
そこで、本発明の目的は、絶縁体層の積層数の相違箇所での割れや欠けが生じにくい多層基板を提供すること、及びこの多層基板を備えた電子機器を提供することにある。
【課題を解決するための手段】
【0006】
(1)本開示の一例としての多層基板は、
第1材料の樹脂層の積層により形成された第1基板部と、
前記第1基板部に接合されて前記第1基板部から突出する突出部を有する、第2材料の樹脂層の積層により形成された第2基板部と、
前記第2基板部の前記突出部の基部に接合し、且つ前記突出部の基部付近に盛り上がって前記突出部の側部の一部を覆う、前記第1材料で構成された盛り上がり部と、
を備え、
前記第1基板部に対する前記第2基板部の接合面の一部である、前記第2基板部の底部は、前記第1基板部の上面より下方に位置する。
【0007】
(2)本開示の一例としての電子機器は、多層基板と、当該多層基板に実装された電子部品と、を備えて構成される。
【発明の効果】
【0008】
本発明によれば、絶縁体層の積層数の相違箇所での割れや欠けが生じにくい多層基板が得られ、さらにはこの多層基板を備えた電子機器が得られる。
【図面の簡単な説明】
【0009】
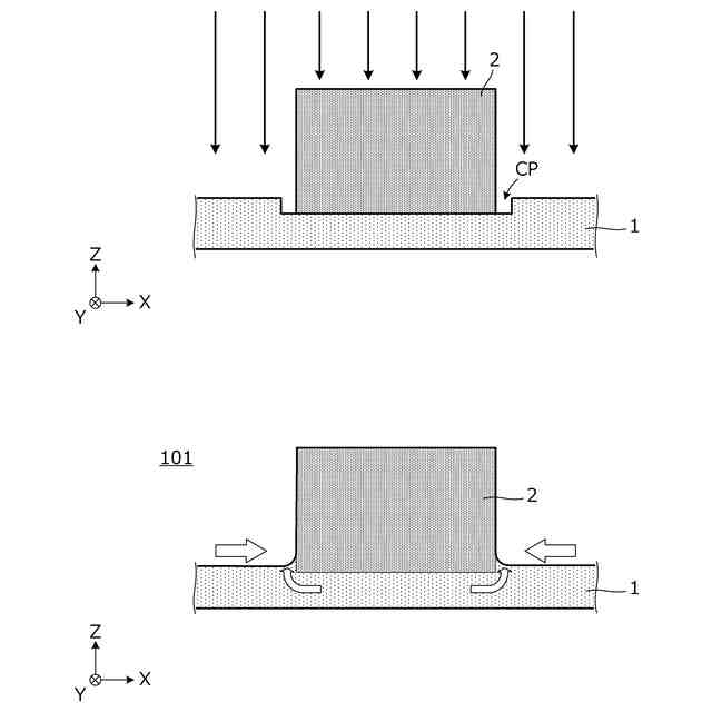
図1は第1の実施形態に係る多層基板101の断面図である。
図2は特に盛り上がり部3の形状を示す図である。
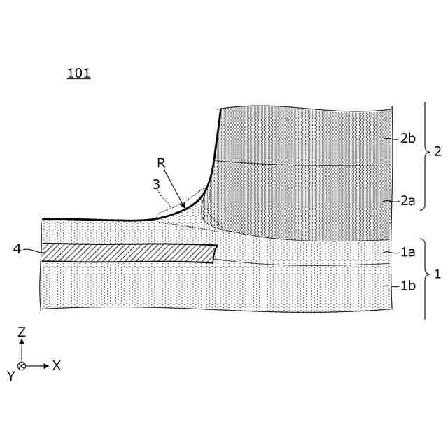
図3は第1基板部1と第2基板部2との位置関係を示す図である。
図4は第2基板部2の基部と第1基板部1との接合部の形状を示す図である。
図5は多層基板101の製造の途中段階での断面図である。
図6は第1の実施形態に係る他の多層基板101Aの断面図である。
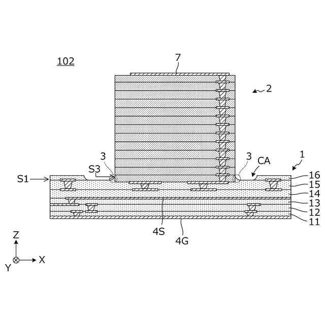
図7は第2の実施形態に係る多層基板102の断面図である。
図8は多層基板102の平面図である。
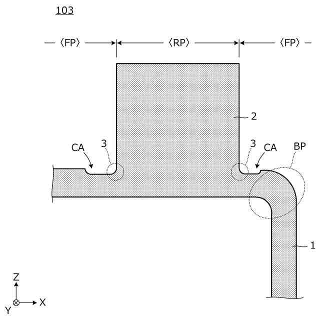
図9は第3の実施形態に係る多層基板103の断面図である。
図10は第4の実施形態に係る電子機器301の断面図である。
【発明を実施するための形態】
【0010】
以降、図を参照して幾つかの具体的な例を挙げて、本発明を実施するための複数の形態を示す。各図中には同一箇所に同一符号を付している。要点の説明又は理解の容易性を考慮して、実施形態を説明の便宜上、複数の実施形態に分けて示すが、異なる実施形態で示した構成の部分的な省略、置換又は組み合わせは可能である。第2の実施形態以降では第1の実施形態と共通の事柄についての記述を省略し、異なる点についてのみ説明する。特に、同様の構成による同様の作用効果については実施形態毎には逐次言及しない。
(【0011】以降は省略されています)
この特許をJ-PlatPat(特許庁公式サイト)で参照する
関連特許
株式会社村田製作所
二次電池
23日前
株式会社村田製作所
コイル部品
17日前
株式会社村田製作所
電池パック
1日前
株式会社村田製作所
フィルタ装置
3日前
株式会社村田製作所
電力システム
18日前
株式会社村田製作所
外観検査装置
9日前
株式会社村田製作所
電力増幅回路
9日前
株式会社村田製作所
インダクタ部品
1日前
株式会社村田製作所
インダクタ部品
1日前
株式会社村田製作所
インダクタ部品
1日前
株式会社村田製作所
インダクタ部品
1日前
株式会社村田製作所
インダクタ部品
1日前
株式会社村田製作所
インダクタ部品
11日前
株式会社村田製作所
伸縮性コイル部品
16日前
株式会社村田製作所
高周波モジュール
9日前
株式会社村田製作所
積層体の切断装置
3日前
株式会社村田製作所
正極及び二次電池
1日前
株式会社村田製作所
積層体の切断装置
3日前
株式会社村田製作所
積層セラミック電子部品
15日前
株式会社村田製作所
積層セラミックコンデンサ
1日前
株式会社村田製作所
積層セラミックコンデンサ
1日前
株式会社村田製作所
熱拡散デバイス及び電子機器
3日前
株式会社村田製作所
コイル部品およびその製造方法
1日前
株式会社村田製作所
高周波モジュール及び通信装置
9日前
株式会社村田製作所
二次電池用負極および二次電池
16日前
株式会社村田製作所
インダクタ部品およびバックコンバータ
1日前
株式会社村田製作所
積層セラミックコンデンサおよびその製造方法
4日前
株式会社村田製作所
筋振動検知センサ、電気刺激装置及び筋振動検知方法
4日前
株式会社村田製作所
電子部品
3日前
株式会社村田製作所
光変調器
3日前
株式会社村田製作所
光変調器
3日前
株式会社村田製作所
光変調器
3日前
株式会社村田製作所
積層型コイル部品
11日前
株式会社村田製作所
押圧位置推定システム、押圧位置推定方法、及び押圧位置推定プログラム
1日前
株式会社村田製作所
スイッチ付き同軸コネクタおよび該スイッチ付き同軸コネクタを備える同軸コネクタセット
9日前
株式会社村田製作所
スイッチ付き同軸コネクタおよび該スイッチ付き同軸コネクタを備える同軸コネクタセット
9日前
続きを見る
他の特許を見る