TOP
|
特許
|
意匠
|
商標
特許ウォッチ
Twitter
他の特許を見る
10個以上の画像は省略されています。
公開番号
2025170481
公報種別
公開特許公報(A)
公開日
2025-11-19
出願番号
2024075072
出願日
2024-05-07
発明の名称
基板処理装置
出願人
東京エレクトロン株式会社
代理人
弁理士法人酒井国際特許事務所
主分類
H01L
21/3065 20060101AFI20251112BHJP(基本的電気素子)
要約
【課題】エッジリングを効率よく冷却する。
【解決手段】基板処理装置は、チャンバと、基板支持部と、エッジリングとを備える。基板支持部は、チャンバ内に設けられ、基板が載せられる第1の面と、第1の面の外周を囲む第2の面とを有する。エッジリングは、環状に形成され、第2の面に載せられる。基板支持部の第2の面に対向するエッジリングの第3の面には、エッジリングの中心からの放射状に延在する第1の溝が形成されている。第2の面には、複数の第1の溝と第2の面とで囲まれる空間内にガスを供給する供給口が形成されている。エッジリングの側壁には、第1の溝と第2の面とで囲まれる空間内からガスを排気する排気口が形成されている。
【選択図】図3
特許請求の範囲
【請求項1】
チャンバと、
前記チャンバ内に設けられ、基板が載せられる第1の面と前記第1の面の外周を囲む第2の面とを有する基板支持部と、
環状に形成され、前記第2の面に載せられるエッジリングと
を備え、
前記第2の面に対向する前記エッジリングの第3の面には、前記エッジリングの中心からの放射状の仮想線に沿って延在する複数の第1の溝が形成されており、
前記第2の面には、前記複数の第1の溝と前記第2の面とで囲まれる空間内にガスを供給する供給口が形成されており、
前記エッジリングの側壁には、前記第1の溝と前記第2の面とで囲まれる空間内からガスを排気する排気口が形成されている、基板処理装置。
続きを表示(約 700 文字)
【請求項2】
前記第3の面には、環状に形成され、前記複数の第1の溝に接続される第2の溝がさらに形成されている、請求項1に記載の基板処理装置。
【請求項3】
チャンバと、
前記チャンバ内に設けられ、基板が載せられる第1の面と前記第1の面の外周を囲む第2の面とを有する基板支持部と、
環状に形成され、前記第2の面に載せられるエッジリングと
を備え、
前記第2の面に対向する前記エッジリングの第3の面には、環状に延在する第2の溝が形成されており、
前記第2の面には、前記第2の溝と前記第2の面とで囲まれる空間内にガスを供給する供給口と、前記空間内からガスを排気する排気口とが形成されている、基板処理装置。
【請求項4】
チャンバと、
前記チャンバ内に設けられ、基板が載せられる第1の面と前記第1の面の外周を囲む第2の面とを有する基板支持部と、
環状に形成され、前記第2の面に載せられるエッジリングと
を備え、
前記第2の面に対向する前記エッジリングの第3の面には、前記エッジリングの中心からの放射状の仮想線に沿って延在する複数の第1の溝が形成されており、
前記第2の面には、前記複数の第1の溝と前記第2の面とで囲まれる空間内にガスを供給する供給口と、前記空間内からガスを排気する排気口とが形成されている、基板処理装置。
【請求項5】
前記空間内のガスの流速は、3m/s以上かつ5m/s以下の範囲内の流速である、請求項1から4のいずれか一項に記載の基板処理装置。
発明の詳細な説明
【技術分野】
【0001】
本開示の種々の側面および実施形態は、基板処理装置に関する。
続きを表示(約 2,000 文字)
【背景技術】
【0002】
下記の特許文献1には、「図8(b)のケース2では、断面図に示すようにフォーカスリング30の裏面に傾斜部はなく、静電チャック25側の伝熱ガスを供給するフォーカスリング側ライン36bの上方に環状の溝部30bが形成されている。」ことが開示されている。
【0003】
また、下記の特許文献2には、「図7は、図6における伝熱ガス導入溝44の概略構成を示す図であり、(a)はフォーカスリング30を接触面から眺めた図であり、(b)は図7(a)における線III-IIIに沿う断面図である。」こと、および、「図7において、伝熱ガス導入溝44は、接触面においてフォーカスリング30と同心の環状を呈する内側導入溝44aと、同じく接触面において該内側導入溝44aを囲うように配置され且つフォーカスリング30と同心の環状を呈する外側導入溝44bと、内側導入溝44a及び外側導入溝44bを連結する放射状導入溝44cとを有し、外側導入溝44bの直径は、外周部25bの上面における2つのフォーカスリング部ライン46bの開口部の間の距離と略一致する。」ことが開示されている。
【先行技術文献】
【特許文献】
【0004】
特開2018-107433号公報
米国特許出願公開第2004/0261946号明細書
【発明の概要】
【発明が解決しようとする課題】
【0005】
本開示は、エッジリングを効率よく冷却することができる基板処理装置を提供する。
【課題を解決するための手段】
【0006】
本開示の一側面は、基板処理装置であって、チャンバと、基板支持部と、エッジリングとを備える。基板支持部は、チャンバ内に設けられ、基板が載せられる第1の面と第1の面の外周を囲む第2の面とを有する。エッジリングは、環状に形成され、第2の面に載せられる。基板支持部の第2の面に対向するエッジリングの第3の面には、エッジリングの中心からの放射状の仮想線に沿って延在する第1の溝が形成されている。第2の面には、複数の第1の溝と第2の面とで囲まれる空間内にガスを供給する供給口が形成されている。エッジリングの側壁には、第1の溝と第2の面とで囲まれる空間内からガスを排気する排気口が形成されている。
【発明の効果】
【0007】
本開示の種々の側面および実施形態によれば、エッジリングを効率よく冷却することができる。
【図面の簡単な説明】
【0008】
図1は、本開示の一実施形態におけるプラズマ処理装置の一例を示す概略断面図である。
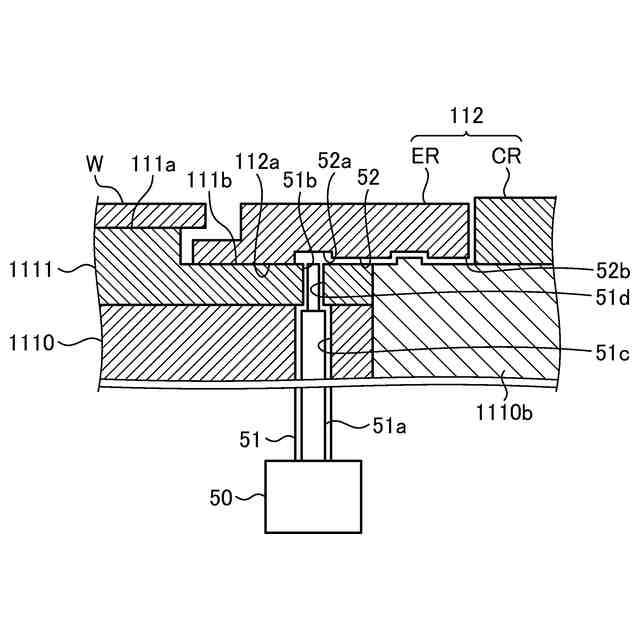
図2は、エッジリング付近の基板支持部の構造の一例を示す拡大断面図である。
図3は、エッジリングの下面の一例を示す図である。
図4は、エッジリングと静電チャックとの間の空間内の圧力とエッジリングと静電チャックとの温度差との関係の一例を示す図である。
図5Aは、温度差のある2つの物体の間にガスが存在する場合の熱伝達の一例を説明するための図である。
図5Bは、温度差のある2つの物体の間にガスが存在する場合の熱伝達の一例を説明するための図である。
図5Cは、温度差のある2つの物体の間にガスが存在する場合の熱伝達の一例を説明するための図である。
図6は、Heガスの流速とHeガスの流れ熱コンダクタンスとの関係の一例を示す図である。
図7は、溝の本数と半円溝直径との関係の一例を示す図である。
図8は、エッジリング付近の基板支持部の構造の他の例を示す拡大断面図である。
図9は、エッジリングの下面の他の例を示す図である。
図10は、エッジリング付近の基板支持部の構造の他の例を示す拡大断面図である。
図11は、エッジリングの下面の他の例を示す図である。
図12は、エッジリングの下面の他の例を示す図である。
【発明を実施するための形態】
【0009】
以下に、基板処理装置の実施形態について、図面に基づいて詳細に説明する。なお、以下の実施形態により、開示される基板処理装置が限定されるものではない。
【0010】
ところで、近年の半導体プロセスでは、高パワーのプラズマを用いた低温のプロセスが行われる場合がある。このようなプロセスでは、高パワーのプラズマにより、エッジリングが加熱される。そのため、エッジリングと静電チャックとの間に供給される伝熱ガスの圧力を上げることにより、エッジリングの熱を伝熱ガスを介して静電チャックに伝達させ、エッジリングの温度が下げられる。
(【0011】以降は省略されています)
この特許をJ-PlatPat(特許庁公式サイト)で参照する
関連特許
APB株式会社
蓄電セル
27日前
東ソー株式会社
絶縁電線
29日前
個人
フレキシブル電気化学素子
1か月前
マクセル株式会社
電源装置
21日前
日新イオン機器株式会社
イオン源
1か月前
株式会社東芝
端子台
21日前
株式会社ユーシン
操作装置
1か月前
ローム株式会社
半導体装置
28日前
株式会社GSユアサ
蓄電装置
22日前
富士電機株式会社
電磁接触器
今日
三菱電機株式会社
回路遮断器
8日前
株式会社GSユアサ
蓄電設備
1か月前
株式会社ホロン
冷陰極電子源
1か月前
株式会社GSユアサ
蓄電設備
1か月前
オムロン株式会社
電磁継電器
1か月前
株式会社GSユアサ
蓄電装置
今日
株式会社GSユアサ
蓄電装置
22日前
株式会社GSユアサ
蓄電装置
14日前
太陽誘電株式会社
コイル部品
1か月前
トヨタ自動車株式会社
蓄電装置
22日前
北道電設株式会社
配電具カバー
27日前
サクサ株式会社
電池の固定構造
1か月前
トヨタ自動車株式会社
蓄電装置
1か月前
日新イオン機器株式会社
基板処理装置
24日前
日東電工株式会社
積層体
1か月前
ノリタケ株式会社
熱伝導シート
1か月前
トヨタ自動車株式会社
冷却構造
29日前
日本特殊陶業株式会社
保持装置
1か月前
日本特殊陶業株式会社
保持装置
13日前
トヨタ自動車株式会社
バッテリ
27日前
ヒロセ電機株式会社
電気コネクタ
今日
トヨタ自動車株式会社
密閉型電池
23日前
株式会社トクヤマ
シリコンエッチング液
1か月前
甲神電機株式会社
変流器及び零相変流器
15日前
古河電気工業株式会社
端子
1か月前
株式会社ダイヘン
搬送装置
1か月前
続きを見る
他の特許を見る