TOP
|
特許
|
意匠
|
商標
特許ウォッチ
Twitter
他の特許を見る
公開番号
2025169656
公報種別
公開特許公報(A)
公開日
2025-11-14
出願番号
2024074569
出願日
2024-05-01
発明の名称
発電素子、及び発電素子の製造方法
出願人
個人
,
エネジップフォーム株式会社
代理人
個人
主分類
H01M
6/12 20060101AFI20251107BHJP(基本的電気素子)
要約
【課題】外部電圧による充電を必要とせず、小型軽量でありながら発電効率を高めることができる発電素子、及び発電素子の製造方法を提供することを目的とする。
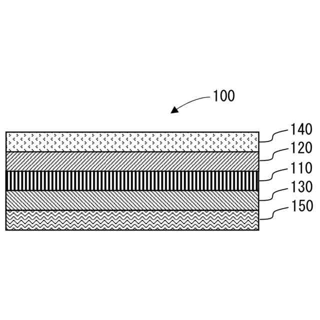
【解決手段】発電素子1は、水分を含有する基材層10と、基材層10の一方の面に、二酸化ケイ素を含む第1帯電層20、及び所定の種類の金属を含む第1金属層40がこの順で積層方向に積層され、基材層10の他方の面に、二酸化ケイ素を含む第2帯電層30、及び第1金属層40に含まれる金属よりもイオン化傾向が小さい所定の種類の金属を含む第2金属層50がこの順で積層方向に積層されている。そして、第1金属層40から放出されたマイナスイオンは、第1帯電層20、第2帯電層30に取り込まれるとともに、第1金属層40から第2金属層50への電子移動に伴い電流を取り出すことができる。
【選択図】図1
特許請求の範囲
【請求項1】
水分を含有する基材層と、
該基材層の一方の面に、二酸化ケイ素を含む第1帯電層、及び所定の種類の金属を含む第1金属層がこの順で積層方向に積層され、
前記基材層の他方の面に、二酸化ケイ素を含む第2帯電層、及び前記第1金属層に含まれる金属よりもイオン化傾向が小さい所定の種類の金属を含む第2金属層がこの順で積層方向に積層された
発電素子。
続きを表示(約 1,500 文字)
【請求項2】
前記第1帯電層は、
前記基材層の一方の面に、凝灰岩または溶結凝灰岩から構成された第1凝灰岩層、及び二酸化ケイ素から構成された第1二酸化ケイ素層が積層され、
前記第2帯電層は、
前記基材層の他方の面に、凝灰岩または溶結凝灰岩から構成された第2凝灰岩層、及び二酸化ケイ素から構成された第2二酸化ケイ素層が積層された
請求項1に記載の発電素子。
【請求項3】
前記第1金属層は、アルミニウム、チタン、亜鉛、クロム、鉄、ニッケル、鉛からなる群より選択される少なくとも一種の金属で構成され、
前記第2金属層は、金、銀、銅、及び白金からなる群より選択される少なくとも一種の金属で構成された
請求項1または請求項2に記載の発電素子。
【請求項4】
二酸化ケイ素を含む帯電層と、
該帯電層の一方の面に積層され、所定の種類の金属を含む第1金属層と、
前記帯電層の他方の面に積層され、前記第1金属層に含まれる金属よりもイオン化傾向が小さい所定の種類の金属を含む第2金属層と、
前記第1金属層に積層され、水分を含有する第1保水層と、
前記第2金属層に積層され、水分を含有する第2保水層と、を備える
発電素子。
【請求項5】
前記帯電層は、
前記二酸化ケイ素の重量比1に対して重量比0.25~0.5の凝灰岩または溶結凝灰岩を含む
請求項4に記載の発電素子。
【請求項6】
水分を含有する基材層を準備する工程と、
前記基材層の一方の面に、二酸化ケイ素を含む第1帯電層を蒸着する工程と、
前記基材層の他方の面に、二酸化ケイ素を含む第2帯電層を蒸着する工程と、
前記第1帯電層の前記基材層と対向する面とは反対側の面に、所定の種類の金属を含む第1金属層を蒸着する工程と、
前記第2帯電層の前記基材層と対向する面とは反対側の面に、前記第1金属層に含まれる金属よりもイオン化傾向が小さい所定の種類の金属を含む第2金属層を蒸着する工程と、を備える
発電素子の製造方法。
【請求項7】
前記第1帯電層を前記基材層に蒸着する工程は、
前記基材層から積層方向に向けて、凝灰岩または溶結凝灰岩から構成された第1凝灰岩層、及び二酸化ケイ素から構成された第1二酸化ケイ素層を蒸着する工程を有し、
前記第2帯電層を前記基材層に蒸着する工程は、
前記基材層から積層方向に向けて、凝灰岩または溶結凝灰岩から構成された第2凝灰岩層、及び二酸化ケイ素から構成された第2二酸化ケイ素層を蒸着する工程を有する
請求項6に記載の発電素子の製造方法。
【請求項8】
二酸化ケイ素を含む帯電層を生成する工程と、
前記帯電層の一方の面に、第1金属層を積層する工程と、
前記帯電層の他方の面に、前記第1金属層よりもイオン化傾向が小さい第2金属層を積層する工程と、
前記第1金属層の前記帯電層と対向する面または前記帯電層と対向する面とは反対側の面の何れかの面に、水分を吸収可能な第1保水層を積層する工程と、
前記第2金属層の前記帯電層と対向する面または前記帯電層と対向する面とは反対側の面の何れか一方の面に、水分を吸収可能な第2保水層を積層する工程と、を備える
発電素子の製造方法。
【請求項9】
前記帯電層を生成する工程は、
前記二酸化ケイ素の重量比1に対して重量比0.25~0.5の凝灰岩または溶結凝灰岩を混合する工程を含む
請求項8に記載の発電素子の製造方法。
発明の詳細な説明
【技術分野】
【0001】
本発明は、発電素子、及び発電素子の製造方法に関する。詳しくは、外部電圧による充電を必要とせず、小型軽量でありながら発電効率を高めることができる発電素子、及び発電素子の製造方法に係るものである。
続きを表示(約 2,000 文字)
【背景技術】
【0002】
近年、携帯電話やスマートフォン、ノート型パーソナルコンピュータ等の携帯情報端末に代表される電気機器の需要は急速に高まりをみせており、今後、さらに成長が期待される分野の一つとなっている。そして、このような電気機器の普及に伴い、駆動源である蓄電装置の研究開発も盛んに行われている。また、地球環境の問題や石油資源の問題への関心の高まりからハイブリッド車(HEV)、電気自動車(EV)、又はプラグインハイブリッド車(PHEV)等の次世代クリーンエネルギー自動車が注目されるなど、今後も様々な用途において蓄電装置の重要性が増している。
【0003】
一般に蓄電装置としては、これまで鉛蓄電池やニッケルカドミウム電池などが用いられてきたが、環境配慮型社会の要求からこのような有害重金属を含有する蓄電池に対する規制も次第に強まりつつある。また、小型の携帯情報端末の普及によって、より利用エネルギーの高密度化、高電圧化、高出力化、長寿命化、小型軽量化、低価格化等の要求が一層高まり、新たな蓄電装置として、リチウムイオン電池、電気二重層キャパシタ、及びリチウムイオンキャパシタ等が開発され普及してきている。
【0004】
リチウムイオン電池は、一般に、バインダを用いて正極活物質等を正極集電体の両面に塗布した正極と、バインダを用いて負極活物質等を負極集電体の両面に塗布した負極とが、電解質層を介して接続され、電池外装材に収納された構成となっており、例えば特許文献1には、正極19枚と負極20枚を、電解質層を介して交互に積層した積層構造のリチウムイオン電池が記載されている。
【0005】
また、特許文献2には、発電素子により発電した電気を二次電池に充電し、補助エネルギーとして利用する電源装置が開示されている。具体的には、圧電素子で発電した電気を二次電池やコンデンサ(キャパシタ)へ充電し、この電気エネルギーを携帯端末機の電源電池の補助エネルギーとして利用することで、携帯端末機の長時間の利用を実現している。
【0006】
ところで、リチウムイオン電池は、その動作原理が化学反応(ファラデー反応)を利用したものであるため、エネルギー密度に優れる一方で、内部抵抗が高くかつ耐久性が悪いという欠点がある。そのため、リチウムイオン電池を使用した機器においては、内部抵抗による損失が大きく、発電素子で発電した微小な電力を効率よく充電することが困難である。また、充放電の繰返しや高温使用環境に対する耐久性が低いため一定時間の経過毎の取り換え等のメンテナンスの手間が生じる。
【0007】
また、キャパシタは、動作原理が化学反応ではなく、電解液中のイオンの静電吸着により電荷を蓄えるものであるため、内部抵抗や耐久性に優れる一方で、吸着イオンの拡散による自己放電が早いために蓄積した電荷がすぐに消滅してしまう。そのため、発電素子による発電が断続的なものであり発電間隔が長くなる場合には蓄電装置からの放電が機能しない可能性がある。
【0008】
さらに、前記したリチウムイオン電池やキャパシタは、用途や使用方法により耐用年数に差があるものの、必ず寿命を迎え、例えばハイブリッド自動車や電気自動車に搭載されたリチウムイオン電池は、いずれは使用済み電池として廃棄される。この使用済みのリチウムイオン電池の廃棄処理に際しては、各部材に含まれる有価金属を回収して、資源としてリサイクルされるが、大半が環境負荷の大きい産業廃棄物として廃棄されているという実情がある。そのため、近年においては環境負荷の低い蓄電装置の開発が望まれている。
【0009】
この点、特許文献3には、静電気を多く有する火山灰により製造し、廃棄処理を必要としない発電素子が開示されている。具体的には、火山灰を加工した微粒中空球状体、他鉱石、及びマイナスイオンを含む活性化鉱水よりなる静電気生成部材に活性炭、フラーレン、ナノチューブ等よりなる導電性含水粉体を、絶縁性、気密性のある筒状の容器に充填した後、該容器の両端に電気を取り出すためのアノード電極とカソード電極を接続することで、小型でありながら大量の電気を取り出すことを実現している。
【0010】
さらに、特許文献4に示すように、本願の発明者は、火山噴出物であるシラスを略1000℃の高温下で焼成して発泡、膨張させたシラスバルーンには、多量のマイナスイオンを取り込む性質があることを見出し、係る知見に基づいて、イオン化傾向の異なる金属でシラスバルーンを挟持した積層構造体からなる発電素子を開発し、電流を長時間にわたって安定的に取り出す技術を実現している。
【先行技術文献】
【特許文献】
(【0011】以降は省略されています)
特許ウォッチbot のツイートを見る
この特許をJ-PlatPat(特許庁公式サイト)で参照する
関連特許
APB株式会社
蓄電セル
27日前
東ソー株式会社
絶縁電線
29日前
個人
フレキシブル電気化学素子
1か月前
マクセル株式会社
電源装置
21日前
ローム株式会社
半導体装置
1か月前
株式会社東芝
端子台
21日前
日新イオン機器株式会社
イオン源
1か月前
ローム株式会社
半導体装置
28日前
株式会社ユーシン
操作装置
1か月前
太陽誘電株式会社
コイル部品
1か月前
株式会社GSユアサ
蓄電設備
1か月前
オムロン株式会社
電磁継電器
1か月前
三菱電機株式会社
回路遮断器
8日前
株式会社GSユアサ
蓄電装置
14日前
富士電機株式会社
電磁接触器
今日
株式会社GSユアサ
蓄電装置
今日
株式会社GSユアサ
蓄電設備
1か月前
株式会社ホロン
冷陰極電子源
1か月前
株式会社GSユアサ
蓄電装置
22日前
株式会社GSユアサ
蓄電装置
22日前
日本特殊陶業株式会社
保持装置
1か月前
トヨタ自動車株式会社
蓄電装置
1か月前
北道電設株式会社
配電具カバー
27日前
ノリタケ株式会社
熱伝導シート
1か月前
トヨタ自動車株式会社
バッテリ
27日前
日本特殊陶業株式会社
保持装置
13日前
トヨタ自動車株式会社
蓄電装置
22日前
サクサ株式会社
電池の固定構造
1か月前
日東電工株式会社
積層体
1か月前
トヨタ自動車株式会社
冷却構造
29日前
トヨタ自動車株式会社
バッテリ
1か月前
日新イオン機器株式会社
基板処理装置
24日前
ローム株式会社
半導体装置
29日前
日本製紙株式会社
導電性フィルム
1か月前
株式会社レゾナック
冷却器
8日前
東レエンジニアリング株式会社
実装装置
1か月前
続きを見る
他の特許を見る