TOP
|
特許
|
意匠
|
商標
特許ウォッチ
Twitter
他の特許を見る
10個以上の画像は省略されています。
公開番号
2025169815
公報種別
公開特許公報(A)
公開日
2025-11-14
出願番号
2024074972
出願日
2024-05-02
発明の名称
電解コンデンサ
出願人
サン電子工業株式会社
代理人
弁理士法人 佐野特許事務所
主分類
H01G
9/10 20060101AFI20251107BHJP(基本的電気素子)
要約
【課題】モールド樹脂で封止材が本体ケース内に大きく押圧変形され、コンデンサ素子に悪影響を与えるのを防止する。
【解決手段】電解コンデンサは、封止材の、本体ケースの開口部側の面に、外圧変形抑制板を設けている。封止材の、本体ケースの開口部側の面における外周部分には、所定間隔をおいて、外圧変形抑制板の外周部を保持する複数の保持部を設けている。外圧変形抑制板の外周部には、封止材の保持部に、外周方向から保持される複数の被保持部と、この被保持部よりも外周方向に延長された複数の外周延長部と、を設けている。封止材の、板厚方向で、外圧変形抑制板よりも、コンデンサ素子側の部分に対応する、本体ケース部分には、この封止材の径方向への絞り加工部を設けている。た電解コンデンサ。
【選択図】図1
特許請求の範囲
【請求項1】
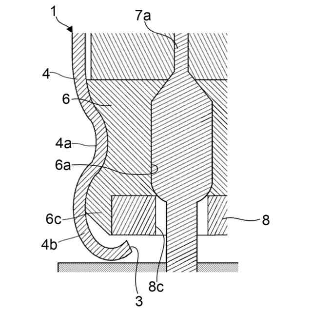
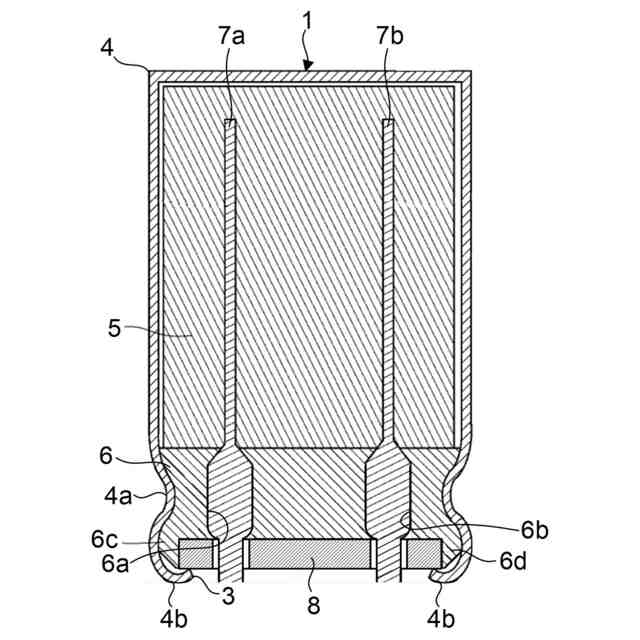
一端側が閉止され、他端側に開口部が設けられた筒状の本体ケースと、前記本体ケース内に収納されたコンデンサ素子と、前記開口部を封止した板状の封止材とを備え、
前記コンデンサ素子は、セパレータを介して対向させた陽極箔と、陰極箔を巻回するとともに、前記陽極箔には第1のリード端子の一端側が接続され、前記陰極箔には第2のリード端子の一端側が接続され、前記第1のリード端子の他端側が、前記封止材の第1の貫通孔を貫通し、前記本体ケースの開口部外に引き出され、前記第2のリード端子の他端側が、前記封止材の第2の貫通孔を貫通し、前記本体ケースの開口部外に引き出された構成とした電解コンデンサにおいて、
前記封止材の、前記本体ケースの開口部側の面には、外圧変形抑制板を設け、
前記封止材の、前記本体ケースの開口部側の面における外周部分には、所定間隔をおいて、前記外圧変形抑制板の外周部を保持する複数の保持部を設け、
前記外圧変形抑制板の外周部には、前記封止材の保持部に、外周方向から保持される複数の被保持部と、この被保持部よりも外周方向に延長された複数の外周延長部と、を設け、
前記封止材の、板厚方向で、前記外圧変形抑制板よりも、前記コンデンサ素子側の部分に対応する、前記本体ケース部分には、この封止材の径方向への絞り加工部を設けた電解コンデンサ。
続きを表示(約 1,100 文字)
【請求項2】
前記本体ケースの開口部には、この本体ケースの開口部側の先端側を、前記封止材側に湾曲して折り曲げた折曲部を設け、この折曲部の先端は、前記封止材の保持部よりも内周側部分の、前記外圧変形抑制板の本体ケースの開口部側の面に当接、あるいは近接させた請求項1に記載の電解コンデンサ。
【請求項3】
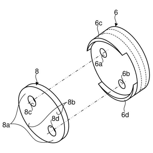
前記外圧変形抑制板の外周部には、被保持部を対向状態で設け、
これら対向配置された被保持部を結ぶ線に対して直交する、前記外圧変形抑制板の外周部には、外周延長部を設けた構成とした請求項2に記載の電解コンデンサ。
【請求項4】
前記封止材の、本体ケースの開口部側の面における外周部分に、保持部を対向状態で配置し、前記封止材において、前記対向配置された保持部を結ぶ線上に、前記第1の貫通孔と、前記第2の貫通孔を、所定間隔離して配置した請求項3に記載の電解コンデンサ。
【請求項5】
前記封止材は円形状とし、
前記外圧変形抑制板は略楕円形状とし、
前記略楕円形状の外圧変形抑制板の外周部において、直径寸法が小さい部分に被保持部を対向状態で設け、
これら対向状態の被保持部を結ぶ線に対して直交する方向の、前記略楕円形状の外圧変形抑制板の外周部に、外周延長部を対向状態で設けた請求項4に記載の電解コンデンサ。
【請求項6】
前記封止材は円形状とし、
前記外圧変形抑制板は略円形状とし、
前記封止材の、本体ケースの開口部側の面に、外圧変形抑制板が装着された状態で、
時計回りに前記封止材の第1の保持部、前記外圧変形抑制板の第1の外周延長部、前記封止材の第2の保持部、前記外圧変形抑制板の第2の外周延長部、前記封止材の第3の保持部、前記外圧変形抑制板の第3の外周延長部、前記封止材の第4の保持部、前記外圧変形抑制板の第4の外周延長部、前記封止材の第5の保持部、前記外圧変形抑制板の第5の外周延長部、前記封止材の第6の保持部、および前記外圧変形抑制板の第6の外周延長部を配置し、
直線状に前記第1の保持部、前記第1の貫通孔、前記第2の貫通孔、および前記第4の保持部を配置し、
前記外圧変形抑制板の第2の外周延長部と第5の外周延長部は、前記封止材の第1の保持部と第4の保持部を結ぶ線に対して直交する部分に配置した請求項4に記載の電解コンデンサ。
【請求項7】
前記外圧変形抑制板は、強化材を混入した合成樹脂板によって構成した請求項1から6のいずれか一つに記載の電解コンデンサ。
発明の詳細な説明
【技術分野】
【0001】
本発明は、電解コンデンサに関する。
続きを表示(約 2,000 文字)
【背景技術】
【0002】
電解コンデンサは、一端側が閉止され、他端側に開口部が設けられた筒状の本体ケースと、本体ケース内に収納されたコンデンサ素子と、前記本体ケースの開口部を封止した板状の封止材とを備えている。前記コンデンサ素子は、セパレータを介して対向させた陽極箔と、陰極箔を巻回するとともに、前記陽極箔と陰極箔には、それぞれリード端子の一端側が接続されている。前記リード端子の他端側は、前記封止材を貫通し、前記本体ケースの開口部外に引き出された構成となっている。
【0003】
また、前記封止材の熱劣化を防止するために、この封止材の本体ケース外側面を絶縁性の無機層で覆ったり(例えば、下記特許文献1)、本体ケース内からの電解液漏れを防止するために、封止材の本体ケース外側面を樹脂層で覆ったり(例えば、下記特許文献2)、本体ケース内の気圧上昇により封止材が本体ケース外に変形するのを防止するために、封止材の本体ケース外側にセラミック補強部材を設けたり(例えば、下記特許文献3)することが提案されている。
【先行技術文献】
【特許文献】
【0004】
特開2019-140257号公報
特開2015-173241号公報
特開平08-293435号公報
【発明の概要】
【発明が解決しようとする課題】
【0005】
上述した通り上記先行文献では、前記封止材の本体ケース外側面を絶縁性の無機層で覆ったり(特許文献1)、樹脂層で覆ったり(特許文献2)、封止材の本体ケース外側にセラミック補強部材を設けたり(特許文献3)している。しかし、前記無機層、樹脂層、セラミック補強部材は、封止材と同じ外径で、しかも、接着などにより封止材に一体化された構造となっている。
【0006】
しかしながら、封止材の本体ケースの開口部側面に、無機層、樹脂層、セラミック補強部材を一体化し、しかも、これらの外径が、封止材と同じ大きさになっていると、電解コンデンサの置かれている環境による本体ケースの膨張、あるいは収縮に、封止材が追従しにくくなる。その結果として、封止材による本体ケースの封止効果が低下することになる。
【0007】
そこで、本発明は、電解コンデンサの置かれている環境による本体ケースの膨張、あるいは収縮時に、封止材による本体ケースの封止効果が低下するのを抑制するとともに、この電解コンデンサの外周部を、モールド樹脂でモールドする際に、前記モールド樹脂で封止材が本体ケース内に大きく押圧変形され、コンデンサ素子に悪影響を与えるのを防止することを目的とする。
【課題を解決するための手段】
【0008】
そして、この目的を達成するために本発明は、一端側が閉止され、他端側に開口部が設けられた筒状の本体ケースと、この本体ケース内に収納されたコンデンサ素子と、前記開口部を封止した板状の封止材とを備え、前記コンデンサ素子は、セパレータを介して対向させた陽極箔と、陰極箔を巻回するとともに、前記陽極箔には第1のリード端子の一端側が接続され、前記陰極箔には第2のリード端子の一端側が接続され、前記第1のリード端子の他端側が、前記封止材の第1の貫通孔を貫通し、前記本体ケースの開口部外に引き出され、前記第2のリード端子の他端側が、前記封止材の第2の貫通孔を貫通し、前記本体ケースの開口部外に引き出された構成とした電解コンデンサにおいて、前記封止材の、前記本体ケースの開口部側の面には、外圧変形抑制板を設け、前記封止材の、前記本体ケースの開口部側の面における外周部分には、所定間隔をおいて、前記外圧変形抑制板の外周部を保持する複数の保持部を設け、前記外圧変形抑制板の外周部には、前記封止材の保持部に、外周方向から保持される複数の被保持部と、この被保持部よりも外周方向に延長された複数の外周延長部と、を設け、前記封止材の、板厚方向で、前記外圧変形抑制板よりも、前記コンデンサ素子側の部分に対応する、前記本体ケース部分には、この封止材の径方向への絞り加工部を設けた構成とした。
【0009】
また、本発明の電解コンデンサにおける前記本体ケースの開口部には、この本体ケースの開口部側の先端側を、前記封止材側に湾曲して折り曲げた折曲部を設け、この折曲部の先端は、前記封止材の保持部よりも内周側部分の、前記外圧変形抑制板の本体ケースの開口部側の面に当接、あるいは近接させた。
【0010】
さらに、本発明の電解コンデンサは、外圧変形抑制板の外周部には、被保持部を対向状態で設け、これら対向配置された被保持部を結ぶ線に対して直交する、前記外圧変形抑制板の外周部には、外周延長部を設けた構成とした。
(【0011】以降は省略されています)
この特許をJ-PlatPat(特許庁公式サイト)で参照する
関連特許
サン電子工業株式会社
電解コンデンサ
7日前
サン電子工業株式会社
電解コンデンサ
7日前
サン電子工業株式会社
電解コンデンサ
28日前
東ソー株式会社
絶縁電線
1か月前
APB株式会社
蓄電セル
28日前
個人
フレキシブル電気化学素子
1か月前
株式会社ユーシン
操作装置
1か月前
日新イオン機器株式会社
イオン源
1か月前
ローム株式会社
半導体装置
1か月前
マクセル株式会社
電源装置
22日前
ローム株式会社
半導体装置
29日前
株式会社東芝
端子台
22日前
株式会社GSユアサ
蓄電設備
1か月前
株式会社GSユアサ
蓄電装置
23日前
株式会社GSユアサ
蓄電装置
23日前
株式会社GSユアサ
蓄電設備
1か月前
株式会社GSユアサ
蓄電装置
15日前
太陽誘電株式会社
コイル部品
1か月前
株式会社GSユアサ
蓄電装置
1日前
株式会社ホロン
冷陰極電子源
1か月前
富士電機株式会社
電磁接触器
1日前
三菱電機株式会社
回路遮断器
9日前
オムロン株式会社
電磁継電器
1か月前
ノリタケ株式会社
熱伝導シート
1か月前
トヨタ自動車株式会社
蓄電装置
1か月前
日東電工株式会社
積層体
1か月前
トヨタ自動車株式会社
バッテリ
1か月前
日新イオン機器株式会社
基板処理装置
25日前
サクサ株式会社
電池の固定構造
1か月前
トヨタ自動車株式会社
冷却構造
1か月前
日本特殊陶業株式会社
保持装置
1か月前
トヨタ自動車株式会社
バッテリ
28日前
北道電設株式会社
配電具カバー
28日前
トヨタ自動車株式会社
蓄電装置
23日前
日本特殊陶業株式会社
保持装置
14日前
トヨタ自動車株式会社
電池パック
1か月前
続きを見る
他の特許を見る