TOP
|
特許
|
意匠
|
商標
特許ウォッチ
Twitter
他の特許を見る
公開番号
2025169892
公報種別
公開特許公報(A)
公開日
2025-11-14
出願番号
2025065348
出願日
2025-04-11
発明の名称
ハウジング
出願人
ドイツ アクチェンゲゼルシャフト
代理人
個人
,
個人
主分類
H01M
50/291 20210101AFI20251107BHJP(基本的電気素子)
要約
【課題】隣接する要素に対して取り付けが可能で且つ高い耐久性を有するハウジングを提供する。
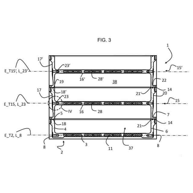
【解決手段】長手方向軸(L_2)に沿って延びる柱状の第1ハウジング要素(2)を有し、この第1ハウジング要素(2)は第1支持面を跨ぐ支持部が延びる第1側壁と第2側壁とを有し、第1ハウジング要素(2)に接続される第2ハウジング要素(15)を有し、第1ハウジング要素(2)と第2ハウジング要素(15)とによって第1ハウジング室が画定されるハウジング(1)であって、このハウジング(1)を第1ネジを介して隣接する要素に対して支持するための支持要素(29)を有し、第1ネジは第1ハウジング要素(2)のネジ穴に係合し、このネジ穴は少なくとも部分的に第1支持面とネジ穴軸内に配置され、ボアは第1支持面と平行に配置される。
【選択図】図1
特許請求の範囲
【請求項1】
長手方向軸線に沿って延びた底面を有する角柱状の第1ハウジング要素を有し、この第1ハウジング要素は第1長手方向側面に第1側壁を有し、第2長手方向側面に第2側壁を有し、これら側壁の間を支持部が延び、この支持部は第1支持面を跨ぎ、支持部(3)から間隔をあけて長手方向軸に対して横方向に配置された第2ハウジング要素を有し、この第2ハウジング要素は第1ハウジング要素に接続され、第1ハウジング要素と第2ハウジング要素とによって第1ハウジング室が画定されるハウジング、特にエネルギー貯蔵装置用のハウジングにおいて、
隣接する要素に対してハウジングを支持するための支持要素が第1ネジを介して第1ハウジング要素に接続可能であり、第1ネジが第1ハウジング要素のネジ穴に係合し、このネジ穴は、少なくとも部分的に第1支持面内に配置され、このネジ穴の穴軸線が第1支持面と平行に配置されるハウジング。
続きを表示(約 1,200 文字)
【請求項2】
第2ハウジング要素が長手軸に平行な方向に延びる角柱状に設計された底面を有し、第2ハウジング要素が第1長手方向に第1側壁を有し、第2長手方向に第2側壁を有し、これらの間に支持部が延び、この支持部は第2支持面にまたがり、支持要素は第2ネジを介して第2ハウジング要素に接続可能であり、上記第1ネジは第2ハウジング要素のネジ穴に係合し、このネジ穴は少なくとも部分的に第2支持面に配置され、このネジ穴の穴軸線は第2支持面と平行である請求項1に記載のハウジング。
【請求項3】
長手軸線に平行な方向に延びる角柱状に設計され底面を有する第3ハウジング要素を有し、この第3ハウジング要素は第1長手側面に第1側壁を有し、第2長手側面に第2側壁を有し、これらの間を第3支持面にまたがる支持部が延び、第3ハウジング要素は第2ハウジング要素の支持部から長手軸線を横切る方向に離間し、第2ハウジング要素と第3ハウジング要素とによって第2ハウジング室が画定されるように第2ハウジング要素に接続されている請求項1に記載のハウジング。
【請求項4】
第2ハウジング要素および第3ハウジング要素が同一の角柱形状または同一の角柱底面を有する請求項3に記載のハウジング。
【請求項5】
第3ハウジング要素がネジ穴を備え、このネジ穴が少なくとも部分的に第3支持面内に配置され、このネジ穴の穴軸線が第3支持面と平行に配置されている請求項3に記載のハウジング。
【請求項6】
第2ハウジング要素のネジ穴が第1ネジおよび第2ネジと相補的であり、第3ハウジング要素のネジ穴が第2ネジと相補的である請求項5に記載のハウジング。
【請求項7】
第1支持面、第2支持面および第3支持面が平行に配置され、第1支持面と第2支持面との間の距離が、第2支持面と第3支持面との間の距離に等しい請求項3に記載のハウジング。
【請求項8】
支持要素が第1ハウジング要素の第1側壁に当接し、および/または、第2ハウジング要素の第1側壁に当接する接続部を有する請求項2に記載のハウジング。
【請求項9】
支持要素の接続部が第1嵌合部と第2嵌合部とを有し、
第1ハウジング要素が凹部を有し、
第2ハウジング要素が凹部を有し、
第3ハウジング要素が凹部を有し、
第1ハウジング要素の凹部が第1嵌合部と相補的であり、
第2ハウジング要素の凹部が第1嵌合部と第2嵌合部と相補的であり、
第3ハウジング要素の凹部が第2嵌合部と相補的である請求項8に記載のハウジング。
【請求項10】
支持要素が支持部を有し、この支持部を介して支持要素が隣接する要素と接触することができ、この支持部は接続部に対して横方向に延びている請求項8に記載のハウジング。
(【請求項11】以降は省略されています)
発明の詳細な説明
【技術分野】
【0001】
本発明はハウジング、特にエネルギー貯蔵装置用のハウジングに関するものである。
続きを表示(約 1,500 文字)
【背景技術】
【0002】
エネルギー貯蔵装置のハウジングの目的は、エネルギー貯蔵装置を収容して、それを環境の影響から保護することにある。エネルギー貯蔵装置用のハウジングは個々の電池間または電気負荷への電気エネルギーの伝送のためのインターフェースを備えることができる。
【0003】
〔特許文献1〕(ドイツ特許公開第DE102022000414A1号公報)には互いに積み重ねられた複数の角柱状のハウジング要素を備えたエネルギー貯蔵装置用のハウジングが開示されている。ハウジング要素にはハウジングの前面にカバー要素が溶接され、このカバー要素に支持要素のための接続部が形成されている。
【先行技術文献】
【特許文献】
【0004】
ドイツ特許公開第DE 10 2022 000 414 A1号公報
【発明の概要】
【発明が解決しようとする課題】
【0005】
本発明の目的は、隣接する要素に対して取り付けが可能で且つ高い耐久性を有するハウジングを提供することにある。
【課題を解決するための手段】
【0006】
上記目的を達成するために提供される本発明のハウジング、特にエネルギー貯蔵装置用のハウジングは、長手軸線に沿って延びる底面を有する角柱(prism)形状の第1ハウジング要素を有し、このハウジング要素は第1長手側面に第1側壁と、第2長手側面に第2側壁とを有し、第1側壁と第2側壁との間に第1支持面を跨ぐ支持部が延び、長手軸に対して横方向に支持部から離間して配置された第2ハウジング要素が第1ハウジング要素に接続され、第1ハウジング要素と第2ハウジング要素とによって第1ハウジング室が画定されるハウジングにおいて、ハウジングを隣接する要素に対して支持するための支持要素は第1ネジを介して第1ハウジング要素に接続可能であり、この第1ネジは第1ハウジング要素のネジ穴に係合し、ネジ穴は少なくとも部分的に第1支持面内に配置され、ネジ穴の穴軸は第1支持面と平行に配置される。
【0007】
上記ハウジングは支持要素からハウジングに作用する支持力が支持部によって直接支持されるという利点を有する。これにより、支持力によって応力を受ける溶接継ぎ目などの追加の接合部が不要になる。全体として、ハウジングの耐久性が向上する。
【0008】
角柱(prism、プリズム)形状とは、平面状のベース面をこの平面状のベース面に対して横方向に延びる軸に沿って平行移動または押し出し加工することによって形成される幾何学的物体として定義される。この角柱(プリズム)は例えば多角形成形開口部を介した押し出し加工によって製造される。この点でハウジング要素は押し出し加工または押角柱(prism、プリズム)形状のハウジング要素とは、ハウジング要素がプリズム状の基本形状を有し、この基本形状に後で機械加工が施され、その結果、ハウジング要素が少なくとも部分的にプリズム状になることも理解されるべきである。この点で、ハウジング要素は押し出し加工または押し出し成形によって製造され、その後に機械加工が施される。
【0009】
ハウジング要素の長手方向側面とは、長手方向軸線に平行に配置されたハウジング要素の側面と理解されるべきである。従って、ハウジング要素の前面は、長手方向軸線および長手方向側面に対して横方向に配置されている。従って、前面は交差面とも呼ばれる。
【0010】
本出願に記載された支持部はそれぞれ支持面がそれぞれの支持部の断面積の幾何学的重心を通過するように、支持面をまたいで配置される。
(【0011】以降は省略されています)
この特許をJ-PlatPat(特許庁公式サイト)で参照する
関連特許
APB株式会社
蓄電セル
27日前
東ソー株式会社
絶縁電線
29日前
個人
フレキシブル電気化学素子
1か月前
株式会社ユーシン
操作装置
1か月前
日新イオン機器株式会社
イオン源
1か月前
マクセル株式会社
電源装置
21日前
ローム株式会社
半導体装置
28日前
株式会社東芝
端子台
21日前
株式会社GSユアサ
蓄電装置
今日
太陽誘電株式会社
コイル部品
1か月前
株式会社ホロン
冷陰極電子源
1か月前
株式会社GSユアサ
蓄電装置
22日前
オムロン株式会社
電磁継電器
1か月前
株式会社GSユアサ
蓄電装置
22日前
株式会社GSユアサ
蓄電装置
14日前
株式会社GSユアサ
蓄電設備
1か月前
富士電機株式会社
電磁接触器
今日
株式会社GSユアサ
蓄電設備
1か月前
三菱電機株式会社
回路遮断器
8日前
ノリタケ株式会社
熱伝導シート
1か月前
トヨタ自動車株式会社
バッテリ
1か月前
トヨタ自動車株式会社
冷却構造
29日前
トヨタ自動車株式会社
バッテリ
27日前
日本特殊陶業株式会社
保持装置
1か月前
トヨタ自動車株式会社
蓄電装置
22日前
トヨタ自動車株式会社
蓄電装置
1か月前
日新イオン機器株式会社
基板処理装置
24日前
サクサ株式会社
電池の固定構造
1か月前
日本特殊陶業株式会社
保持装置
13日前
日東電工株式会社
積層体
1か月前
北道電設株式会社
配電具カバー
27日前
株式会社ダイヘン
搬送装置
1か月前
矢崎総業株式会社
コネクタ
今日
日本製紙株式会社
導電性フィルム
1か月前
ベストテック株式会社
装置支持具
1か月前
住友電装株式会社
コネクタ
29日前
続きを見る
他の特許を見る