TOP
|
特許
|
意匠
|
商標
特許ウォッチ
Twitter
他の特許を見る
10個以上の画像は省略されています。
公開番号
2025169778
公報種別
公開特許公報(A)
公開日
2025-11-14
出願番号
2024074887
出願日
2024-05-02
発明の名称
ライティングダクト支持金具
出願人
ネグロス電工株式会社
代理人
個人
主分類
H01R
25/14 20060101AFI20251107BHJP(基本的電気素子)
要約
【課題】 レースウェイなどの支持材を傷つけることなく任意の位置にライティングダクトを取り付けることが可能なライティングダクト支持金具を提供する。
【解決手段】 ライティングダクト支持金具1は、レースウェイRの下方に配置され、ライティングダクトLの上面部を保持する金具本体2と、金具本体2に保持されるナット4と、一端が底板部31に接続され、他端がレースウェイRの両側面に沿ってリップ部R2まで達する一対の側板部32と、リップ部R2に引っ掛けられる一対の爪部33と、を備え、ライティングダクトLの取付孔L3にネジ5を挿入してナット4に螺合することにより、ライティングダクトLをレースウェイRに取り付ける。
【選択図】図5
特許請求の範囲
【請求項1】
断面が略コ字状で開口部の両端縁から互いに対向するリップ部が設けられた長尺状の支持材の下方に、断面が略コ字状で長尺状のライティングダクトを開口側が下方を向くように取り付けるライティングダクト支持金具であって、
前記支持材の下方に配置され、前記ライティングダクトの上面部を保持するダクト保持部と、
前記ダクト保持部に設けられた雌ネジ部と、
前記ダクト保持部に一端が接続され、他端が前記支持材の両側面に沿って前記リップ部まで達する一対の側板部と、
前記一対の側板部の他端にそれぞれ設けられ、前記リップ部に引っ掛けられる一対の爪部と、
を備え、
前記ライティングダクトの上面に設けられた取付孔に前記開口側から雄ネジを挿入し、挿入した前記雄ネジを前記雌ネジ部に螺合することにより、前記ライティングダクトを前記支持材に取り付ける、
ことを特徴とするライティングダクト支持金具。
続きを表示(約 1,100 文字)
【請求項2】
前記ダクト保持部の一部を構成する金具本体と、
前記金具本体に装着されて前記ダクト保持部の一部を構成する底板部と、前記一対の側板部と、前記一対の爪部と、が一体に設けられた補助金具と、
前記金具本体に装着されて前記雌ネジ部を構成するナットと、
を備えることを特徴とする請求項1に記載のライティングダクト支持金具。
【請求項3】
前記金具本体は、透明である、
ことを特徴とする請求項2に記載のライティングダクト支持金具。
【請求項4】
断面が略コ字状で開口部の両端縁から互いに対向するリップ部が設けられた長尺状の支持材の下方に、断面が略コ字状で長尺状のライティングダクトを前記支持材と並列状態で取り付けるライティングダクト支持金具であって、
前記支持材に係合する補助金具と、
前記ライティングダクトを支持する金具本体と、を備え、
前記補助金具は、
底板部と、
前記底板部に一端が接続され、他端が前記支持材の両側面に沿って延設される一対の側板部と、
前記一対の側板部の他端にそれぞれ設けられ、前記リップ部に引っ掛け可能な一対の爪部と、を備え、
前記金具本体は、
ベース部と、
前記ベース部の両端部に設けられた一対のダクト支持部と、を備え、
前記一対の側板部と前記一対のダクト支持部とが互いに相反する方向に向かって延設され、かつ、前記一対の側板部により挟持される支持材と、前記一対のダクト支持部により支持される前記ライティングダクトとが双方の長手方向が一致した並列状態で支持されるように前記底板部と前記ベース部とを合わせて結合するライティングダクト支持金具。
【請求項5】
断面が略コ字状で開口部の両端縁から互いに対向するリップ部が設けられた長尺状の支持材の下方に、断面が略コ字状で長尺状のライティングダクトを前記支持材と並列状態で取り付けるライティングダクト支持金具であって、
前記支持材に係合する補助金具と、
前記ライティングダクトを支持する金具本体と、を備え、
前記補助金具は、
底板部と、
前記底板部に一端が接続され、他端が前記支持材の両側面に沿って延設される一対の側板部と、
前記一対の側板部の他端にそれぞれ設けられ、前記リップ部に引っ掛け可能な一対の爪部と、を備え、
前記金具本体は
ベース部と、
前記ベース部の中央に雄ネジが入る挿入孔、を備え、
前記支持材と、前記ライティングダクトとの双方の長手方向が一致した並列状態で支持できるライティングダクト支持金具。
発明の詳細な説明
【技術分野】
【0001】
本発明は、支持材にライティングダクトを取り付けるための支持金具に関する。
続きを表示(約 2,200 文字)
【背景技術】
【0002】
照明器具をダクト上の任意の位置に取り付けることが可能なライティングダクトが知られている(例えば、特許文献1の図1参照)。従来、このようなライティングダクトを店舗などの天井から吊り下げられたレースウェイに取り付ける際には、ライティングダクトの上面に設けられた取付孔にタッピングネジを挿入し、挿入したタッピングネジをレースウェイの底面にねじ込んで取り付けている。
【先行技術文献】
【特許文献】
【0003】
特開昭51-127398号公報
【発明の概要】
【発明が解決しようとする課題】
【0004】
しかしながら、上述した従来のライティングダクトの取付方法では、取付対象となるレースウェイなどの支持材にタッピングネジを抜いた後の孔が残るため、見た目上よくない。また、レースウェイなどの支持材に対しライティングダクトを取り付け直す場合には、タッピングネジを抜いて再度ねじ込まなければならないため、手間がかかる。さらに、取付対象がレースウェイの場合、レースウェイ内にタッピングネジの先端が突出するため、レースウェイ内に収容した配線がタッピングネジにより傷つけられるおそれがあった。
【0005】
そこで本発明は、レースウェイなどの支持材を傷つけることなく任意の位置にライティングダクトを取り付けることが可能なライティングダクト支持金具を提供することを目的とする。
【課題を解決するための手段】
【0006】
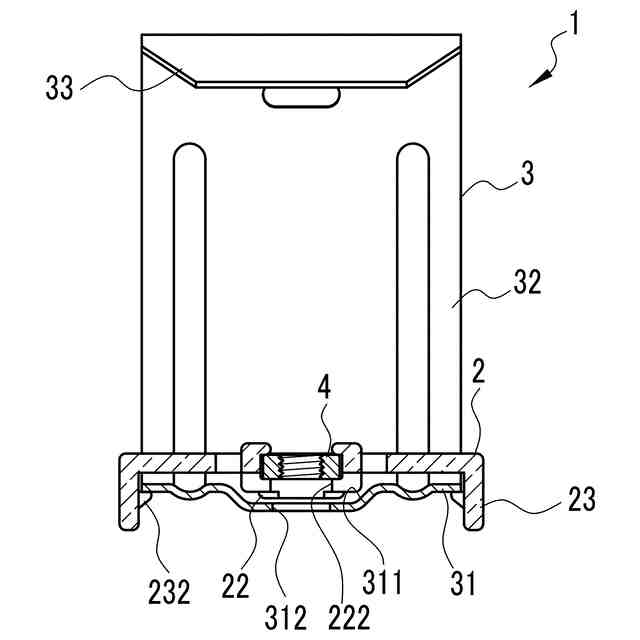
上記課題を解決するために、請求項1に記載の発明は、断面が略コ字状で開口部の両端縁から互いに対向するリップ部が設けられた長尺状の支持材の下方に、断面が略コ字状で長尺状のライティングダクトを開口側が下方を向くように取り付けるライティングダクト支持金具であって、前記支持材の下方に配置され、前記ライティングダクトの上面部を保持するダクト保持部と、前記ダクト保持部に設けられた雌ネジ部と、前記ダクト保持部に一端が接続され、他端が前記支持材の両側面に沿って前記リップ部まで達する一対の側板部と、前記一対の側板部の他端にそれぞれ設けられ、前記リップ部に引っ掛けられる一対の爪部と、を備え、前記ライティングダクトの上面に設けられた取付孔に前記開口側から雄ネジを挿入し、挿入した前記雄ネジを前記雌ネジ部に螺合することにより、前記ライティングダクトを前記支持材に取り付ける、ことを特徴とするライティングダクト支持金具である。
【0007】
請求項2に記載の発明は、請求項1に記載のライティングダクト支持金具であって、前記ダクト保持部の一部を構成する金具本体と、前記金具本体に装着されて前記ダクト保持部の一部を構成する底板部と、前記一対の側板部と、前記一対の爪部と、が一体に設けられた補助金具と、前記金具本体に装着されて前記雌ネジ部を構成するナットと、を備えることを特徴とする。
【0008】
請求項3に記載の発明は、請求項2に記載のライティングダクト支持金具であって、前
記金具本体は、透明である、ことを特徴とする。
【0009】
請求項4に記載の発明は、断面が略コ字状で開口部の両端縁から互いに対向するリップ部が設けられた長尺状の支持材の下方に、断面が略コ字状で長尺状のライティングダクトを前記支持材と並列状態で取り付けるライティングダクト支持金具であって、前記支持材に係合する補助金具と、前記ライティングダクトを支持する金具本体と、を備え、前記補助金具は、底板部と、前記底板部に一端が接続され、他端が前記支持材の両側面に沿って延設される一対の側板部と、前記一対の側板部の他端にそれぞれ設けられ、前記リップ部に引っ掛け可能な一対の爪部と、を備え、前記金具本体は、ベース部と、前記ベース部の両端部に設けられた一対のダクト支持部と、を備え、前記一対の側板部と前記一対のダクト支持部とが互いに相反する方向に向かって延設され、かつ、前記一対の側板部により挟持される支持材と、前記一対のダクト支持部により支持される前記ライティングダクトとが双方の長手方向が一致した並列状態で支持されるように前記底板部と前記ベース部とを合わせて結合するライティングダクト支持金具である。
【0010】
請求項5に記載の発明は、断面が略コ字状で開口部の両端縁から互いに対向するリップ部が設けられた長尺状の支持材の下方に、断面が略コ字状で長尺状のライティングダクトを前記支持材と並列状態で取り付けるライティングダクト支持金具であって、前記支持材に係合する補助金具と、前記ライティングダクトを支持する金具本体と、を備え、前記補助金具は、底板部と、前記底板部に一端が接続され、他端が前記支持材の両側面に沿って延設される一対の側板部と、前記一対の側板部の他端にそれぞれ設けられ、前記リップ部に引っ掛け可能な一対の爪部と、を備え、前記金具本体はベース部と、前記ベース部の中央に雄ネジが入る挿入孔、を備え、前記支持材と、前記ライティングダクトとの双方の長手方向が一致した並列状態で支持できるライティングダクト支持金具である。
【発明の効果】
(【0011】以降は省略されています)
この特許をJ-PlatPat(特許庁公式サイト)で参照する
関連特許
ネグロス電工株式会社
取付金具
1か月前
ネグロス電工株式会社
ライティングダクト支持金具
7日前
東ソー株式会社
絶縁電線
1か月前
APB株式会社
蓄電セル
28日前
株式会社東芝
端子台
22日前
マクセル株式会社
電源装置
22日前
ローム株式会社
半導体装置
29日前
株式会社GSユアサ
蓄電装置
1日前
株式会社GSユアサ
蓄電装置
23日前
株式会社GSユアサ
蓄電装置
23日前
株式会社GSユアサ
蓄電装置
15日前
三菱電機株式会社
回路遮断器
9日前
富士電機株式会社
電磁接触器
1日前
北道電設株式会社
配電具カバー
28日前
トヨタ自動車株式会社
バッテリ
28日前
トヨタ自動車株式会社
蓄電装置
23日前
日新イオン機器株式会社
基板処理装置
25日前
トヨタ自動車株式会社
冷却構造
1か月前
日本特殊陶業株式会社
保持装置
14日前
日本特殊陶業株式会社
保持装置
1か月前
ローム株式会社
半導体モジュール
2日前
住友電装株式会社
コネクタ
1か月前
住友電装株式会社
コネクタ
1日前
甲神電機株式会社
変流器及び零相変流器
16日前
矢崎総業株式会社
コネクタ
1日前
株式会社デンソー
電子装置
25日前
トヨタ自動車株式会社
密閉型電池
24日前
株式会社レゾナック
冷却器
9日前
ヒロセ電機株式会社
電気コネクタ
1日前
日本無線株式会社
レーダアンテナ
16日前
日亜化学工業株式会社
半導体レーザ素子
25日前
ローム株式会社
半導体装置
1か月前
株式会社デンソー
熱交換部材
16日前
株式会社デンソー
半導体装置
1日前
株式会社東芝
高周波回路
1か月前
マクセル株式会社
扁平形電池
29日前
続きを見る
他の特許を見る