TOP
|
特許
|
意匠
|
商標
特許ウォッチ
Twitter
他の特許を見る
公開番号
2025151312
公報種別
公開特許公報(A)
公開日
2025-10-09
出願番号
2024052654
出願日
2024-03-28
発明の名称
取付金具
出願人
ネグロス電工株式会社
代理人
個人
,
個人
主分類
F21V
21/34 20060101AFI20251002BHJP(照明)
要約
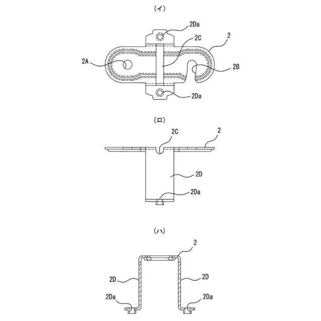
【課題】ワイヤーメッシュ天井やケーブルラックの子桁などの取付け場所に合わせて防犯カメラ・感知器・照明器具等を取付けることが可能な取付け金具を提供する。
【解決手段】ワイヤーP1又はケーブルラックの子桁P2を取付対象Pとする。監視カメラ、感知器、照明等の器具を取付対象Pとする。器具を装着する取付ベース1を設ける。取付ベース1の上面に板状の取付片2を固定する。ワイヤーP1の上面に係止するプレート部材3Aを設ける。子桁P2の上面に係止するU字ボルト3Bを設ける。U字ボルト3B又はプレート部材3Aを取付片2にネジ止めする。
【選択図】 図1
特許請求の範囲
【請求項1】
監視カメラ、感知器、照明等の器具を取付対象に取付けるための取付金具であって、
該器具と結合する取付ベースと、
前記取付対象を該取付ベースと共に挟んで挟持する挟持金具と、
前記取付ベースと該挟持金具を締結するための締結部材と、
を備えた取付金具。
続きを表示(約 1,300 文字)
【請求項2】
前記取付ベースは、前記挟持金具に対向して前記取付対象を挟む板状の取付片を備え、該取付片は、挟持金具を取付片にネジ止めするための1の丸穴と1の切り欠きを備えた請求項1に記載の取付金具。
【請求項3】
前記取付対象は線状材が交差した網目状構造体であり、
前記挟持金具はプレート部材であり、
該プレート部材を、線状材が交差した交差部位にかぶせた状態、または、複数の線状材にまたがってかぶせた状態で前記取付ベースと共に網目状構造体を挟んで挟持する請求項1または2に記載の取付金具。
【請求項4】
前記網目状構造体がワイヤーメッシュ天井であり、
前記取付ベースは、前記プレート部材に対向してワイヤーメッシュ天井を挟む板状の取付片を備え、
前記プレート部材と前記取付片の少なくとも一方には、ワイヤーメッシュ天井を構成するワイヤーがはまり込む嵌合溝が形成されている請求項3に記載の取付金具。
【請求項5】
前記取付対象が断面略矩形状構造体であり、
前記挟持金具がU字ボルトであり、
該U字ボルトを断面略矩形状構造体にまたがせた状態で前記取付ベースと共に挟んで挟持する請求項1または2に記載の取付金具。
【請求項6】
前記取付対象がケーブルラックの子桁であり、
前記U字ボルトがU字ボルトであり、
前記取付ベースは、該U字ボルトに対向して前記取付対象を挟む取付片を備え、
該取付片にU字ボルトを結合させる請求項5に記載の取付金具。
【請求項7】
異なる前記取付対象に適応した前記挟持金具を複数種類備え、前記取付対象に応じて前記挟持金具を交換可能な請求項1または2に記載の取付金具。
【請求項8】
ワイヤーメッシュ天井のワイヤー又はケーブルラックの子桁を取付対象とし、監視カメラ、感知器、照明等の器具を取付対象に取付けるための取付金具であって、
前記器具を下面に装着する取付ベースと、取付ベースの上面に固定され、前記ワイヤー又は前記子桁の下面に当接する板状の取付片と、前記ワイヤー又は前記子桁の上面に係止する挟持金具とを備え、
該挟持金具は、前記ワイヤーに係止して連結ボルトでねじ止めするプレート部材と、前記子桁に係止するU字ボルトと、を備え、
前記取付対象に応じてプレート部材又はU字ボルトを選択して取付片にネジ止めすることを特徴とする取付け金具。
【請求項9】
前記取付片は、前記ワイヤーを嵌合する嵌合溝を備え、前記プレート部材は、嵌合溝に嵌合した前記ワイヤーの上に交差する他の前記ワイヤーを上から包持する包持部を備えた請求項8記載の取付け金具。
【請求項10】
前記取付片に丸穴と切り欠きとを形成し、前記プレート部材又は前記U字ボルトを前記取付片にネジ止めするように構成し、丸穴に前記連結ボルト又は前記U字ボルトを仮止めし、切り欠きに前記連結ボルト又は前記U字ボルトを側面から挿入するように構成した請求項8記載の取付け金具。
発明の詳細な説明
【技術分野】
【0001】
本発明は、例えば、ワイヤーメッシュ天井やケーブルラックの子桁へ防犯カメラ・感知器・照明器具等を取付け可能にする取付金具に関するものである。
続きを表示(約 1,000 文字)
【背景技術】
【0002】
防犯用のカメラを取り付ける防犯カメラ取付構造が特許文献1に記載されている。この取付構造は、エレベーターのかご室の側面13に取り付けられるボルト12が溶接された略L字形状のブラケット8を使用する構造である。
【0003】
このような取付け構造により、既設のエレベーターのかご室に防犯用カメラを取り付けることができるというものである。
【0004】
一方、メッシュパネルの取付構造が特許文献2に記載されている。この取付構造は、塀面等にメッシュパネルを取り付ける構造で、正面基板41と背面基板43とを備えた取付金具4を使用して塀面にメッシュパネルを固定する構造である。
【0005】
この連結構造により、塀面等に空隙を介して添設するメッシュパネルの連結固定を、選択的になし得るというものである。
【先行技術文献】
【特許文献】
【0006】
特開2000-103580号公報
特許第5731222号公報
【発明の概要】
【発明が解決しようとする課題】
【0007】
特許文献1に記載の防犯カメラ取付構造は、略L字形状のブラケット8を使用することでエレベーターのかご室に防犯用カメラを取り付けることができる。ところが、このブラケット8を他の施設に取付けることは困難である。
【0008】
すなわち、躯体工事で防犯カメラ等を取付ける場合は、ワイヤーメッシュ天井やケーブルラックの子桁などに装着される。ところが、特許文献1のブラケット8では、かご室等の壁面専用に構成されているので汎用性がなく、異なった取付け場所に取付けることはできない構造である。
【0009】
また、特許文献2に記載の取付構造は、塀面等にメッシュパネルを固定する構造である。そのため、このメッシュパネルに防犯カメラ・感知器・照明器具等を取付けることは全く考慮されていない。
【0010】
一方、躯体工事等に使用されるワイヤーメッシュ天井は、ワイヤーの線径やワイヤー線ピットが多種にわたる。そのため、ワイヤーメッシュ天井に、防犯カメラ・感知器・照明器具等を取付ける場合は、現場合わせによる特注製作や現場加工が必要になっている。
(【0011】以降は省略されています)
この特許をJ-PlatPat(特許庁公式サイト)で参照する
関連特許
ネグロス電工株式会社
取付金具
7日前
個人
室外機器
4か月前
個人
照明システム
3か月前
個人
気泡を用いた遊具。
5か月前
個人
車載機器の通気構造
1か月前
株式会社遠藤照明
照明器具
4か月前
株式会社遠藤照明
照明装置
27日前
デンカ株式会社
照明装置
4か月前
個人
LEDライト
3か月前
株式会社小糸製作所
車両用灯具
9日前
株式会社小糸製作所
車両用灯具
9日前
能美防災株式会社
表示灯
1か月前
デンカ株式会社
道路用照明
4か月前
株式会社小糸製作所
投光装置
1か月前
フルトラム株式会社
光学機器
8日前
株式会社小糸製作所
投光装置
1か月前
スタンレー電気株式会社
照射用光源
13日前
アクア株式会社
冷蔵庫
2か月前
株式会社小糸製作所
誘導装置
20日前
株式会社小糸製作所
車両用灯具
6か月前
株式会社小糸製作所
車両用灯具
4か月前
株式会社小糸製作所
車両用灯具
4か月前
株式会社小糸製作所
車両用灯具
4か月前
株式会社小糸製作所
車両用灯具
3か月前
株式会社小糸製作所
車両用灯具
4か月前
株式会社小糸製作所
車両用灯具
6か月前
株式会社小糸製作所
表示用灯具
13日前
株式会社小糸製作所
車両用灯具
3か月前
株式会社小糸製作所
描画用灯具
6か月前
株式会社小糸製作所
車両用灯具
6か月前
株式会社小糸製作所
表示用灯具
13日前
株式会社小糸製作所
車両用灯具
4か月前
株式会社小糸製作所
車両用灯具
3か月前
株式会社小糸製作所
車両用灯具
6か月前
スタンレー電気株式会社
照明装置
13日前
三協立山株式会社
照明付きポール
2か月前
続きを見る
他の特許を見る