TOP
|
特許
|
意匠
|
商標
特許ウォッチ
Twitter
他の特許を見る
公開番号
2025170498
公報種別
公開特許公報(A)
公開日
2025-11-19
出願番号
2024075109
出願日
2024-05-07
発明の名称
微生物燃料電池及びその製造方法
出願人
株式会社Cell-En
代理人
個人
主分類
H01M
8/16 20060101AFI20251112BHJP(基本的電気素子)
要約
【課題】
課題は、電流値が高く、かつ安全性に配慮した簡便な発電菌を含む微生物燃料電池及びその製造方法を提供することである。
【解決手段】
発電装置容器内において、発電菌と、導電性材料と、培地成分とを含む菌類含有培地を形成する工程と、前記発電装置容器内に、アノード及びカソードを配置する工程とを含む、微生物燃料電池の製造方法。
【選択図】なし
特許請求の範囲
【請求項1】
発電装置容器内において、発電菌と、導電性材料と、培地成分とを含む菌類含有培地を形成する工程と、
前記発電装置容器内に、アノード及びカソードを配置する工程とを含む、微生物燃料電池の製造方法。
続きを表示(約 710 文字)
【請求項2】
前記導電性材料が、導電性炭素繊維及び導電性カーボンブラックの少なくとも一種を含む、請求項1に記載の微生物燃料電池の製造方法。
【請求項3】
前記菌類含有培地は、複数種の導電性材料を共存させる、請求項1に記載の微生物燃料電池の製造方法。
【請求項4】
前記菌類含有培地が菌類含有ゲル状培地である、請求項1に記載の微生物燃料電池の製造方法。
【請求項5】
燃料電池容器内にさらに電解質層を配置する工程と、
前記アノードは前記菌類含有培地に接触するように配置する工程と、
前記カソードは前記電解質層に接触するように配置する工程とを含む、請求項1に記載の製造方法。
【請求項6】
発電装置容器と、
前記発電装置容器内に、発電菌と、導電性材料と、培地成分とを含む菌類含有培地と、
電解質層と、
前記菌類含有培地に接触するように配置されるアノードと、
前記電解質層に接触するように配置されるカソードとを備える微生物燃料電池。
【請求項7】
前記導電性材料が、導電性炭素繊維及び導電性カーボンブラックの少なくとも一種である、請求項6に記載の微生物燃料電池。
【請求項8】
前記菌類含有培地及び前記電解質層のいずれもゲル状である、請求項6に記載の微生物燃料電池。
【請求項9】
発電菌を含有する微生物燃料電池において、導電性材料を発電菌と共存させることにより、前記微生物燃料電池の内部の抵抗を減少させ、得られる電流値を増加させる、電流値増加方法。
発明の詳細な説明
【技術分野】
【0001】
本発明は、導電性材料を含む微生物燃料電池及びその製造方法に関する。
続きを表示(約 2,100 文字)
【背景技術】
【0002】
微生物燃料電池(Microbial fuel cell,MFC)とは、微生物が有機物を酸化分解(代謝)する際に発生する還元力(電子)を電流として取り出すことにより発電する微生物発電装置である。
MFCはアノード(マイナス極)とカソード(プラス極)から成り、アノードでは、有機物が微生物により分解されて発生する電子を回収する。回収された電子は外部回路を経てカソードにわたり、カソードではO
2
と電子、H
+
(アノードで有機物の分解の際に発生した)が反応してH
2
Oになる。MFCではこのアノード反応とカソード反応の電位差により電流が生じて電気エネルギーを得ることができる。
【0003】
このような微生物発電装置として廃水中の有機物を微生物によって分解する浄化処理と組合せ浄化処理を行いつつ発電を行う発電システム(特許文献1参照)や廃棄物バイオマスからエネルギー回収を可能にする発電システム(特許文献2参照)、水田などに生息している生物を利用した発電システムが試みられている。また、特許文献3にはエコロジー意識の啓発を図ることができる、微生物発電応用装置が開示されている。
【0004】
特許文献1,2に記載の微生物発電装置は、廃水浄化処理や廃棄物バイオマス活用を前提としており、発電微生物の供給源は、廃棄物等からなる有機物を含む液体である。また、有機物の成分の特定や標準化はなされていない。特許文献3に記載の微生物発電装置や水田などに生息している生物を利用した発電システムでは、発電微生物の供給源は土や泥であり、泥や土を必要とする。泥や土を必要とするため活用が限定されてしまう。微生物発電は地球環境に配慮した発電方法であるため、より広く活用されるよう、簡便な微生物燃料電池の開発が期待されている。また、電解液の導電率は電離した電解質の濃度と電解液の粘度に左右されるものであるが、その特性上、微生物燃料電池において、得られる電流値は高いものではない。
【先行技術文献】
【特許文献】
【0005】
特開2006-81963号公報
特開2023-41694号公報
特開2018-181581号公報
【発明の概要】
【発明が解決しようとする課題】
【0006】
本発明の目的は、電流値が高く、かつ安全性に配慮した簡便な微生物燃料電池を提供することである。
【課題を解決するための手段】
【0007】
本発明者らは鋭意検討の結果、導電性材料を含む微生物燃料電池が上記課題を解決することを見出し、本発明に到達した。
【0008】
すなわち、本発明は以下を包含する。
[1] 発電装置容器内において、発電菌と、導電性材料と、培地成分とを含む菌類含有培地を形成する工程と、
前記発電装置容器内に、アノード及びカソードを配置する工程とを含む、微生物燃料電池の製造方法。
[2] 前記導電性材料が、導電性炭素繊維及び導電性カーボンブラックの少なくとも一種を含む、請求項1に記載の微生物燃料電池の製造方法。
[3] 前記菌類含有培地は、複数種の導電性材料を共存させる、[1]に記載の微生物燃料電池の製造方法。
[4] 前記菌類含有培地が菌類含有ゲル状培地である、[1]に記載の微生物燃料電池の製造方法。
[5] 燃料電池容器内にさらに電解質層を配置する工程と、
前記アノードは前記菌類含有培地に接触するように配置する工程と、
前記カソードは前記電解質層に接触するように配置する工程とを含む、[1]に記載の製造方法。
[6] 発電装置容器と、
前記発電装置容器内に、発電菌と、導電性材料と、培地成分とを含む菌類含有培地と、
電解質層と、
前記菌類含有培地に接触するように配置されるアノードと、
前記電解質層に接触するように配置されるカソードとを備える微生物燃料電池。
[7] 前記導電性材料が、導電性炭素繊維及び導電性カーボンブラックの少なくとも一種である、[6]に記載の微生物燃料電池。
[8] 前記菌類含有培地及び前記電解質層のいずれもゲル状である、[6]に記載の微生物燃料電池。
[9] 発電菌を含有する微生物燃料電池において、導電性材料を発電菌と共存させることにより、前記微生物燃料電池の内部の抵抗を減少させ、得られる電流値を増加させる、電流値増加方法。
【発明の効果】
【0009】
微生物燃料電池は簡便で安全、かつ電流値が高いため、地球環境に配慮した発電方法である微生物発電をより広く活用することが出来る。
【図面の簡単な説明】
【0010】
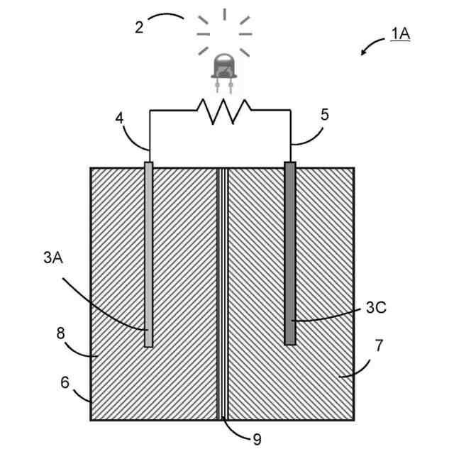
図1は、微生物燃料電池1の概略図である。
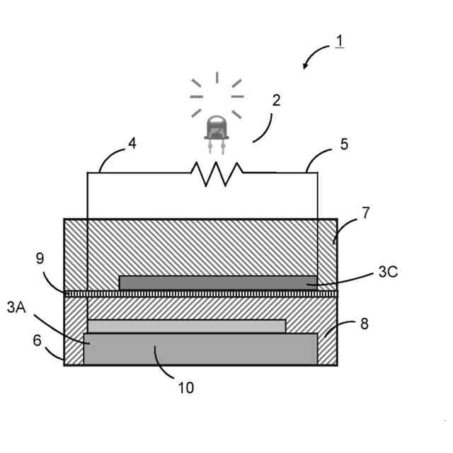
図2は、微生物燃料電池1Aの概略図である。
【発明を実施するための形態】
(【0011】以降は省略されています)
この特許をJ-PlatPat(特許庁公式サイト)で参照する
関連特許
株式会社Cell-En
微生物燃料電池及びその製造方法
2日前
東ソー株式会社
絶縁電線
1か月前
APB株式会社
蓄電セル
28日前
個人
フレキシブル電気化学素子
1か月前
ローム株式会社
半導体装置
1か月前
マクセル株式会社
電源装置
22日前
日新イオン機器株式会社
イオン源
1か月前
株式会社東芝
端子台
22日前
株式会社ユーシン
操作装置
1か月前
ローム株式会社
半導体装置
29日前
株式会社GSユアサ
蓄電装置
23日前
太陽誘電株式会社
コイル部品
1か月前
三菱電機株式会社
回路遮断器
9日前
株式会社GSユアサ
蓄電装置
15日前
株式会社GSユアサ
蓄電装置
1日前
株式会社ホロン
冷陰極電子源
1か月前
オムロン株式会社
電磁継電器
1か月前
株式会社GSユアサ
蓄電装置
23日前
富士電機株式会社
電磁接触器
1日前
株式会社GSユアサ
蓄電設備
1か月前
株式会社GSユアサ
蓄電設備
1か月前
トヨタ自動車株式会社
蓄電装置
23日前
北道電設株式会社
配電具カバー
28日前
日本特殊陶業株式会社
保持装置
1か月前
トヨタ自動車株式会社
バッテリ
1か月前
日本特殊陶業株式会社
保持装置
14日前
トヨタ自動車株式会社
冷却構造
1か月前
ノリタケ株式会社
熱伝導シート
1か月前
トヨタ自動車株式会社
バッテリ
28日前
サクサ株式会社
電池の固定構造
1か月前
日新イオン機器株式会社
基板処理装置
25日前
トヨタ自動車株式会社
蓄電装置
1か月前
日東電工株式会社
積層体
1か月前
株式会社トクヤマ
シリコンエッチング液
1か月前
株式会社ダイヘン
搬送装置
1か月前
日亜化学工業株式会社
半導体レーザ素子
25日前
続きを見る
他の特許を見る