TOP
|
特許
|
意匠
|
商標
特許ウォッチ
Twitter
他の特許を見る
公開番号
2025170227
公報種別
公開特許公報(A)
公開日
2025-11-18
出願番号
2025077052
出願日
2025-05-06
発明の名称
半導体チップ洗浄方法
出願人
佳宸科技股ふん有限公司
代理人
フェリシテ弁理士法人
主分類
H01L
21/304 20060101AFI20251111BHJP(基本的電気素子)
要約
【課題】本発明は、半導体チップ洗浄方法について公開する。
【解決手段】本発明は、半導体チップ洗浄方法を提供し、本発明は半導体チップ洗浄方法を提供し、40度以下のプロセス水を使用して穏やかかつ効果的に汚れを除去し、同時にチップへの熱応力損傷と化学反応リスクを低減し、エネルギー消費およびコストを効果的に削減する。本方法には次の工程が含まれる、ステップ一、被洗浄物を配置し、被洗浄物は少なくとも一枚の基板と間隔をあけて配置された複数のチップを含む。ステップ二、少なくとも一つのノズルを設定し、チップ間隙を照準して洗浄を行う。ステップ二では、使用するノズルは流体ノズルであり、洗浄液は40度以下のプロセス水である。ノズルは間隙方向へ傾斜角度を調整できる。
【選択図】図2
特許請求の範囲
【請求項1】
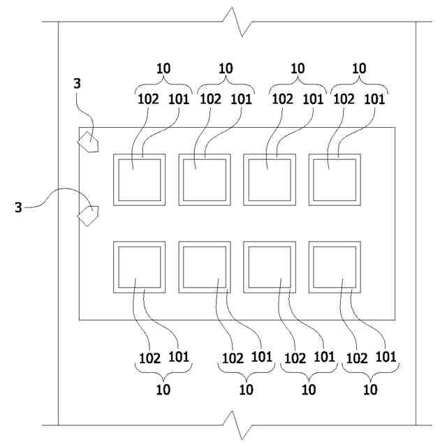
被洗浄物(10)は、少なくとも一枚の基板(101)と、所定の間隔で配置された複数のチップ(102)を含み、
被洗浄物(10)を配置するステップ一(1)と、
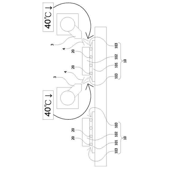
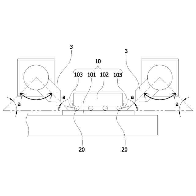
少なくとも一つのノズル(3)を設定し、チップ(102)の間隙(103)を照準して洗浄を行うステップ二(2)と、を含み、
前記ステップ二(2)において、洗浄に使用するノズル(3)は流体ノズルであり、洗浄液(4)は、40℃以下のプロセス水であり、
前記ノズル(3)は、間隙(103)方向へ傾斜角度を調整可能であることを特徴とする半導体チップ洗浄方法。
続きを表示(約 210 文字)
【請求項2】
前記ノズル(3)の圧力は、5-125kgf/cm
2
である、請求項1記載の半導体チップ洗浄方法。
【請求項3】
前記ノズル(3)の傾斜角度(a)は、20~90度である、請求項2記載の半導体チップ洗浄方法。
【請求項4】
前記チップ(102)は、フラックス(20)によって前記基板(101)上に位置決めされる、請求項3記載の半導体チップ洗浄方法。
発明の詳細な説明
【技術分野】
【0001】
本発明は、半導体の技術分野に関し、特に40℃以下のプロセス水を用いて半導体チップを洗浄する半導体チップ洗浄方法に関する。
続きを表示(約 840 文字)
【背景技術】
【0002】
半導体製造工程において、半導体チップの洗浄は重要なステップであり、その目的は主にチップ表面の汚染物を除去することである。これら汚染物は前工程の残渣や製造環境中の塵埃・粒子に由来し得る。洗浄はチップ機能を確保するうえで不可欠であり、微小な汚染でも微細回路に深刻な損傷を与える可能性がある。
【0003】
従来のチップ洗浄方法は化学溶剤、酸、アルカリあるいは高温水を用いるが、化学溶剤は環境や作業者の健康に悪影響を及ぼし、高温水は熱応力によりチップを損傷させ、エネルギー消費とコストを増大させるという問題がある。
【発明の概要】
【発明が解決しようとする課題】
【0004】
本発明は、これらの問題を克服し、40℃以下のプロセス水を用いて穏やかかつ効果的に汚れを除去し、チップへの熱応力損傷と化学反応リスクを低減し、エネルギー消費とコストを削減できる半導体チップ洗浄方法を提供することを目的とする。
【課題を解決するための手段】
【0005】
本発明の半導体チップ洗浄方法は、以下のステップを含む。
【0006】
ステップ一、被洗浄物を配置する。被洗浄物は少なくとも一枚の基板と複数枚の間隔をあけて配置されたチップを含む。
【0007】
ステップ二、少なくとも一つのノズルを設定し、チップ間隙を狙って洗浄を行う。
【0008】
ステップ二において使用するノズルは流体ノズルであり、洗浄液は40℃以下のプロセス水である。ノズルは間隙方向へ傾斜角度を調整できる。
【0009】
上記技術手段において、前記ノズル圧力は、5-125kgf/cm
2
である。
【0010】
上記技術手段において、ノズルの傾斜角度は、20~90度である。
(【0011】以降は省略されています)
この特許をJ-PlatPat(特許庁公式サイト)で参照する
関連特許
佳宸科技股ふん有限公司
半導体チップ洗浄方法
3日前
佳宸科技股ふん有限公司
半導体チップ傾斜洗浄方法
3日前
佳宸科技股ふん有限公司
半導体チップ間隙の洗浄方法
3日前
佳宸科技股ふん有限公司
半導体チップ指向式洗浄の方法
3日前
APB株式会社
蓄電セル
28日前
東ソー株式会社
絶縁電線
1か月前
日新イオン機器株式会社
イオン源
1か月前
ローム株式会社
半導体装置
29日前
株式会社東芝
端子台
22日前
マクセル株式会社
電源装置
22日前
株式会社GSユアサ
蓄電装置
23日前
株式会社ホロン
冷陰極電子源
1か月前
三菱電機株式会社
回路遮断器
9日前
株式会社GSユアサ
蓄電装置
23日前
富士電機株式会社
電磁接触器
1日前
株式会社GSユアサ
蓄電設備
1か月前
株式会社GSユアサ
蓄電装置
1日前
株式会社GSユアサ
蓄電設備
1か月前
株式会社GSユアサ
蓄電装置
15日前
トヨタ自動車株式会社
蓄電装置
23日前
北道電設株式会社
配電具カバー
28日前
日新イオン機器株式会社
基板処理装置
25日前
トヨタ自動車株式会社
冷却構造
1か月前
トヨタ自動車株式会社
バッテリ
28日前
日本特殊陶業株式会社
保持装置
1か月前
日本特殊陶業株式会社
保持装置
14日前
甲神電機株式会社
変流器及び零相変流器
16日前
住友電装株式会社
コネクタ
1か月前
住友電装株式会社
コネクタ
1日前
トヨタ自動車株式会社
電池パック
1か月前
株式会社レゾナック
冷却器
9日前
ローム株式会社
半導体モジュール
2日前
トヨタ自動車株式会社
密閉型電池
24日前
日亜化学工業株式会社
半導体レーザ素子
25日前
株式会社デンソー
電子装置
25日前
矢崎総業株式会社
コネクタ
1日前
続きを見る
他の特許を見る