TOP
|
特許
|
意匠
|
商標
特許ウォッチ
Twitter
他の特許を見る
10個以上の画像は省略されています。
公開番号
2025170226
公報種別
公開特許公報(A)
公開日
2025-11-18
出願番号
2025077051
出願日
2025-05-06
発明の名称
半導体チップ傾斜洗浄方法
出願人
佳宸科技股ふん有限公司
代理人
フェリシテ弁理士法人
主分類
H01L
21/304 20060101AFI20251111BHJP(基本的電気素子)
要約
【課題】洗浄効果が向上し、汚染物残留リスクを低減し、廃棄物削減とコスト低減を実現し、かつ、高い適応性を有売る半導体チップ傾斜洗浄方法を提供する。
【解決手段】方法は、治具をコンベヤベルト搬送方向の一側へ下向きに傾斜させるステップ一、少なくとも二つのノズルを設定し、夫々清潔エリア内のチップ隙間を照準するステップ二、ノズルをチップの配列方向に沿って隙間を洗浄するステップ三、洗浄完了後、隣接清潔エリアが無ければ洗浄を終了し、隣接清潔エリアがある場合はノズルを同期移動させ当該区域内のチップ隙間を照準するステップ四、ステップ二とステップ三を繰り返し、全てのチップ隙間を洗浄するまで続けるステップ五及び治具を水平状態に戻した後、治具をコンベヤベルト搬送方向とは反対側へ下向きに傾斜させ、ステップ二からステップ五を繰り返して再度すべてのチップ隙間を洗浄するステップ六を含む。使用するノズルは流体ノズルである。
【選択図】図2
特許請求の範囲
【請求項1】
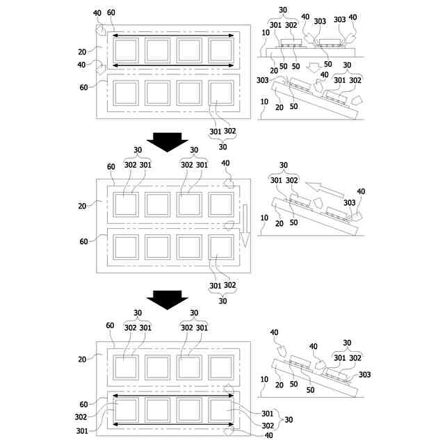
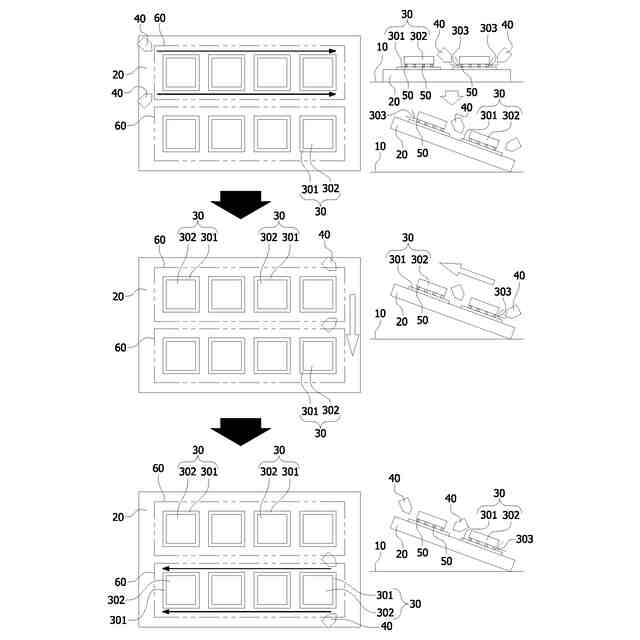
コンベヤベルト(10)上に配置された治具(20)により搬送される被洗浄物(30)を洗浄する方法であって、
前記治具(20)は、少なくとも一つの清潔エリア(60)を備え、
前記被洗浄物(30)は、少なくとも一枚の基板(301)及び少なくとも一つのチップ(302)を含み、
前記被洗浄物(30)は、前記清潔エリア(60)内に配置され、
前記チップ(302)と前記基板(301)の間には隙間(303)が形成され、
前記治具(20)をコンベヤベルト(10)搬送方向の一側へ下向きに傾斜させるステップ一(1)と、
少なくとも二つのノズル(40)を設定し、それぞれ前記清潔エリア(60)内の前記チップ(302)隙間(303)に照準を合わせるステップ二(2)と、
前記ノズル(40)を前記チップ(302)の配列方向に沿って同期移動させ、前記隙間(303)を洗浄するステップ三(3)と、
前記チップ(302)隙間(303)の洗浄完了後、隣接清潔エリア(60)が無い場合は洗浄を終了し、隣接清潔エリア(60)がある場合は前記ノズル(40)を同期移動させて当該清潔エリア(60)内の前記チップ(302)隙間(303)に照準を合わせるステップ四(4)と、
前記ステップ二(2)及び前記ステップ三(3)を繰り返し、すべての前記チップ(302)隙間(303)を洗浄するステップ五(5)と、
前記ステップ五(5)終了後、前記治具(20)を水平状態に戻し、前記治具(20)をコンベヤベルト(10)搬送方向とは反対側へ下向きに傾斜させ、前記ステップ二(2)~前記ステップ五(5)を繰り返し、再度すべての前記チップ(302)隙間(303)を洗浄するステップ六(6)と、を含み、
前記各ステップで用いる前記ノズル(40)は、流体ノズルであることを特徴とする半導体チップ傾斜洗浄方法。
続きを表示(約 490 文字)
【請求項2】
前記ステップ一(1)及び前記ステップ六(6)における前記治具(20)の傾斜角度は、20~70度である、請求項1に記載の半導体チップ傾斜洗浄方法。
【請求項3】
前記ステップ三(3)の洗浄回数は、一次単方向洗浄又は複数回往復洗浄のいずれかである、請求項1に記載の半導体チップ傾斜洗浄方法。
【請求項4】
前記ノズル(40)の圧力は、5-125kgf/cm
2
である、請求項1に記載の半導体チップ傾斜洗浄方法。
【請求項5】
前記ノズル(40)は、前記隙間(303)方向へ傾斜角度を調整可能であり、
前記ノズル(40)の角度(a)は、20~90度である、請求項4に記載の半導体チップ傾斜洗浄方法。
【請求項6】
前記ノズル(40)は、着脱式であり、交換又は調整が容易である、請求項5に記載の半導体チップ傾斜洗浄方法。
【請求項7】
前記チップ(302)は、フラックス(50)によって前記基板(301)上に位置決めされる、請求項1に記載の半導体チップ傾斜洗浄方法。
発明の詳細な説明
【技術分野】
【0001】
本発明は、半導体の技術分野に関し、特に搬送装置に適用され、チップを一工程から別の工程へ移送する際に洗浄を行う半導体チップ傾斜洗浄方法に関する。
続きを表示(約 1,500 文字)
【背景技術】
【0002】
微電子製造過程において、半導体チップの洗浄は極めて重要な工程である。半導体技術の進歩、とりわけ集積回路(IC)の線幅が縮小し続けるに伴い、チップ表面の清浄度要求はますます高まっている。微小な汚染物でもチップ性能の低下や製品不良を引き起こす可能性がある。そのため、有効、信頼性、経済性を兼ね備えた洗浄技術の開発は半導体製造業における重要な研究課題である。
【0003】
従来の洗浄方法である湿式洗浄は、各種化学溶剤と水を用いてチップを洗浄し、多様な不純物を除去できるものの、大量の化学溶剤を使用するため環境負荷が大きい。また、極微細構造を洗浄する際には精度が不足し、微粒子や汚染物を完全に除去できず、チップが損傷したり性能が低下したりする。
【0004】
乾式洗浄の一種であるプラズマ洗浄は、プラズマにより生成された活性種で表面汚染物を除去する。湿式より環境負荷は小さいが、チップ表面を損傷する恐れがあり、特に汚染物が強固に付着している場合は除去効果が限定される。
【0005】
回転式洗浄は遠心力でチップ上の薬液を除去するが、チップ各部位で洗浄効果が不均一であり、特にチップ中心付近は遠心力が弱く洗浄が不十分となる。また、有効洗浄には高速回転が必要で、薬液の飛散が増え洗浄時間が長引き、消耗品コストも上昇する。
【発明の概要】
【発明が解決しようとする課題】
【0006】
以上を踏まえ、本発明は、洗浄過程で治具と基板を傾斜させ、チップと基板間の隙間を効果的に洗浄して洗浄効率と効果を高める半導体チップ傾斜洗浄方法を提供し、従来技術の高精度チップ洗浄における限界を改善して半導体製造業により高効率、包括な洗浄ソリューションを提供することを目的とする。
【課題を解決するための手段】
【0007】
上記課題を解決し、本発明の目的を達成するため、以下の技術手段を提供する。半導体チップ傾斜洗浄方法は、コンベヤベルト上で治具により搬送される被洗浄物を洗浄するためのものである。治具は少なくとも一つの清潔エリアを有し、被洗浄物は少なくとも一つの基板と少なくとも一つのチップを含み、被洗浄物は清潔エリア内に配置され、チップと基板の間には隙間が形成される。本方法は以下のステップを含む。ステップ一、治具をコンベヤベルト搬送方向の一側へ下向きに傾斜させる。ステップ二、少なくとも二つのノズルを設定し、それぞれ清潔エリア内のチップ隙間を照準する。ステップ三、ノズルをチップ配列方向に沿って同期移動させ、隙間を洗浄する。ステップ四、チップ隙間を洗浄後、隣接清潔エリアが無い場合は洗浄を終了し、隣接区域がある場合はノズルを同期移動させ当該区域のチップ隙間を照準する。ステップ五、ステップ二、ステップ三を繰り返し、すべてのチップ隙間を洗浄する。及びステップ六、ステップ五終了後、治具を水平に戻し、治具をコンベヤベルト搬送方向と反対側へ下向きに傾斜させ、ステップ二~ステップ五を繰り返し、再度すべてのチップ隙間を洗浄する。各ステップで用いるノズルは流体ノズルである。
【0008】
上記技術手段において、前記ステップ一とステップ六での治具傾斜角は、20~70度である。
【0009】
上記技術手段において、前記ステップ三の洗浄回数は、一次単方向洗浄または複数回往復洗浄のいずれかである。
【0010】
上記技術手段において、前記ノズル圧力は、5-125kgf/cm
2
である。
(【0011】以降は省略されています)
この特許をJ-PlatPat(特許庁公式サイト)で参照する
関連特許
APB株式会社
蓄電セル
27日前
株式会社東芝
端子台
21日前
ローム株式会社
半導体装置
28日前
マクセル株式会社
電源装置
21日前
株式会社GSユアサ
蓄電装置
22日前
株式会社GSユアサ
蓄電装置
14日前
富士電機株式会社
電磁接触器
今日
三菱電機株式会社
回路遮断器
8日前
株式会社GSユアサ
蓄電装置
22日前
株式会社GSユアサ
蓄電装置
今日
トヨタ自動車株式会社
バッテリ
27日前
北道電設株式会社
配電具カバー
27日前
日本特殊陶業株式会社
保持装置
13日前
トヨタ自動車株式会社
蓄電装置
22日前
日新イオン機器株式会社
基板処理装置
24日前
トヨタ自動車株式会社
密閉型電池
23日前
株式会社デンソー
電子装置
24日前
株式会社レゾナック
冷却器
8日前
矢崎総業株式会社
コネクタ
今日
住友電装株式会社
コネクタ
今日
日本無線株式会社
レーダアンテナ
15日前
甲神電機株式会社
変流器及び零相変流器
15日前
ローム株式会社
半導体モジュール
1日前
日亜化学工業株式会社
半導体レーザ素子
24日前
ヒロセ電機株式会社
電気コネクタ
今日
富士電機株式会社
半導体モジュール
16日前
日本航空電子工業株式会社
コネクタ
13日前
株式会社デンソー
熱交換部材
15日前
三協立山株式会社
バッテリーケース
28日前
マクセル株式会社
扁平形電池
28日前
株式会社デンソー
半導体装置
今日
新電元工業株式会社
半導体装置
今日
シャープ株式会社
アンテナ装置
28日前
TDK株式会社
電子部品
今日
トヨタ自動車株式会社
蓄電モジュール
22日前
ローム株式会社
半導体パッケージ
28日前
続きを見る
他の特許を見る