TOP
|
特許
|
意匠
|
商標
特許ウォッチ
Twitter
他の特許を見る
公開番号
2025170464
公報種別
公開特許公報(A)
公開日
2025-11-19
出願番号
2024075035
出願日
2024-05-07
発明の名称
端子付き電線の製造方法
出願人
矢崎総業株式会社
代理人
弁理士法人虎ノ門知的財産事務所
主分類
H01R
43/048 20060101AFI20251112BHJP(基本的電気素子)
要約
【課題】電線の絶縁性の低下を抑制することができる端子付き電線の製造方法を提供する。
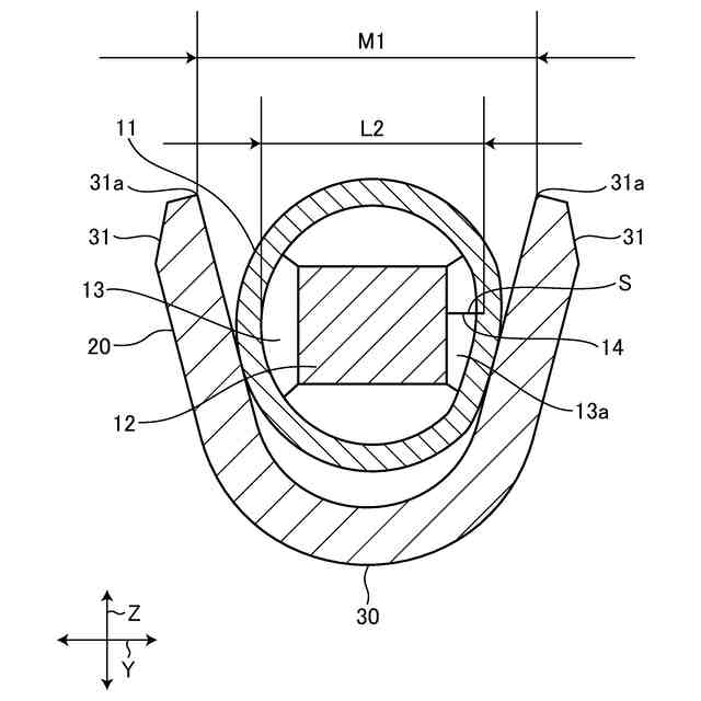
【解決手段】端子付き電線の製造方法は、複数の素線Sからなる芯線10と、芯線10の端部を芯線露出部10aとして露出させた状態で芯線10を覆う絶縁被覆11とを有する電線2の芯線露出部10aに対して、複数の素線Sを固めて単線化部12を形成する単線化工程と、単線化工程の後に、芯線露出部10aのうち、単線化されていない非単線化部13の外周部分から外側に飛び出して撓んだ素線Sのたわみ部分14を含む当該非単線化部の外径L2の最大値が、電線2の外径L1より小さいか否かを検査する第1検査工程と、を含む。
【選択図】図2
特許請求の範囲
【請求項1】
複数の素線からなる芯線と、前記芯線の端部を芯線露出部として露出させた状態で前記芯線を覆う絶縁被覆とを有する電線の前記芯線露出部に対して、複数の前記素線を固めて単線化部を形成する単線化工程と、
前記単線化工程の後に、前記芯線露出部のうち、単線化されていない非単線化部の外周部分から外側に飛び出して撓んだ前記素線のたわみ部分を含む当該非単線化部の外径の最大値が、前記電線の外径より小さいか否かを検査する第1検査工程と、
を含むことを特徴とする端子付き電線の製造方法。
続きを表示(約 180 文字)
【請求項2】
前記非単線化部の外径の最大値が、前記電線の前記単線化部に対して圧着される端子における導体圧着部内側の単線化部収容径の最大値より小さいか否かを検査する第2検査工程と、
前記第2検査工程の後に、前記電線の前記単線化部に対して前記端子の前記導体圧着部を圧着させる圧着工程と、
をさらに含む請求項1に記載の端子付き電線の製造方法。
発明の詳細な説明
【技術分野】
【0001】
本発明は、端子付き電線の製造方法に関する。
続きを表示(約 1,600 文字)
【背景技術】
【0002】
従来の端子付き電線は、例えば、複数のアルミニウム素線が集合された芯線と芯線の外周を覆う絶縁被覆とを有する電線と、電線の端部の露出芯線に圧着された端子とを備える。端子付き電線を製造する方法として、例えば、露出芯線に圧力を加えてアルミニウム素線同士を接合し、アルミニウム素線同士が接合された露出芯線の端部を切揃え、端部が切揃えられた露出芯線に端子を圧着するものがある(例えば、特許文献1参照)。
【先行技術文献】
【特許文献】
【0003】
特開2011-192465号公報
【発明の概要】
【発明が解決しようとする課題】
【0004】
ところで、上記従来の製造方法では、予め必要な長さだけ露出芯線を単線化すると、単線化部の先端側の芯線がずれ、非単線化部で芯線が撓んでしまう可能性がある。例えば、単線化部を圧着端子に圧着すべく撓んだ芯線を圧着端子にセットする際に、非単線化部の撓んだ芯線が端子の一対のバレル(前足バレル)外に飛び出た場合、隣接する電線や電装品等の非絶縁部分に接触するおそれがあることから改善の余地がある。
【0005】
本発明は、電線の絶縁性の低下を抑制することができる端子付き電線の製造方法を提供することを目的とする。
【課題を解決するための手段】
【0006】
上記目的を達成するために、本発明に係る端子付き電線の製造方法は、複数の素線からなる芯線と、前記芯線の端部を芯線露出部として露出させた状態で前記芯線を覆う絶縁被覆とを有する電線の前記芯線露出部に対して、複数の前記素線を固めて単線化部を形成する単線化工程と、前記単線化工程の後に、前記芯線露出部のうち、単線化されていない非単線化部の外周部分から外側に飛び出して撓んだ前記素線のたわみ部分を含む当該非単線化部の外径の最大値が、前記電線の外径より小さいか否かを検査する第1検査工程と、を含むことを特徴とする。
【発明の効果】
【0007】
本発明に係る端子付き電線の製造方法によれば、電線の絶縁性の低下を抑制することができる、という効果を奏する。
【図面の簡単な説明】
【0008】
図1は、第1実施形態に係る製造方法を説明するための模式図である。
図2は、第1実施形態に係る製造方法の一例を示すフローチャート図である。
図3は、第2実施形態に係る製造方法を説明するための模式図である。
図4は、図3の矢視A-A線における模式断面図である。
図5は、第2実施形態に係る製造方法の一例を示すフローチャート図である。
図6は、第2実施形態の変形例に係る製造方法を説明するための模式断面図である。
【発明を実施するための形態】
【0009】
以下に、本発明に係る実施形態について図面を参照しつつ詳細に説明する。なお、下記実施形態により本発明が限定されるものではない。すなわち、下記実施形態における構成要素には、当業者が容易に想定できるもの、あるいは実質的に同一のものが含まれ、発明の要旨を逸脱しない範囲で、種々の省略、置き換え、変更を行うことができる。
【0010】
なお、以下の説明において、図示のX方向、Y方向、及び、Z方向のうち、X方向を「軸線方向X」とし、Y方向を「幅方向Y」とし、Z方向を「高さ方向Z」とする。軸線方向Xと幅方向Yと高さ方向Zとは、相互に直交する。軸線方向Xは、電線2の延在方向、端子3の延在方向に相当する。幅方向Yは、端子3の幅方向に相当する。高さ方向Zは、端子3の高さ方向に相当する。
(【0011】以降は省略されています)
この特許をJ-PlatPat(特許庁公式サイト)で参照する
関連特許
矢崎総業株式会社
端子
24日前
矢崎総業株式会社
箱状体
1か月前
矢崎総業株式会社
箱状体
1か月前
矢崎総業株式会社
箱状体
17日前
矢崎総業株式会社
箱状体
17日前
矢崎総業株式会社
箱状体
17日前
矢崎総業株式会社
コネクタ
1日前
矢崎総業株式会社
接続構造
17日前
矢崎総業株式会社
照明装置
24日前
矢崎総業株式会社
照明装置
25日前
矢崎総業株式会社
照明装置
25日前
矢崎総業株式会社
コネクタ
16日前
矢崎総業株式会社
照明装置
1か月前
矢崎総業株式会社
報知装置
1か月前
矢崎総業株式会社
バスバー
1か月前
矢崎総業株式会社
コネクタ
1か月前
矢崎総業株式会社
コネクタ
1か月前
矢崎総業株式会社
コネクタ
1か月前
矢崎総業株式会社
コネクタ
16日前
矢崎総業株式会社
電源回路
1日前
矢崎総業株式会社
コネクタ
2日前
矢崎総業株式会社
コネクタ
1日前
矢崎総業株式会社
カバー構造
22日前
矢崎総業株式会社
車両用室内灯
14日前
矢崎総業株式会社
コネクタ構造
1か月前
矢崎総業株式会社
コネクタ構造
1か月前
矢崎総業株式会社
コネクタ構造
1か月前
矢崎総業株式会社
通信ケーブル
14日前
矢崎総業株式会社
画像表示装置
25日前
矢崎総業株式会社
画像表示装置
25日前
矢崎総業株式会社
端子付き電線
1か月前
矢崎総業株式会社
スイッチ装置
14日前
矢崎総業株式会社
連結コネクタ
1日前
矢崎総業株式会社
スイッチ装置
14日前
矢崎総業株式会社
フラット導体
1か月前
矢崎総業株式会社
スイッチ装置
14日前
続きを見る
他の特許を見る