TOP
|
特許
|
意匠
|
商標
特許ウォッチ
Twitter
他の特許を見る
10個以上の画像は省略されています。
公開番号
2025159487
公報種別
公開特許公報(A)
公開日
2025-10-21
出願番号
2024062077
出願日
2024-04-08
発明の名称
コネクタ構造
出願人
矢崎総業株式会社
代理人
弁理士法人栄光事務所
主分類
H01R
13/6592 20110101AFI20251014BHJP(基本的電気素子)
要約
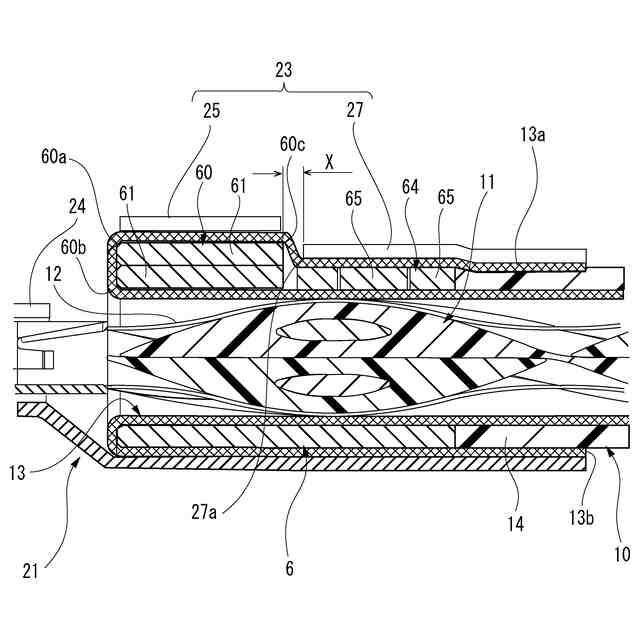
【課題】ツイストペア電線を用いたシールドコネクタにおけるアウター端子の端子保持力、並びに、アウター端子と編組との電気的な接続信頼性の低下を防止することができるコネクタ構造を提供する。
【解決手段】シールド電線10の端部側に位置してオーバーラップ状に加締められた前圧着部60と、前圧着部60の外形よりも小さい外形で前圧着部60の奥側に位置する後圧着部64とを有し、シース14の端部から露出した編組13の外周側に被せられるインナースリーブ6と、インナー端子が収容されるインナーハウジング4の外周を覆うシールド本体22と、シールド本体22から延出し、インナースリーブ6の外周側に折り返して被せられた編組13の折返し部分13aに電気的に接続されるように前圧着部60及び後圧着部64の外周形状にそれぞれ圧着される第1圧着部25及び第2圧着部27が形成された加締め部23と、を有するアウター端子21と、を備える。
【選択図】図8
特許請求の範囲
【請求項1】
ツイストペア電線を包囲する編組がシースにより覆われたケーブルと、
前記ケーブルの端部側に位置してオーバーラップ状に加締められた前圧着部と、前記前圧着部の外形よりも小さい外形で前記前圧着部の奥側に位置する後圧着部とを有し、前記シースの端部から露出した前記編組の外周側に被せられるインナースリーブと、
前記シースの端部から露出した前記ツイストペア電線の芯線に電気的に接続されるインナー端子と、
インナー端子収容部に前記インナー端子が収容されるインナーハウジングと、
前記インナーハウジングの外周を覆うシールド本体と、前記シールド本体から延出し、前記インナースリーブの外周側に折り返して被せられた前記編組の端部に電気的に接続されるように前記前圧着部及び前記後圧着部の外周側にそれぞれ圧着される第1圧着部及び第2圧着部とを有するアウター端子と、
を備えたコネクタ構造。
続きを表示(約 150 文字)
【請求項2】
前記インナースリーブは、導電性を有する金属板から一体でプレス成形されており、
前記前圧着部が、オーバーラップ状に加締められて圧着される一対の圧着片を有し、
前記後圧着部が、筒状に加締められて圧着される一対の圧着片を有する、
請求項1に記載のコネクタ構造。
発明の詳細な説明
【技術分野】
【0001】
本発明は、シールドコネクタのコネクタ構造に関する。
続きを表示(約 1,800 文字)
【背景技術】
【0002】
ケーブルとコネクタとの間の機械的保持力を増加するコネクタ装置として、例えば特許文献1に開示されたコネクタ装置が知られている。
このコネクタ装置は、コネクタと、コネクタに接続されたケーブルとを備えている。ケーブルは、剥離領域まで延伸されたシースと、剥離領域に形成されてシースから離間したスリーブ(インナースリーブ)とを備えることで、シースとスリーブが環状溝を形成する。コネクタからシースまで延伸された外部導体コンタクト(アウター端子)は、環状溝の位置に半径方向の凹部を備えている。そして、ケーブルの外部導体(編組)は、スリーブを包み、且つ外部導体コンタクトの凹部の領域に締め付けられることで、接触の保持力が増加されている。
【0003】
近年、単なる平行線よりもノイズの影響を受けにくく、ノイズ輻射も少ないケーブルとして、ツイストペアケーブル(ツイストペア電線)が車載ネットワーク等に好適に用いられている。そして、このツイストペアケーブルの端末に接続されたシールドコネクタは、STP(Shielded Twisted Pair)ケーブルの撚られた2本の電線の端末に接続されたインナー端子と、インナー端子を収容するインナーハウジングと、インナーハウジングを内包するアウター端子と、を備えている。
【0004】
そして、アウター端子の加締め部が、折り返されてシースの外周側に被せられた編組の端部に圧着により電気的に接続されることで、STPケーブルの端末に接続されたシールドコネクタおけるノイズの遮蔽性能が確保されている。
【先行技術文献】
【特許文献】
【0005】
特開2019-21632号公報
【発明の概要】
【発明が解決しようとする課題】
【0006】
しかしながら、上述した従来のコネクタ装置においては、シースとスリーブが形成する環状溝の段差(深さ)が小さく、外部導体コンタクトの端子保持力と共に外部導体の接触の保持力を向上させるには不十分であった。なお、環状溝の段差が小さくても、外部導体コンタクトでスリーブを強く加締めれば、それなりに保持力は向上するが、ケーブルの電線自体を変形させるため、伝送特性に悪影響が出てしまう可能性がある。
【0007】
特に、電線としてツイストペア電線を用いた場合には、強い加締め作業により電線間の距離が変化する可能性が高く、その差動インピーダンス等の電気特性が変化して伝送特性が低下することが懸念される。
【0008】
本発明は上記状況に鑑みてなされたもので、その目的は、ツイストペア電線を用いたシールドコネクタにおけるアウター端子の端子保持力、並びに、アウター端子と編組との電気的な接続信頼性の低下を防止することができるコネクタ構造を提供することにある。
【課題を解決するための手段】
【0009】
本発明に係る上記目的は、下記構成により達成される。
ツイストペア電線を包囲する編組がシースにより覆われたケーブルと、
前記ケーブルの端部側に位置してオーバーラップ状に加締められた前圧着部と、前記前圧着部の外形よりも小さい外形で前記前圧着部の奥側に位置する後圧着部とを有し、前記シースの端部から露出した前記編組の外周側に被せられるインナースリーブと、
前記シースの端部から露出した前記電線の芯線に電気的に接続されるインナー端子と、
インナー端子収容部に前記インナー端子が収容されるインナーハウジングと、
前記インナーハウジングの外周を覆うシールド本体と、前記シールド本体から延出し、前記インナースリーブの外周側に折り返して被せられた前記編組の端部に電気的に接続されるように前記前圧着部及び前記後圧着部の外周側にそれぞれ圧着される第1圧着部及び第2圧着部が形成された加締め部とを有するアウター端子と、
を備えたコネクタ構造。
【発明の効果】
【0010】
本発明に係るコネクタ構造によれば、ツイストペア電線を用いたシールドコネクタにおけるアウター端子の端子保持力、並びに、アウター端子と編組との電気的な接続信頼性の低下を防止することができる。
(【0011】以降は省略されています)
この特許をJ-PlatPat(特許庁公式サイト)で参照する
関連特許
矢崎総業株式会社
照明灯
1か月前
矢崎総業株式会社
箱状体
16日前
矢崎総業株式会社
箱状体
16日前
矢崎総業株式会社
照明構造
21日前
矢崎総業株式会社
コネクタ
17日前
矢崎総業株式会社
コネクタ
23日前
矢崎総業株式会社
コネクタ
10日前
矢崎総業株式会社
コネクタ
23日前
矢崎総業株式会社
コネクタ
14日前
矢崎総業株式会社
コネクタ
15日前
矢崎総業株式会社
止水部材
21日前
矢崎総業株式会社
バスバー
7日前
矢崎総業株式会社
コネクタ
16日前
矢崎総業株式会社
コネクタ
16日前
矢崎総業株式会社
コネクタ
17日前
矢崎総業株式会社
コネクタ
21日前
矢崎総業株式会社
コネクタ
17日前
矢崎総業株式会社
コネクタ
21日前
矢崎総業株式会社
コネクタ
28日前
矢崎総業株式会社
コネクタ
25日前
矢崎総業株式会社
コネクタ
1か月前
矢崎総業株式会社
報知装置
3日前
矢崎総業株式会社
コネクタ
1か月前
矢崎総業株式会社
コネクタ
1か月前
矢崎総業株式会社
コネクタ
1か月前
矢崎総業株式会社
照明装置
2日前
矢崎総業株式会社
コネクタ
29日前
矢崎総業株式会社
コネクタ
1か月前
矢崎総業株式会社
コネクタ
1か月前
矢崎総業株式会社
電気接続箱
1か月前
矢崎総業株式会社
プロテクタ
21日前
矢崎総業株式会社
電気接続箱
16日前
矢崎総業株式会社
電気接続箱
16日前
矢崎総業株式会社
電気接続箱
16日前
矢崎総業株式会社
カバー構造
1か月前
矢崎総業株式会社
ゴムブーツ
21日前
続きを見る
他の特許を見る