TOP
|
特許
|
意匠
|
商標
特許ウォッチ
Twitter
他の特許を見る
公開番号
2025169509
公報種別
公開特許公報(A)
公開日
2025-11-14
出願番号
2024074229
出願日
2024-05-01
発明の名称
テープ剥離装置及びテープ剥離方法
出願人
新電元工業株式会社
代理人
個人
,
個人
主分類
H01L
21/683 20060101AFI20251107BHJP(基本的電気素子)
要約
【課題】テープ基材をウェーハから剥離する際にウェーハ割れを抑制するテープ剥離装置を提供する。
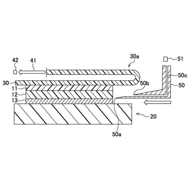
【解決手段】本発明は、テープ基材11の下面がテープ糊層12によって上面に貼り付けられたウェーハ13の下面を固定する固定機構20と、固定機構20によって固定された前記ウェーハ13上のテープ基材11の上面にリムーバーテープ30を貼り付け、リムーバーテープ30をテープ基材11の外側で且つ上側にU字状30aに折り曲げた状態でテープ基材11の上面に沿う方向41に引っ張る引張機構42と、それによってリムーバーテープ30を引っ張りながら、ウェーハ13とテープ糊層12との間に先端部50aを突き当てる突き当て部材50と、第1の噴射孔50bから気体をウェーハ13とテープ糊層12との間に噴射させる噴射機構51を有するテープ剥離装置である。
【選択図】図1
特許請求の範囲
【請求項1】
テープ基材の下面がテープ糊層によって上面に貼り付けられたウェーハの下面を固定する固定機構と、
前記固定機構によって固定された前記ウェーハ上の前記テープ基材の上面にリムーバーテープを貼り付け、前記リムーバーテープを前記テープ基材の外側で且つ上側にU字状に折り曲げた状態で前記テープ基材の上面に沿う方向に引っ張る引張機構と、
前記引張機構によって前記リムーバーテープを引っ張りながら、前記ウェーハと前記テープ糊層との間に先端部を突き当てる突き当て部材と、
前記突き当て部材の先端部に設けられた第1の噴射孔と、
前記第1の噴射孔に気体を送る経路と、
前記経路を通って前記第1の噴射孔から前記気体を前記ウェーハと前記テープ糊層との間に噴射させる噴射機構と、
を有することを特徴とするテープ剥離装置。
続きを表示(約 1,100 文字)
【請求項2】
請求項1において、
前記突き当て部材の前記先端部は、前記ウェーハの外周に沿う形状を有することを特徴とするテープ剥離装置。
【請求項3】
請求項2において、
前記突き当て部材の前記第1の噴射孔は、平面視において前記先端部から均一な距離に配置されていることを特徴とするテープ剥離装置。
【請求項4】
請求項3において、
前記突き当て部材の前記第1の噴射孔は、平面視において前記先端部に沿うように形成され、且つ一体的に形成されていることを特徴とするテープ剥離装置。
【請求項5】
請求項1から4のいずれか一項において、
前記突き当て部材の先端部に設けられた第2の噴射孔を有し、
前記第1の噴射孔は、前記ウェーハの上面に平行方向に前記気体を噴射させる噴射孔であり、
前記第2の噴射孔は、前記平行方向に対して前記ウェーハ側の方向に前記気体を噴射させる噴射孔であることを特徴とするテープ剥離装置。
【請求項6】
請求項5において、
前記突き当て部材の先端部に設けられた第3の噴射孔を有し、
前記第3の噴射孔は、前記平行方向に対して前記ウェーハ側と逆側の方向に前記気体を噴射させる噴射孔であることを特徴とするテープ剥離装置。
【請求項7】
請求項6において、
前記経路は、互いに分離された第1の経路、第2の経路及び第3の経路を有し、
前記噴射機構は、第1の噴射機構、第2の噴射機構及び第3の噴射機構を有し、
前記第1の噴射孔から噴射される気体は、前記第1の噴射機構により前記第1の経路を通って噴射され、
前記第2の噴射孔から噴射される気体は、前記第2の噴射機構により前記第2の経路を通って噴射され、
前記第3の噴射孔から噴射される気体は、前記第3の噴射機構により前記第3の経路を通って噴射されることを特徴とするテープ剥離装置。
【請求項8】
請求項1から4のいずれか一項において、
前記ウェーハの厚さは200μm以下であることを特徴とするテープ剥離装置。
【請求項9】
請求項1から4のいずれか一項において、
前記気体は不活性ガスまたはドライエアーであることを特徴とするテープ剥離装置。
【請求項10】
請求項1から4のいずれか一項において、
前記固定機構はウェーハ吸着機構を有し、前記ウェーハ吸着機構により前記ウェーハが固定されていることを特徴とするテープ剥離装置。
(【請求項11】以降は省略されています)
発明の詳細な説明
【技術分野】
【0001】
本発明は、テープ剥離装置及びテープ剥離方法に関する。
続きを表示(約 1,600 文字)
【背景技術】
【0002】
ウェーハの上面にテープ糊層によってテープ基材の下面を貼り付け、ウェーハとテープ基材を一体にした状態で、ウェーハの下面を研削することで、ウェーハの厚さを薄くする工程がある。この工程においてウェーハの厚さをかなり薄くする場合には研削後のウェーハの剛性が低くなるため、ウェーハが反らないように高い剛性を有するテープ基材を使用することが要求される。
【0003】
このウェーハ下面の研削工程を行った後に、ウェーハの上面からテープ糊層とともにテープ基材を剥離する工程が必要となる。この工程では、ウェーハの剛性が低く、テープ基材の剛性が高いため、テープ基材をウェーハから剥離する際にウェーハ割れが生じるという課題がある。なお、上記の工程に関連する技術が特許文献1に記載されている。
【先行技術文献】
【特許文献】
【0004】
特開2017-34015号公報
【発明の概要】
【発明が解決しようとする課題】
【0005】
本発明の種々の態様は、テープ基材をウェーハから剥離する際にウェーハ割れを抑制するテープ剥離装置及びテープ剥離方法を提供することを目的とする。
【課題を解決するための手段】
【0006】
以下に本発明の種々の態様について説明する。
【0007】
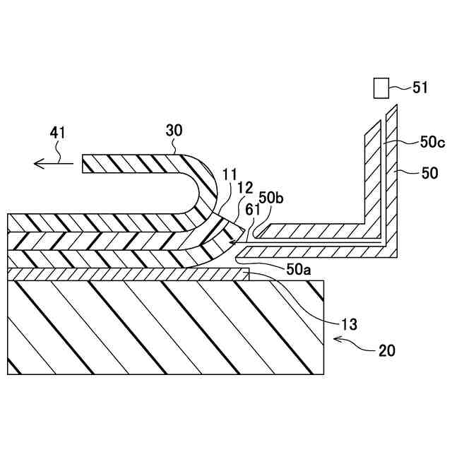
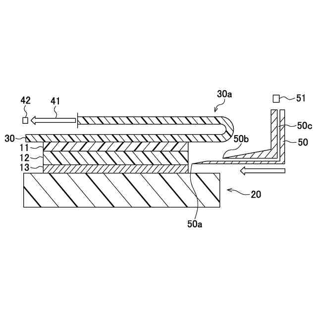
[1]テープ基材の下面がテープ糊層によって上面に貼り付けられたウェーハの下面を固定する固定機構と、
前記固定機構によって固定された前記ウェーハ上の前記テープ基材の上面にリムーバーテープを貼り付け、前記リムーバーテープを前記テープ基材の外側で且つ上側にU字状に折り曲げた状態で前記テープ基材の上面に沿う方向に引っ張る引張機構と、
前記引張機構によって前記リムーバーテープを引っ張りながら、前記ウェーハと前記テープ糊層との間に先端部を突き当てる突き当て部材と、
前記突き当て部材の先端部に設けられた第1の噴射孔と、
前記第1の噴射孔に気体を送る経路と、
前記経路を通って前記第1の噴射孔から前記気体を前記ウェーハと前記テープ糊層との間に噴射させる噴射機構と、
を有することを特徴とするテープ剥離装置。
【0008】
本発明の一態様に係る上記[1]のテープ剥離装置によれば、ウェーハの上面にテープ糊層によってテープ基材の下面を貼り付け、このテープ基材が貼り付けられたウェーハの下面を固定機構により固定する。この固定されたウェーハ上のテープ基材の上面にリムーバーテープを貼り付け、リムーバーテープをテープ基材の外側で且つ上側にU字状に折り曲げた状態でテープ基材の上面に沿う方向にリムーバーテープを引張機構により引っ張りながら、突き当て部材の先端部の第1の噴射孔から経路を通った気体をウェーハとテープ糊層との間に噴射機構により噴射させ、ウェーハとテープ糊層との間に突き当て部材の先端部を突き当てる。この際、噴射された気体の風圧でウェーハからテープ基材が捲れ易くなる。このため、ウェーハの剛性が低く、剛性の高いテープ基材においても、気体がウェーハとテープ基材のテープ糊層の間に効率よく入り込むことで、テープ基材をウェーハから剥離しやすくなる。その結果、ウェーハ割れが生じることを抑制できる。
【0009】
[2]上記[1]において、
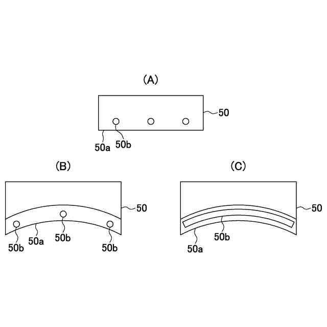
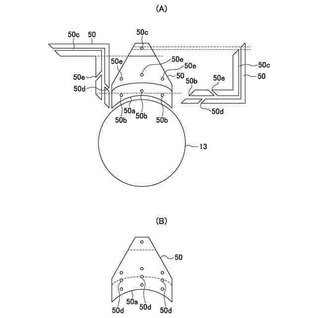
前記突き当て部材の前記先端部は、前記ウェーハの外周に沿う形状を有することを特徴とするテープ剥離装置。
【0010】
本発明の一態様に係る上記[2]のテープ剥離装置によれば、突き当て部材の先端部がウェーハの外周に沿う形状を有することにより、ウェーハからテープ基材を剥がす際の剥がし始めの起点を大きくとりながら気体を吹き付けるため、ウェーハ割れをより抑制することができる。
(【0011】以降は省略されています)
この特許をJ-PlatPat(特許庁公式サイト)で参照する
関連特許
新電元工業株式会社
電源装置及び制御方法
26日前
新電元工業株式会社
半導体モジュール及び電子回路
12日前
新電元工業株式会社
テープ剥離装置及びテープ剥離方法
5日前
新電元工業株式会社
ウェーハ搬送用ベルヌーイチャック
27日前
APB株式会社
蓄電セル
26日前
東ソー株式会社
絶縁電線
28日前
個人
フレキシブル電気化学素子
1か月前
日新イオン機器株式会社
イオン源
1か月前
ローム株式会社
半導体装置
27日前
株式会社東芝
端子台
20日前
株式会社ユーシン
操作装置
1か月前
マクセル株式会社
電源装置
20日前
三菱電機株式会社
回路遮断器
7日前
オムロン株式会社
電磁継電器
1か月前
株式会社GSユアサ
蓄電装置
13日前
太陽誘電株式会社
コイル部品
1か月前
株式会社GSユアサ
蓄電設備
1か月前
株式会社GSユアサ
蓄電設備
1か月前
株式会社GSユアサ
蓄電装置
21日前
株式会社GSユアサ
蓄電装置
21日前
株式会社ホロン
冷陰極電子源
1か月前
トヨタ自動車株式会社
バッテリ
26日前
サクサ株式会社
電池の固定構造
1か月前
北道電設株式会社
配電具カバー
26日前
トヨタ自動車株式会社
蓄電装置
1か月前
ノリタケ株式会社
熱伝導シート
1か月前
日新イオン機器株式会社
基板処理装置
23日前
トヨタ自動車株式会社
蓄電装置
21日前
トヨタ自動車株式会社
冷却構造
28日前
日本特殊陶業株式会社
保持装置
29日前
日東電工株式会社
積層体
1か月前
日本特殊陶業株式会社
保持装置
12日前
トヨタ自動車株式会社
電池パック
1か月前
株式会社デンソー
電子装置
23日前
東レエンジニアリング株式会社
実装装置
1か月前
ローム株式会社
半導体モジュール
今日
続きを見る
他の特許を見る