TOP
|
特許
|
意匠
|
商標
特許ウォッチ
Twitter
他の特許を見る
公開番号
2025170633
公報種別
公開特許公報(A)
公開日
2025-11-19
出願番号
2024075386
出願日
2024-05-07
発明の名称
コネクタユニット
出願人
ホシデン株式会社
代理人
弁理士法人R&C
主分類
H01R
13/52 20060101AFI20251112BHJP(基本的電気素子)
要約
【課題】蓋体に水滴や塵埃が付着した状態で蓋体を開放してもコネクタに対する水滴や塵埃の浸入を抑制するコネクタユニットを提供する。
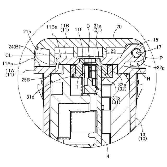
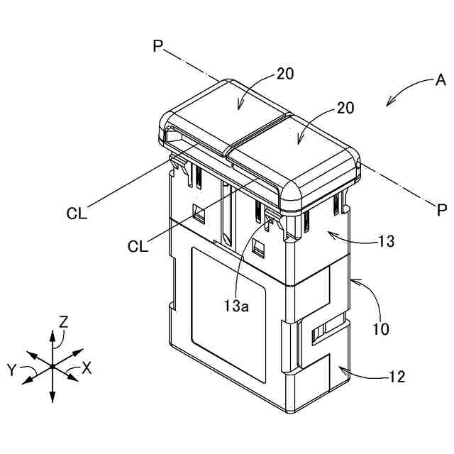
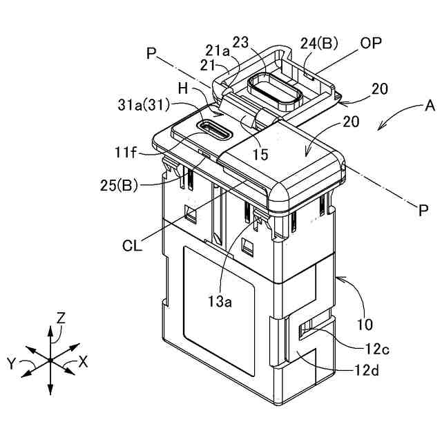
【解決手段】コネクタ1に挿入されるプラグが挿通する挿通孔11fが形成された筐体10と、筐体10に支持され開閉軸心Pを中心に挿通孔11fを覆う閉じ姿勢および挿通孔11fを開放する開放姿勢に切換可能な蓋体20と、を備えている。筐体10は、端部に端部壁11を有し、端部壁11は、本体壁部11Aと、本体壁部11Aの外縁より内側に配置され、本体壁部11Aから筐体10の外方に突出した突出壁部11Bを有し、突出壁部11Bは挿通孔11fを有し、端部壁11は、突出壁部11Bと本体壁部11Aとの境界を含む段差部11Cを有している。
【選択図】図6
特許請求の範囲
【請求項1】
コネクタを実装する基板と、
前記基板を収容し、前記コネクタに挿入されるプラグが挿通する挿通孔が形成された筐体と、
前記筐体に支持され、開閉軸心を中心に前記挿通孔を覆う閉じ姿勢および前記挿通孔を開放する開放姿勢に切換可能な蓋体とを備え、
前記筐体は、端部に端部壁を有し、
前記端部壁は、本体壁部と、前記本体壁部の本体壁部面に直交する方向視において前記本体壁部の外縁より内側に配置され、前記本体壁部面から前記筐体の外方に突出した突出壁部を有し、
前記突出壁部は前記挿通孔を有し、
前記端部壁は、前記本体壁部と前記突出壁部との境界を含む段差部を有しているコネクタユニット。
続きを表示(約 1,000 文字)
【請求項2】
前記蓋体を、前記閉じ姿勢に保持する閉塞保持部を更に備え、
前記閉塞保持部は、前記蓋体と前記段差部との一方に形成された係合体と、他方に形成された被係合体とを有し、前記係合体と前記被係合体とは、前記閉じ姿勢において互いに係合することにより前記蓋体の前記開放姿勢へ変位を抑制する請求項1に記載のコネクタユニット。
【請求項3】
前記端部壁と前記蓋体とに亘って配置され、前記蓋体を前記閉じ姿勢および前記開放姿勢に切換可能に連結するヒンジ部を備え、
前記ヒンジ部は、前記端部壁から外方に突出するヒンジブロックと、前記蓋体に形成され前記ヒンジブロックが嵌まり込むヒンジ凹部と、前記ヒンジブロックに対して前記蓋体を姿勢切換自在に支持するヒンジ軸とを有し、
前記ヒンジ部は、前記ヒンジブロックを前記ヒンジ凹部に嵌め込んだ状態で、前記ヒンジブロックから、前記蓋体のうち前記ヒンジ凹部に隣接する軸受部に亘り、前記開閉軸心と同軸心で前記蓋体を回動可能な状態で前記ヒンジ軸を挿通している請求項1に記載のコネクタユニット。
【請求項4】
前記筐体の内部に配置され、前記挿通孔の内周縁において光を拡散し照光させる照光部材を更に備え、
前記基板は、前記照光部材に前記光を供給する光源を有している請求項1に記載のコネクタユニット。
【請求項5】
前記筐体の内部に配置され、前記光源から前記光が供給され、供給された前記光を導光させて前記照光部材に出射する導光部材を更に備え、
前記照光部材は、前記挿通孔の前記内周縁に嵌め込まれる環状部と、当該環状部に連設され、前記導光部材から出射された前記光が入射する光取得部とを有する請求項4に記載のコネクタユニット。
【請求項6】
前記突出壁部は、2つの前記挿通孔を有し、
前記照光部材は、2つの前記挿通孔の夫々に嵌め込まれる2つ前記環状部と、2つの前記光取得部とが一体的に形成され、
前記導光部材は、2つの前記光取得部を取り囲むループ状部を有すると共に、前記ループ状部に前記光源からの前記光が供給される受光部を有している請求項5に記載のコネクタユニット。
【請求項7】
前記導光部材は、前記本体壁部面に沿う方向視において、少なくとも一部が前記端部壁に重なる位置に配置され、前記突出壁部と、前記光取得部から外側に延設する鍔部とに挟まれることにより固定されている請求項5に記載のコネクタユニット。
発明の詳細な説明
【技術分野】
【0001】
本発明は、コネクタユニットに関する。
続きを表示(約 1,300 文字)
【背景技術】
【0002】
コネクタユニットとして、特許文献1には、筒状のケーシングベースの内部に回路モジュールを収容し、ケーシングベースの一方の端部に開閉自在に防塵蓋を備えたコネクタユニット(本特許文献ではUSB充電ベース)が記載されている。
【0003】
特許文献1では、回路モジュールにUSBソケットを備えており、防塵蓋はバネによって閉じ方向に付勢されている。このコネクタユニットは、防塵壁を開放することにより一対のUSBソケットに対するプラグの挿抜を可能にしている。
【先行技術文献】
【特許文献】
【0004】
実用新案登録第3223195号公報
【発明の概要】
【発明が解決しようとする課題】
【0005】
例えば、車両のドアのうち、キャビンに面する内面にパネルコネクタユニットを備えたものを想定すると、雨天の屋外でドアを開放した場合には、コネクタユニットに雨水が付着することもあった。また、ドアを開放した場合にコネクタユニットに塵埃が付着することも想定された。
【0006】
このように雨水が防塵蓋等に付着した場合には、車両のドアを閉じた後であっても防塵蓋とケーシングベースの隙間から、コネクタユニットに付着した水滴や塵埃がUSBソケットの内部に浸入することが懸念された。
【0007】
このような理由から、蓋体に水滴や塵埃が付着した状態で蓋体を開放してもコネクタに対する水滴や塵埃の浸入を抑制するコネクタユニットが求められる。
【課題を解決するための手段】
【0008】
本発明に係るコネクタユニットの特徴構成は、コネクタを実装する基板と、前記基板を収容し、前記コネクタに挿入されるプラグが挿通する挿通孔が形成された筐体と、前記筐体に支持され、開閉軸心を中心に前記挿通孔を覆う閉じ姿勢および前記挿通孔を開放する開放姿勢に切換可能な蓋体とを備え、前記筐体は、端部に端部壁を有し、前記端部壁は、本体壁部と、前記本体壁部の本体壁部面に直交する方向視において前記本体壁部の外縁より内側に配置され、前記本体壁部面から前記筐体の外方に突出した突出壁部を有し、前記突出壁部は前記挿通孔を有し、前記端部壁は、前記本体壁部と前記突出壁部との境界を含む段差部を有している点にある。
【0009】
本構成によると、蓋体に付着した水滴や塵埃が蓋体を伝って筐体と蓋体との隙間から本体壁部面に移動しても、水滴や塵埃は、突出壁部から段差部を介して本体壁部の本体壁部面に移動し、コネクタの内部に浸入する現象は抑制される。従って、水滴や塵埃が付着した状態で蓋体を開放してもコネクタに対する水の浸入を抑制するコネクタユニットが構成された。
【0010】
上記構成に加えた構成として、前記蓋体を、前記閉じ姿勢に保持する閉塞保持部を更に備え、前記閉塞保持部は、前記蓋体と前記段差部との一方に形成された係合体と、他方に形成された被係合体とを有し、前記係合体と前記被係合体とは、前記閉じ姿勢において互いに係合することにより前記蓋体の前記開放姿勢へ変位を抑制すると好適である。
(【0011】以降は省略されています)
この特許をJ-PlatPat(特許庁公式サイト)で参照する
関連特許
ホシデン株式会社
分解用治具
4か月前
ホシデン株式会社
コネクタユニット
2日前
ホシデン株式会社
コネクタユニット
24日前
ホシデン株式会社
光ファイバアッセンブリの製造方法及び光ファイバアッセンブリ
1か月前
東ソー株式会社
絶縁電線
1か月前
APB株式会社
蓄電セル
28日前
ローム株式会社
半導体装置
29日前
マクセル株式会社
電源装置
22日前
株式会社東芝
端子台
22日前
株式会社ホロン
冷陰極電子源
1か月前
三菱電機株式会社
回路遮断器
9日前
富士電機株式会社
電磁接触器
1日前
株式会社GSユアサ
蓄電装置
15日前
株式会社GSユアサ
蓄電装置
23日前
株式会社GSユアサ
蓄電装置
1日前
株式会社GSユアサ
蓄電装置
23日前
日新イオン機器株式会社
基板処理装置
25日前
日本特殊陶業株式会社
保持装置
1か月前
北道電設株式会社
配電具カバー
28日前
トヨタ自動車株式会社
冷却構造
1か月前
日本特殊陶業株式会社
保持装置
14日前
トヨタ自動車株式会社
蓄電装置
23日前
トヨタ自動車株式会社
バッテリ
28日前
日亜化学工業株式会社
半導体レーザ素子
25日前
株式会社デンソー
電子装置
25日前
ローム株式会社
半導体モジュール
2日前
株式会社トクヤマ
シリコンエッチング液
1か月前
株式会社トクヤマ
シリコンエッチング液
1か月前
トヨタ自動車株式会社
電池パック
1か月前
トヨタ自動車株式会社
電池パック
1か月前
ローム株式会社
半導体装置
1か月前
トヨタ自動車株式会社
密閉型電池
24日前
矢崎総業株式会社
コネクタ
1日前
住友電装株式会社
コネクタ
1日前
住友電装株式会社
コネクタ
1か月前
甲神電機株式会社
変流器及び零相変流器
16日前
続きを見る
他の特許を見る