TOP
|
特許
|
意匠
|
商標
特許ウォッチ
Twitter
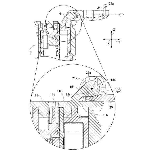
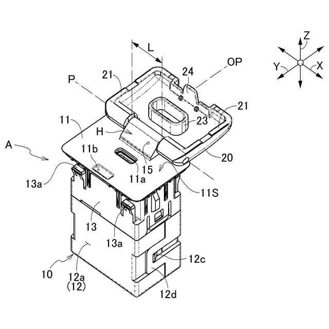
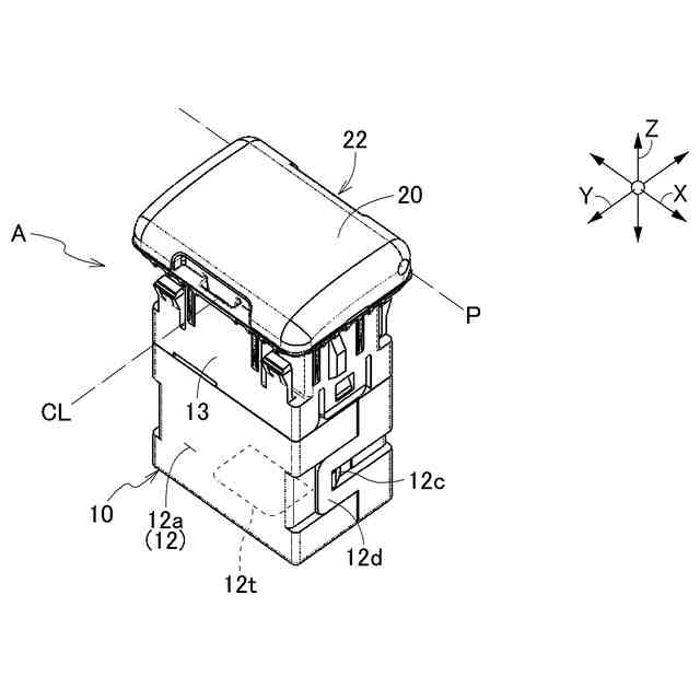
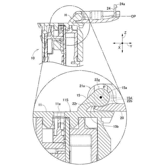
他の特許を見る
公開番号
2025162731
公報種別
公開特許公報(A)
公開日
2025-10-28
出願番号
2024066121
出願日
2024-04-16
発明の名称
コネクタユニット
出願人
ホシデン株式会社
代理人
弁理士法人R&C
主分類
H01R
13/52 20060101AFI20251021BHJP(基本的電気素子)
要約
【課題】コネクタの内部に塵埃や水滴の浸入を適切に防止できるコネクタユニットを提供する。
【解決手段】筐体10と、コネクタに挿入されるプラグが挿通する挿通孔11aを覆うことが可能な蓋体20と、筐体10と蓋体20とを切換可能に連結するヒンジ部Hと、を備えている。筐体10は、挿通孔11aが形成された端部壁11を有し、ヒンジ部Hは、端部壁11の外壁面11Sに立設され第1軸孔11aが形成されたヒンジブロック15と、蓋体20において第2軸孔22bが形成された軸受部21aと、第1軸孔15dから第2軸孔22bに亘って収容されるヒンジ軸と、を有している。蓋体20は、ヒンジ軸を中心に筐体10に対して閉じ姿勢から開放姿勢OPに切換えられる際に、ヒンジブロック15の当接面15bに当接することで開放側の限界を決める当接部22rを有している。
【選択図】図6
特許請求の範囲
【請求項1】
コネクタを実装する基板と、
前記基板を収容する筐体と、
前記筐体に取り付けられ、前記筐体のうち前記コネクタに挿入されるプラグが挿通する挿通孔を覆う閉じ姿勢および開放する開放姿勢に切換可能な蓋体と、
前記筐体と前記蓋体とに亘って配置され、前記筐体と前記蓋体とを切換可能に連結するヒンジ部と、を備え、
前記筐体は、前記挿通孔が形成された端部壁を有しており、
前記ヒンジ部は、前記端部壁の外壁面に立設され、前記端部壁の前記外壁面と平行な第1軸孔が形成されたヒンジブロックと、前記蓋体において第2軸孔が形成された軸受部と、前記第1軸孔から前記第2軸孔に亘って収容され前記筐体と前記蓋体とを連結するヒンジ軸と、を有し、
前記蓋体は、前記ヒンジ軸を中心に前記筐体に対して回動することにより前記閉じ姿勢から前記開放姿勢に切換えられる際に、前記ヒンジブロックのうち、前記外壁面に対向する当接面に当接することにより開放側の限界を決める当接部を有しているコネクタユニット。
続きを表示(約 650 文字)
【請求項2】
前記蓋体は、外周に沿う領域に前記ヒンジブロックが嵌まり込むヒンジ凹部を有し、
前記第2軸孔は、前記ヒンジ凹部に前記ヒンジブロックを嵌め込んだ状態で前記第1軸孔と同軸心になり、
前記当接部は、前記ヒンジ凹部に形成されている請求項1に記載のコネクタユニット。
【請求項3】
前記当接部は、前記ヒンジ軸の長手方向に沿う当接部長が、前記ヒンジ凹部の前記ヒンジ軸の長手方向に沿う凹部長に等しい、又は、僅かに短い請求項2に記載のコネクタユニット。
【請求項4】
前記軸受部が、前記ヒンジ軸の長手に沿う方向で前記ヒンジブロックの両側に形成されている請求項1に記載のコネクタユニット。
【請求項5】
前記ヒンジブロックが、前記第1軸孔が形成されたブロック端面を有し、
前記軸受部が、前記ブロック端面に対向する位置において前記第2軸孔が形成された蓋体端面を有し、
前記ブロック端面の前記第1軸孔を含む中央領域には、前記ブロック端面から突出させた突出係合部が形成され、
前記蓋体端面の前記第2軸孔を含む中央領域には、前記突出係合部の導入が可能な溝状部が形成されている請求項1に記載のコネクタユニット。
【請求項6】
前記溝状部は、前記蓋体が前記閉じ姿勢にある状態で前記蓋体の開閉中心となる開閉軸心から径方向で前記端部壁の方向に延びる領域に形成されている請求項5に記載のコネクタユニット。
発明の詳細な説明
【技術分野】
【0001】
本発明は、コネクタユニットに関する。
続きを表示(約 1,600 文字)
【背景技術】
【0002】
特許文献1には、本体筐体の端部に備えたフロントパネルにプラグ挿入開口が形成され、このプラグ挿入開口を開閉する上シャッタ板と下シャッタ板とを備えた車載用のコネクタが記載されている。
【0003】
特許文献1のコネクタは、プラグが挿入されない場合にはプラグ挿入開口を上シャッタ板と下シャッタ板とで閉じ状態に維持する。これに対し、プラグが挿入された場合には、上シャッタ板と下シャッタ板とを、変位させることにより、プラグ挿入開口を開きながらプラグの挿入を可能にする。
【先行技術文献】
【特許文献】
【0004】
特開2018-195455号公報
【発明の概要】
【発明が解決しようとする課題】
【0005】
しかしながら、特許文献1のようにプラグ挿入開口の近傍に配置した一対のシャッタ板をプラグの挿入時の圧力で変位させてプラグ挿入開口を開放する構成では、塵埃や水滴がコネクタの内部に侵入することが懸念された。
【0006】
特に、シャッタ板が上側に向かう構成では、シャッタ板が閉じた状態で、シャッタ板の外壁面に塵埃や水滴が付着することも考えられ、これらの塵埃や水滴がプラグの挿入に伴いコネクタの内部に侵入することも想像でき、改善の余地がある。
【0007】
このような理由から、コネクタの内部に塵埃や水滴の浸入を適切に防止できるコネクタユニットが求められる。
【課題を解決するための手段】
【0008】
本発明に係るコネクタユニットの特徴構成は、コネクタを実装する基板と、前記基板を収容する筐体と、前記筐体に取り付けられ、前記筐体のうち前記コネクタに挿入されるプラグが挿通する挿通孔を覆う閉じ姿勢および開放する開放姿勢に切換可能な蓋体と、前記筐体と前記蓋体とに亘って配置され、前記筐体と前記蓋体とを切換可能に連結するヒンジ部と、を備え、前記筐体は、前記挿通孔が形成された端部壁を有しており、前記ヒンジ部は、前記端部壁の外壁面に立設され、前記端部壁の前記外壁面と平行な第1軸孔が形成されたヒンジブロックと、前記蓋体において第2軸孔が形成された軸受部と、前記第1軸孔から前記第2軸孔に亘って収容され前記筐体と前記蓋体とを連結するヒンジ軸と、を有し、前記蓋体は、前記ヒンジ軸を中心に前記筐体に対して回動することにより前記閉じ姿勢から前記開放姿勢に切換えられる際に、前記ヒンジブロックのうち、前記外壁面に対向する当接面に当接することにより開放側の限界を決める当接部を有している点にある。
【0009】
本構成によると、筐体に対しヒンジ部によって蓋体を回動させ閉じ姿勢にすることにより、筐体の端部壁の挿通孔を覆うことが可能となる。これに対し、蓋体を回動させて開放姿勢にすることにより、当接部が、ヒンジブロックのうち外壁面に対向する当接面に当接し、蓋体の開放側の限界が決まる。これにより、挿通孔が開放され、コネクタに対するプラグの挿抜を容易に行える。また、ヒンジブロックにおいて第1軸孔を端部壁の近傍に配置するように構成することも可能である。このように構成することにより、結果としてコネクタユニットの小型化を可能にする。更に、蓋体の側に当接部を形成するだけで蓋体の開放側の限界を決めることが可能となり、蓋体の過度の回動による蓋体及び/又は筐体の破損を招くことがない。
従って、コネクタの内部に塵埃や水滴の浸入を適切に防止できるコネクタユニットが構成された。
【0010】
上記構成に加えた構成として、前記蓋体は、外周に沿う領域に前記ヒンジブロックが嵌まり込むヒンジ凹部を有し、前記第2軸孔は、前記ヒンジ凹部に前記ヒンジブロックを嵌め込んだ状態で前記第1軸孔と同軸心になり、前記当接部は、前記ヒンジ凹部に形成されていると好適である。
(【0011】以降は省略されています)
この特許をJ-PlatPat(特許庁公式サイト)で参照する
関連特許
ホシデン株式会社
分解用治具
4か月前
ホシデン株式会社
コネクタユニット
4日前
ホシデン株式会社
コネクタユニット
26日前
ホシデン株式会社
光ファイバアッセンブリの製造方法及び光ファイバアッセンブリ
1か月前
APB株式会社
蓄電セル
1か月前
東ソー株式会社
絶縁電線
1か月前
個人
フレキシブル電気化学素子
1か月前
マクセル株式会社
電源装置
24日前
株式会社東芝
端子台
24日前
日新イオン機器株式会社
イオン源
1か月前
ローム株式会社
半導体装置
1か月前
株式会社ユーシン
操作装置
1か月前
株式会社GSユアサ
蓄電装置
25日前
株式会社GSユアサ
蓄電装置
3日前
株式会社GSユアサ
蓄電装置
17日前
株式会社GSユアサ
蓄電装置
25日前
三菱電機株式会社
回路遮断器
11日前
株式会社ホロン
冷陰極電子源
1か月前
オムロン株式会社
電磁継電器
1か月前
太陽誘電株式会社
コイル部品
1か月前
株式会社GSユアサ
蓄電設備
1か月前
株式会社GSユアサ
蓄電設備
1か月前
富士電機株式会社
電磁接触器
3日前
トヨタ自動車株式会社
蓄電装置
1か月前
トヨタ自動車株式会社
バッテリ
1か月前
日新イオン機器株式会社
基板処理装置
27日前
トヨタ自動車株式会社
バッテリ
1か月前
ノリタケ株式会社
熱伝導シート
1か月前
日東電工株式会社
積層体
1か月前
北道電設株式会社
配電具カバー
1か月前
トヨタ自動車株式会社
蓄電装置
25日前
日本特殊陶業株式会社
保持装置
16日前
サクサ株式会社
電池の固定構造
1か月前
トヨタ自動車株式会社
冷却構造
1か月前
日本特殊陶業株式会社
保持装置
1か月前
トヨタ自動車株式会社
電池パック
1か月前
続きを見る
他の特許を見る