TOP
|
特許
|
意匠
|
商標
特許ウォッチ
Twitter
他の特許を見る
10個以上の画像は省略されています。
公開番号
2025158709
公報種別
公開特許公報(A)
公開日
2025-10-17
出願番号
2024061515
出願日
2024-04-05
発明の名称
光ファイバアッセンブリの製造方法及び光ファイバアッセンブリ
出願人
ホシデン株式会社
代理人
個人
主分類
G02B
6/26 20060101AFI20251009BHJP(光学)
要約
【目的】 本発明は光ファイバを固定した状態で透光性樹脂を塗布できるようにする。
【構成】 アッセンブリA1の製造方法は、光ファイバ200の被固定部220をベース100の位置決め溝120内に配置し且つ光ファイバ200の先端部210を光反射溝110内に配置する。第1樹脂300を塗布し、塗布された第1樹脂300の第1部310が位置決め溝110を通って逃げ溝130に流れ込み且つ塗布された第1樹脂300の第2部320が位置決め溝120に流れ込む。第1部310を逃げ溝130内で固化し且つ第2部320を位置決め溝120内で固化して被固定部220を位置決め溝120の壁面121に固定する。第2樹脂400を塗布して光反射溝110内に充填し且つ固化した第1部310、光反射溝110のミラー面111、その反対面112及び先端部210に付着させる。第2樹脂400を固化する。
【選択図】 図5
特許請求の範囲
【請求項1】
ベースを用意し、
少なくとも一つの光ファイバを用意し、
前記少なくとも一つの光ファイバを前記ベース上に配置し、
少なくとも一つの第1樹脂を塗布し、
塗布された前記少なくとも一つの第1樹脂を固化し、
前記少なくとも一つの光ファイバのコアと略同じ屈折率及び/又は略1.4~略1.6の屈折率を有する透光性を有する第2樹脂を塗布し、且つ
塗布された前記第2樹脂を固化することを含む光ファイバアッセンブリの製造方法であって、
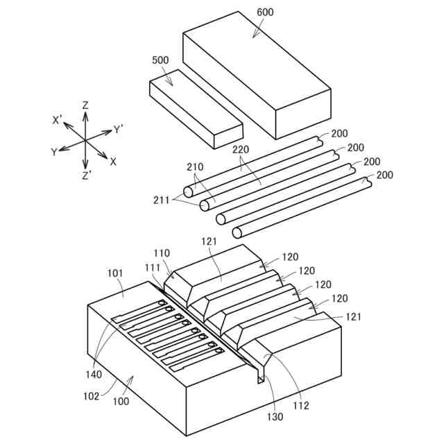
前記ベースの第1方向の一方側の第1面上には、光反射溝と、少なくとも一つの位置決め溝と、逃げ溝とが設けられており、前記第1方向は、前記ベースの厚み方向であり、
前記光反射溝は、前記第1方向の一方に開口した溝であって、前記第1方向に略直交する第2方向の一方側のミラー面と、前記ミラー面に対向する反対面とを有しており、
前記少なくとも一つの位置決め溝は、前記光反射溝から前記第2方向の他方に延びた長溝であって、前記第1方向の一方に開口しており且つ前記光反射溝に連通しており、
前記逃げ溝は、前記光反射溝から前記第1方向の他方に延びた有底穴であって、前記光反射溝及び前記少なくとも一つの位置決め溝に連通しており又は前記光反射溝に連通し且つ前記光反射溝を介して前記少なくとも一つの位置決め溝に連通しており、
前記少なくとも一つの光ファイバは、前記第2方向の一方側の先端部と、前記先端部に対して前記第2方向の他方側の被固定部とを有しており、前記先端部は、前記少なくとも一つの光ファイバの前記第2方向の一方側の先端面を有しており、
前記少なくとも一つの光ファイバの前記ベース上への配置は、前記少なくとも一つの光ファイバの前記被固定部を前記少なくとも一つの位置決め溝内に配置し、且つ、前記少なくとも一つの光ファイバの前記先端面が前記光反射溝の前記ミラー面に対向するように、前記少なくとも一つの光ファイバの前記先端部を前記光反射溝内に配置することを含み、
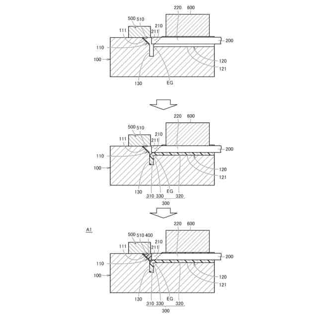
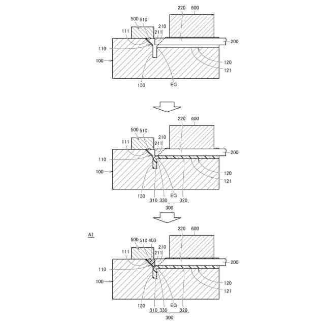
前記少なくとも一つの第1樹脂の塗布は、前記少なくとも一つの光ファイバの前記ベース上への配置後に、前記少なくとも一つの位置決め溝内に溶融した前記少なくとも一つの第1樹脂を塗布し、塗布された前記少なくとも一つの第1樹脂の第1部が前記少なくとも一つの位置決め溝を通って又は前記少なくとも一つの位置決め溝及び前記光反射溝を通って前記逃げ溝に流れ込み、且つ、塗布された前記少なくとも一つの第1樹脂の第2部が前記少なくとも一つの位置決め溝に流れ込んで前記少なくとも一つの光ファイバの前記被固定部及び前記少なくとも一つの位置決め溝の壁面に付着することを含み、
前記少なくとも一つの第1樹脂の固化は、前記少なくとも一つの第1樹脂の前記第1部が前記逃げ溝内で固化し、且つ、前記少なくとも一つの第1樹脂の前記第2部が前記少なくとも一つの位置決め溝内で固化して前記少なくとも一つの光ファイバの前記被固定部を前記少なくとも一つの位置決め溝の前記壁面に固定することを含み、
前記第2樹脂の塗布は、前記少なくとも一つの第1樹脂の固化後に、前記光反射溝内に溶融した前記第2樹脂を塗布して、当該第2樹脂を少なくとも前記光反射溝内に充填し且つ固化した前記少なくとも一つの第1樹脂の前記第1部、前記光反射溝の前記ミラー面、前記光反射溝の前記反対面及び前記少なくとも一つの光ファイバの前記先端部に付着させることを含む光ファイバアッセンブリの製造方法。
続きを表示(約 4,400 文字)
【請求項2】
請求項1記載の光ファイバアッセンブリの製造方法において、
前記少なくとも一つの第1樹脂の塗布は、溶融した前記少なくとも一つの第1樹脂が前記少なくとも一つの位置決め溝、前記光反射溝、前記逃げ溝の順に流れ込み、且つ、前記少なくとも一つの第1樹脂のうち、前記少なくとも一つの位置決め溝内に流れ込んだ部分が前記少なくとも一つの第1樹脂の前記第2部となり、前記光反射溝内に流れ込んだ部分が前記少なくとも一つの第1樹脂の第3部となり、前記逃げ溝内に流れ込んだ部分が前記少なくとも一つの第1樹脂の前記第1部となることを更に含んでおり、
前記少なくとも一つの第1樹脂の固化は、前記少なくとも一つの第1樹脂の前記第3部が前記光反射溝内で固化することを更に含む光ファイバアッセンブリの製造方法。
【請求項3】
請求項1又は2記載の光ファイバアッセンブリの製造方法において、
前記ベースの前記少なくとも一つの位置決め溝は、複数であって、前記第1方向及び前記第2方向に略直交する第3方向に間隔をあけて配置されており、
前記ベースの前記光反射溝は、前記第3方向に延びており且つ前記複数の位置決め溝に連通しており、
前記ベースの前記逃げ溝は、前記第3方向に延びており、且つ、前記光反射溝及び前記複数の位置決め溝に連通しており又は前記光反射溝に連通し且つ前記光反射溝を介して前記複数の位置決め溝に連通しており、
前記少なくとも一つの光ファイバは、複数であり、
前記少なくとも一つの光ファイバの前記ベース上への配置は、前記複数の光ファイバの前記被固定部を前記複数の位置決め溝内に配置し、且つ、前記複数の光ファイバの前記先端面が前記光反射溝の前記ミラー面に対向するように、前記複数の光ファイバの前記先端部を前記光反射溝内に配置することを含み、
前記少なくとも一つの第1樹脂の塗布は、前記複数の光ファイバの前記ベース上への配置後に、前記複数の位置決め溝内に溶融した前記複数の第1樹脂を塗布し、塗布された前記複数の第1樹脂の前記第1部が前記複数の位置決め溝を通って又は前記複数の位置決め溝及び前記光反射溝を通って前記逃げ溝に流れ込み、且つ、塗布された前記複数の第1樹脂の前記第2部が前記複数の位置決め溝に流れ込んで前記複数の光ファイバの前記被固定部及び前記複数の位置決め溝の前記壁面に付着することを含み、
前記少なくとも一つの第1樹脂の固化は、前記複数の第1樹脂の前記第1部が前記逃げ溝内で固化し、且つ、前記複数の第1樹脂の前記第2部が前記複数の位置決め溝内で固化して前記複数の光ファイバの前記被固定部を前記複数の位置決め溝の前記壁面に固定することを含み、
前記第2樹脂の塗布は、少なくとも前記光反射溝内に充填された前記第2樹脂を、固化した前記複数の第1樹脂の前記第1部、前記光反射溝の前記ミラー面、前記光反射溝の前記反対面及び前記複数の光ファイバの前記先端部に付着させることを含む光ファイバアッセンブリの製造方法。
【請求項4】
請求項3記載の光ファイバアッセンブリの製造方法において、
前記複数の第1樹脂の塗布は、前記逃げ溝に流れ込んだ前記複数の第1樹脂の前記第1部が前記逃げ溝内で一体化することを更に含む光ファイバアッセンブリの製造方法。
【請求項5】
請求項3記載の光ファイバアッセンブリの製造方法において、
前記第2樹脂の塗布は、塗布された前記第2樹脂を前記光反射溝内の前記第3方向の一方側から前記第3方向の他方側へ流入させ、前記第2樹脂を少なくとも前記光反射溝内に充填させることを更に含む光ファイバアッセンブリの製造方法。
【請求項6】
ベースを用意し、
少なくとも一つの光ファイバを用意し、
前記少なくとも一つの光ファイバを前記ベース上に配置し、
少なくとも一つの第1樹脂を塗布し、
塗布された前記少なくとも一つの第1樹脂を固化し、
前記少なくとも一つの光ファイバのコアと略同じ屈折率及び/又は略1.4~略1.6の屈折率を有する透光性を有する第2樹脂を塗布し、且つ
塗布された前記第2樹脂を固化することを含む光ファイバアッセンブリの製造方法であって、
前記ベースの第1方向の一方側の第1面上には、光反射溝と、少なくとも一つの位置決め溝と、逃げ溝とが設けられており、前記第1方向は、前記ベースの厚み方向であり、
前記光反射溝は、前記第1方向の一方に開口した溝であって、前記第1方向に略直交する第2方向の一方側のミラー面と、前記ミラー面に対向する反対面とを有しており、
前記少なくとも一つの位置決め溝は、前記光反射溝から前記第2方向の他方に延びた長溝であって、前記第1方向の一方に開口しており且つ前記光反射溝に連通しており、
前記逃げ溝は、前記光反射溝から前記第1方向の他方に延びた有底穴であって、前記光反射溝及び前記少なくとも一つの位置決め溝に連通しており、
前記少なくとも一つの光ファイバは、前記第2方向の一方側の先端部と、前記先端部に対して前記第2方向の他方側の被固定部とを有しており、前記先端部は、前記少なくとも一つの光ファイバの前記第2方向の一方側の先端面を有しており、
前記少なくとも一つの光ファイバの前記ベース上への配置は、前記少なくとも一つの光ファイバの前記被固定部を前記少なくとも一つの位置決め溝内に配置し、且つ、前記少なくとも一つの光ファイバの前記先端面が前記光反射溝の前記ミラー面に対向するように、前記少なくとも一つの光ファイバの前記先端部を前記光反射溝内に配置することを含み、
前記少なくとも一つの第1樹脂の塗布は、前記少なくとも一つの光ファイバの前記ベース上への配置後に、前記少なくとも一つの位置決め溝内に溶融した前記少なくとも一つの第1樹脂を塗布し、前記少なくとも一つの第1樹脂が前記少なくとも一つの光ファイバの前記被固定部及び前記少なくとも一つの位置決め溝の壁面に付着することを含み、
前記少なくとも一つの第1樹脂の固化は、前記少なくとも一つの第1樹脂が前記少なくとも一つの位置決め溝内で固化して前記少なくとも一つの光ファイバの前記被固定部を前記少なくとも一つの位置決め溝の前記壁面に固定することを含み、
前記第2樹脂の塗布は、前記少なくとも一つの第1樹脂の固化後に、前記光反射溝内及び/又は前記逃げ溝内に溶融した前記第2樹脂を塗布して、当該第2樹脂を前記光反射溝内及び前記逃げ溝内に充填し且つ前記少なくとも一つの第1樹脂、前記光反射溝の前記ミラー面、前記光反射溝の前記反対面及び前記少なくとも一つの光ファイバの前記先端部に付着させることを含む光ファイバアッセンブリの製造方法。
【請求項7】
請求項6記載の光ファイバアッセンブリの製造方法において、
前記ベースの前記少なくとも一つの位置決め溝は、複数であって、前記第1方向及び前記第2方向に略直交する第3方向に間隔をあけて配置されており、
前記ベースの前記光反射溝は、前記第3方向に延びており且つ前記複数の位置決め溝に連通しており、
前記ベースの前記逃げ溝は、前記第3方向に延びており、且つ、前記光反射溝及び前記複数の位置決め溝に連通しており、
前記少なくとも一つの光ファイバは、複数であり、
前記少なくとも一つの光ファイバの前記ベース上への配置は、前記複数の光ファイバの前記被固定部を前記複数の位置決め溝内に配置し、且つ、前記複数の光ファイバの前記先端面が前記光反射溝の前記ミラー面に対向するように、前記複数の光ファイバの前記先端部を前記光反射溝内に配置することを含み、
前記少なくとも一つの第1樹脂の塗布は、前記複数の光ファイバの前記ベース上への配置後に、前記複数の位置決め溝内に溶融した前記複数の第1樹脂を塗布し、前記複数の第1樹脂が前記複数の光ファイバの前記被固定部及び前記複数の位置決め溝の前記壁面に付着することを含み、
前記少なくとも一つの第1樹脂の固化は、前記複数の第1樹脂が前記複数の位置決め溝内で固化して前記複数の光ファイバの前記被固定部を前記複数の位置決め溝の前記壁面に固定することを含み、
前記第2樹脂の塗布は、前記光反射溝内及び前記逃げ溝内に充填された前記第2樹脂を前記複数の第1樹脂、前記光反射溝の前記ミラー面、前記光反射溝の前記反対面及び前記複数の光ファイバの前記先端部に付着させることを含む光ファイバアッセンブリの製造方法。
【請求項8】
請求項6又は7記載の光ファイバアッセンブリの製造方法において、
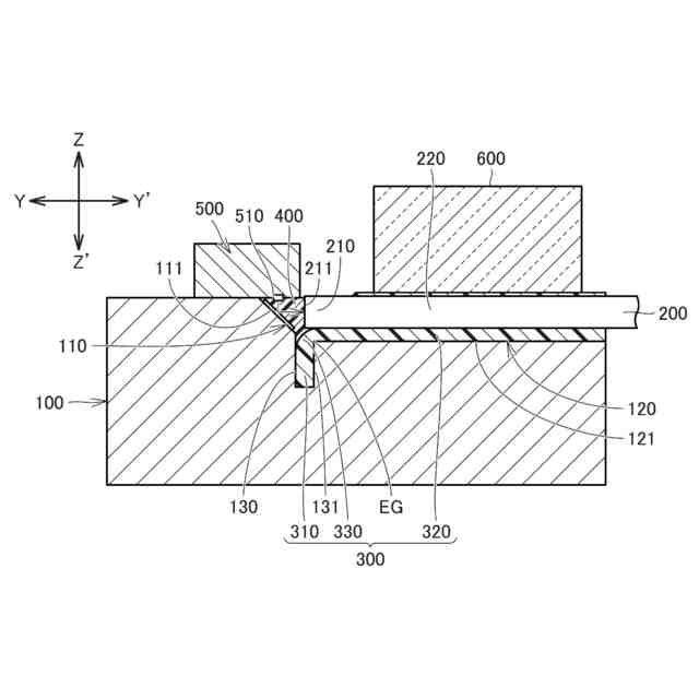
前記逃げ溝の前記第2方向の他方側の壁面と前記少なくとも一つの位置決め溝の前記壁面とが突き当たって少なくとも一つのエッジを構成しており、
前記少なくとも一つの光ファイバの前記被固定部の前記少なくとも一つの位置決め溝内への配置は、前記少なくとも一つの光ファイバが前記少なくとも一つのエッジに対して前記第1方向の一方側に間隙を有して配置されることを更に含み、
前記少なくとも一つの第1樹脂は、所定の粘度を有しており、
前記少なくとも一つの第1樹脂の塗布は、塗布された前記少なくとも一つの第1樹脂が前記少なくとも一つのエッジと前記少なくとも一つの光ファイバとの間の前記間隙で止まることを更に含む光ファイバアッセンブリの製造方法。
【請求項9】
請求項6記載の光ファイバアッセンブリの製造方法において、
前記第2樹脂の塗布は、塗布された前記第2樹脂を前記光反射溝内及び前記逃げ溝内の前記第1方向及び前記第2方向に略直交する第3方向の一方側から前記第3方向の他方側へ流入させ、前記第2樹脂を前記光反射溝内及び前記逃げ溝内に充填させることを更に含む光ファイバアッセンブリの製造方法。
【請求項10】
請求項1又は6記載の光ファイバアッセンブリの製造方法において、
前記少なくとも一つの光ファイバの前記ベース上への配置後に、前記ベースの前記第1面上に押さえ部材を配置することを更に含んでおり、
前記押さえ部材の配置は、前記少なくとも一つの光ファイバの前記被固定部を前記ベースと前記押さえ部材とで挟持することを含み、
前記少なくとも一つの第1樹脂の塗布は、前記押さえ部材の配置後に行う光ファイバアッセンブリの製造方法。
(【請求項11】以降は省略されています)
発明の詳細な説明
【技術分野】
【0001】
本発明は、光ファイバアッセンブリの製造方法及び光ファイバアッセンブリに関する。
続きを表示(約 1,900 文字)
【背景技術】
【0002】
下記特許文献1には、従来の光ファイバアッセンブリが記載されている。この光ファイバアッセンブリは、シリコン基板と、光ファイバと、PDチップと、透光性樹脂と、固定樹脂とを備えている。シリコン基板の表面には、第1V溝と、第2V溝と、間隙溝とが形成されている。第1V溝と第2V溝とは、これらの長手方向に間隔をあけて配置されている。第2V溝は、第1V溝よりも狭く浅い溝であって、長手方向の一方側に位置するミラー面を有している。間隙溝は、第1V溝と第2V溝との間に設けられており且つ両者に直交するように延びている。光ファイバは、長手方向の一方側の先端部と、先端部に対して長手方向の他方側に位置する被固定部とを有している。光ファイバの先端部が間隙溝内に配置され且つ第2V溝のミラー面に対向すると共に、光ファイバの被固定部が第1V溝に挿入されている。PDチップは、シリコン基板の表面に実装されており且つ第2V溝のミラー面を介して光ファイバに光接続されている。透光性樹脂は、光ファイバの先端部、間隙溝、第2V溝及びPDチップの周りに塗布されており且つこれらを覆っている。固定樹脂は、透光性樹脂を覆うように光ファイバの被固定部及びシリコン基板の表面に塗布されており且つ光ファイバの被固定部をシリコン基板に固定している。
【先行技術文献】
【特許文献】
【0003】
特開2020-098192号公報
【発明の概要】
【発明が解決しようとする課題】
【0004】
従来の光ファイバアッセンブリは、透光性樹脂が塗布されるときに、光ファイバの先端部が間隙溝内に配置され、光ファイバの被固定部が第1V溝に収容されているだけであるので、光ファイバが動いてしまう恐れがある。
【0005】
本発明は、光ファイバを固定した状態で透光性を有する樹脂を塗布できるようにした光ファイバアッセンブリの製造方法及び光ファイバアッセンブリを提供する。
【課題を解決するための手段】
【0006】
本発明の一態様の光ファイバアッセンブリの製造方法は、ベースを用意し、少なくとも一つの光ファイバを用意し、少なくとも一つの光ファイバをベース上に配置し、少なくとも一つの第1樹脂を塗布し、塗布された少なくとも一つの第1樹脂を固化し、少なくとも一つの光ファイバのコアと略同じ屈折率及び/又は略1.4~略1.6の屈折率を有する透光性を有する第2樹脂を塗布し、且つ塗布された第2樹脂を固化することを含む。
【0007】
ベースの第1方向の一方側の第1面上には、光反射溝と、少なくとも一つの位置決め溝と、逃げ溝とが設けられている。第1方向は、ベースの厚み方向である。光反射溝は、第1方向の一方に開口した溝であって、第1方向に略直交する第2方向の一方側のミラー面と、ミラー面に対向する反対面とを有している。少なくとも一つの位置決め溝は、光反射溝から第2方向の他方に延びた長溝であって、第1方向の一方に開口しており且つ光反射溝に連通している。逃げ溝は、光反射溝から第1方向の他方に延びた有底穴であって、光反射溝及び少なくとも一つの位置決め溝に連通している又は光反射溝に連通し且つ光反射溝を介して少なくとも一つの位置決め溝に連通している。
【0008】
少なくとも一つの光ファイバは、第2方向の一方側の先端部と、先端部に対して第2方向の他方側の被固定部とを有している。先端部は、少なくとも一つの光ファイバの第2方向の一方側の先端面を有している。
【0009】
少なくとも一つの光ファイバのベース上への配置は、少なくとも一つの光ファイバの被固定部を少なくとも一つの位置決め溝内に配置し、且つ、少なくとも一つの光ファイバの先端面が光反射溝のミラー面に対向するように、少なくとも一つの光ファイバの先端部を光反射溝内に配置することを含む。
【0010】
少なくとも一つの第1樹脂の塗布は、少なくとも一つの光ファイバのベース上への配置後に、少なくとも一つの位置決め溝内に溶融した少なくとも一つの第1樹脂を塗布し、塗布された少なくとも一つの第1樹脂の第1部が少なくとも一つの位置決め溝を通って又は少なくとも一つの位置決め溝及び光反射溝を通って逃げ溝に流れ込み、且つ、塗布された少なくとも一つの第1樹脂の第2部が少なくとも一つの位置決め溝に流れ込んで少なくとも一つの光ファイバの被固定部及び少なくとも一つの位置決め溝の壁面に付着することを含む。
(【0011】以降は省略されています)
この特許をJ-PlatPat(特許庁公式サイト)で参照する
関連特許
ホシデン株式会社
分解用治具
4か月前
ホシデン株式会社
コネクタユニット
2日前
ホシデン株式会社
コネクタユニット
24日前
ホシデン株式会社
光ファイバアッセンブリの製造方法及び光ファイバアッセンブリ
1か月前
個人
立体像表示装置
1か月前
住友化学株式会社
偏光板
1か月前
カンタツ株式会社
光学系
1か月前
株式会社シグマ
結像光学系
14日前
株式会社シグマ
結像光学系
24日前
住友化学株式会社
垂直偏光板
1か月前
東レ株式会社
赤外線遮蔽構成体
1か月前
東レ株式会社
貼合体の製造方法
1か月前
日本精機株式会社
ミラーユニット
23日前
古河電気工業株式会社
融着機
1か月前
日本電気株式会社
光モジュール
24日前
豊田合成株式会社
調光装置
1日前
日東電工株式会社
導光部材
14日前
株式会社コシナ
投射ズームレンズ
7日前
個人
多方向視差効果のための微細穴加工
25日前
三菱電機株式会社
レンズモジュール
1か月前
個人
眼鏡装着位置変更具および眼鏡
1か月前
京セラ株式会社
光学系
22日前
日東電工株式会社
光学積層体
16日前
日本精機株式会社
ヘッドアップディスプレイ
17日前
日本精機株式会社
ヘッドアップディスプレイ
14日前
住友化学株式会社
偏光板
1か月前
住友化学株式会社
偏光板
1か月前
AGC株式会社
インフィニティミラー
1か月前
日本精機株式会社
ヘッドアップディスプレイ装置
15日前
住友化学株式会社
光学積層体
1か月前
日本精機株式会社
ヘッドアップディスプレイ装置
14日前
マクセル株式会社
映像表示装置
7日前
新光電気工業株式会社
光導波路部品
1か月前
新光電気工業株式会社
光導波路部品
1か月前
住友化学株式会社
偏光積層体
1か月前
株式会社リコー
光走査装置及び画像形成装置
14日前
続きを見る
他の特許を見る