TOP
|
特許
|
意匠
|
商標
特許ウォッチ
Twitter
他の特許を見る
公開番号
2025170611
公報種別
公開特許公報(A)
公開日
2025-11-19
出願番号
2024075340
出願日
2024-05-07
発明の名称
電池搭載構造
出願人
トヨタ自動車株式会社
代理人
弁理士法人酒井国際特許事務所
主分類
H01M
50/244 20210101AFI20251112BHJP(基本的電気素子)
要約
【課題】電池パックが損傷することを抑制することができる電池搭載構造を提供すること。
【解決手段】電池搭載構造は、フレームより剛性が高い部材からなる高剛性部材を含む電池パックと、前記電池パックを車体に固定する電池ブラケットであって、前記車体に入力された衝撃を前記高剛性部材に伝達する電池ブラケットと、を備える。
【選択図】図3
特許請求の範囲
【請求項1】
フレームより剛性が高い部材からなる高剛性部材を含む電池パックと、
前記電池パックを車体に固定する電池ブラケットであって、前記車体に入力された衝撃を前記高剛性部材に伝達する電池ブラケットと、
を備える電池搭載構造。
続きを表示(約 170 文字)
【請求項2】
前記高剛性部材は、前記電池パックの底面に配置されている請求項1に記載の電池搭載構造。
【請求項3】
前記電池ブラケットは、前記電池パックとロアアームとを締結する請求項1に記載の電池搭載構造。
【請求項4】
前記電池ブラケットは、前記フレームより剛性が低い請求項1に記載の電池搭載構造。
発明の詳細な説明
【技術分野】
【0001】
本開示は、電池搭載構造に関する。
続きを表示(約 1,400 文字)
【背景技術】
【0002】
特許文献1には、衝撃吸収部材が筐体の側面に取り付けられている電池パックユニットが記載されている。これにより、電池パックユニットに衝撃が加わった際に筐体が損傷することを抑制し、組電池に衝撃が加わることを抑制している。
【先行技術文献】
【特許文献】
【0003】
特開2022-158479号公報
【発明の概要】
【発明が解決しようとする課題】
【0004】
特許文献1の電池パックユニットは、電池パックユニットを構成する部材の強度が一様であるため、荷重の加わり方によっては電池パックユニットが損傷する場合がある。
【0005】
本開示は、上記に鑑みてなされたものであって、電池パックが損傷することを抑制することができる電池搭載構造を提供することを目的とする。
【課題を解決するための手段】
【0006】
本開示に係る電池搭載構造は、フレームより剛性が高い部材からなる高剛性部材を含む電池パックと、前記電池パックを車体に固定する電池ブラケットであって、前記車体に入力された衝撃を前記高剛性部材に伝達する電池ブラケットと、を備える。
【発明の効果】
【0007】
本開示によれば、電池パックが損傷することを抑制することができる電池搭載構造を実現することができる。
【図面の簡単な説明】
【0008】
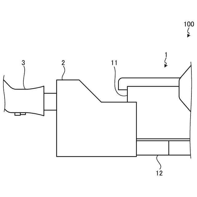
図1は、実施形態に係る電池搭載構造の概略的な構成を表す図である。
図2は、図1に示す電池搭載構造の電池ブラケットを拡大した上面図である。
図3は、図1に示す電池搭載構造の電池ブラケットを拡大した側面図である。
図4は、ロアアームの移動量とフレームの変形量とを表す図である。
図5は、実施例に係る電池搭載構造の概略的な構成を表す図である。
図6は、ロアアームの移動量とフレームの変形量とを表す図である。
図7は、実施例に係る電池搭載構造の概略的な構成を表す図である。
図8は、ロアアームの移動量とフレームの変形量とを表す図である。
【発明を実施するための形態】
【0009】
本開示の実施形態に係る電池搭載構造について、図面を参照しながら説明する。なお、下記実施形態における構成要素には、当業者が置換可能かつ容易なもの、あるいは実質的に同一のものが含まれる。
【0010】
(実施形態)
図1は、実施形態に係る電池搭載構造の概略的な構成を表す図である。電池搭載構造100は、電池パック1と、電池ブラケット2と、を備える。電池搭載構造100は、例えば電気自動車(BEV:Battery Electric Vehicle)、ハイブリッド車(HEV:Hybrid Electric Vehicle)、プラグインハイブリッド車(PHEV:Plug-in Hybrid Electric Vehicle)等の車両に搭載されている。電池パック1は、車体のフロア下方であって、車体の骨格を形成するフロアフレームとクロスメンバとによって囲まれた領域内に配置されている。電池ブラケット2は、電池パック1に対して、車両の前方側に設けられている。
(【0011】以降は省略されています)
この特許をJ-PlatPat(特許庁公式サイト)で参照する
関連特許
トヨタ自動車株式会社
方法
1か月前
トヨタ自動車株式会社
電池
1日前
トヨタ自動車株式会社
車両
1か月前
トヨタ自動車株式会社
治具
23日前
トヨタ自動車株式会社
車両
15日前
トヨタ自動車株式会社
電池
1か月前
トヨタ自動車株式会社
車両
1か月前
トヨタ自動車株式会社
車体
1か月前
トヨタ自動車株式会社
電池
16日前
トヨタ自動車株式会社
電池
7日前
トヨタ自動車株式会社
方法
29日前
トヨタ自動車株式会社
方法
29日前
トヨタ自動車株式会社
車両
29日前
トヨタ自動車株式会社
車体
15日前
トヨタ自動車株式会社
椅子
1か月前
トヨタ自動車株式会社
車両
24日前
トヨタ自動車株式会社
車両
16日前
トヨタ自動車株式会社
車両
1か月前
トヨタ自動車株式会社
配管
2日前
トヨタ自動車株式会社
電池
28日前
トヨタ自動車株式会社
方法
1か月前
トヨタ自動車株式会社
方法
28日前
トヨタ自動車株式会社
方法
1か月前
トヨタ自動車株式会社
車両
2日前
トヨタ自動車株式会社
車両
15日前
トヨタ自動車株式会社
車両
1か月前
トヨタ自動車株式会社
車両
22日前
トヨタ自動車株式会社
車両
28日前
トヨタ自動車株式会社
方法
15日前
トヨタ自動車株式会社
車両
22日前
トヨタ自動車株式会社
車両
1日前
トヨタ自動車株式会社
電動車
1か月前
トヨタ自動車株式会社
固定子
1か月前
トヨタ自動車株式会社
電動車
1日前
トヨタ自動車株式会社
自動車
29日前
トヨタ自動車株式会社
サーバ
25日前
続きを見る
他の特許を見る