TOP
|
特許
|
意匠
|
商標
特許ウォッチ
Twitter
他の特許を見る
公開番号
2025170497
公報種別
公開特許公報(A)
公開日
2025-11-19
出願番号
2024075108
出願日
2024-05-07
発明の名称
固体微生物燃料電池及びその製造方法
出願人
株式会社Cell-En
代理人
個人
主分類
H01M
8/16 20060101AFI20251112BHJP(基本的電気素子)
要約
【課題】本発明の課題は、液漏れが実質的に抑制され、安全性に配慮した簡便な微生物燃料電池を提供することである。
【解決手段】ゲル化剤及び吸水ポリマーからなる群から選択されるゲル形成材料を用意する工程と、燃料電池容器内において、前記ゲル形成材料と、発電菌類と、培養液を含む培地とを混合させ、菌類含有ゲル状培地を得る工程と、前記燃料電池容器内に、アノード及びカソードを配置する工程とを含む、固体微生物燃料電池の製造方法及びその製造方法から得られる固体微生物燃料電池を提供する。
【選択図】図1
特許請求の範囲
【請求項1】
ゲル化剤及び吸水ポリマーからなる群から選択されるゲル形成材料を用意する工程と、
燃料電池容器内において、前記ゲル形成材料と、発電菌類と、培養液を含む培地とを混合させ、菌類含有ゲル状培地を得る工程と、
前記燃料電池容器内に、アノード及びカソードを配置する工程とを含む、固体微生物燃料電池の製造方法。
続きを表示(約 800 文字)
【請求項2】
前記ゲル形成材料が、アルギン酸塩、ポリ塩化ビニルアルコール、ポリエチレングリコール、ナトリウムアクリレート、ポリビニルピロリドン、カルボキシメチルセルロース、ハイドロキシエチルセルロース、ポリアクリル酸塩、カラギーナン、寒天、ゲランガム、コラーゲンおよびゼラチン等からなる群から選択される少なくとも一種である、請求項1に記載の固体微生物燃料電池の製造方法。
【請求項3】
前記菌類含有ゲル状培地に、多孔質材料をさらに含有させる工程を含む、請求項1に記載の固体微生物燃料電池の製造方法。
【請求項4】
前記多孔質材料が軽石である、請求項3に記載の固体微生物燃料電池の製造方法。
【請求項5】
燃料電池容器内にさらにゲル状電解液を配置する工程と、
前記アノードは前記菌類含有ゲル状培地に接触するように配置する工程と、
前記カソードは前記ゲル状電解液に接触するように配置する工程とを含む、請求項1に記載の固体微生物燃料電池の製造方法。
【請求項6】
前記アノードを前記菌類含有ゲル状培地に接触するように配置するための電極支持体を配置する工程を含む、請求項5に記載の固体微生物燃料電池の製造方法。
【請求項7】
燃料電池容器と、
前記燃料電池容器内の発電菌類を含む菌類含有ゲル状培地と、
前記菌類含有ゲル状培地の中に配置されるアノードと、
前記菌類含有ゲル状培地の表面に配置されるカソードとを備える固体微生物燃料電池。
【請求項8】
前記菌類含有ゲル状培地の上に配置されるゲル状電解液をさらに含む、請求項7に記載の固体微生物燃料電池。
【請求項9】
前記菌類含有ゲル状培地は多孔質材料をさらに含む、請求項8に記載の固体微生物燃料電池。
発明の詳細な説明
【技術分野】
【0001】
本発明は、菌類含有ゲル状培地を備える固体微生物燃料電池及びその製造方法に関する。
続きを表示(約 2,500 文字)
【背景技術】
【0002】
微生物燃料電池(Microbial fuel cell,MFC)とは、微生物が有機物を酸化分解(代謝)する際に発生する還元力(電子)を電流として取り出すことにより発電する微生物燃料電池である。
MFCはアノード(マイナス極)とカソード(プラス極)から成り、アノードでは、有機物が微生物により分解されて発生する電子を回収する。回収された電子は外部回路を経てカソードにわたり、カソードではO
2
と電子、H
+
(アノードで有機物の分解の際に発生した)が反応してH
2
Oになる。MFCではこのアノード反応とカソード反応の電位差により電流が生じて電気エネルギーを得ることができる。
【0003】
このような微生物燃料電池として廃水中の有機物を微生物によって分解する浄化処理と組合せ浄化処理を行いつつ発電を行う発電システム(特許文献1参照)や廃棄物バイオマスからエネルギー回収を可能にする発電システム(特許文献2参照)、水田などに生息している生物を利用した発電システムが試みられている。また、特許文献3にはエコロジー意識の啓発を図ることができる、微生物発電応用装置が開示されている。
【0004】
特許文献1,2に記載の微生物燃料電池は、廃水浄化処理や廃棄物バイオマス活用を前提としており、発電微生物の供給源は、廃棄物等からなる有機物を含む液体である。また、有機物の成分の特定や標準化はなされていない。特許文献3に記載の微生物燃料電池や水田などに生息している生物を利用した発電システムでは、発電微生物の供給源は土や泥であり、泥や土を必要とする。泥や土を必要とするため活用が限定されてしまう。微生物発電は地球環境に配慮した発電方法であるため、より広く活用されるよう、簡便な微生物燃料電池の開発が期待されている。簡便な微生物燃料電池であるためには取り扱いが容易であることが求められ、液体を使用していると液漏れをおこすなど安全性が不十分であるという問題がある。
【先行技術文献】
【特許文献】
【0005】
特開2006-81963号公報
特開2023-41694号公報
特開2018-181581号公報
【発明の概要】
【発明が解決しようとする課題】
【0006】
本発明の目的は、液漏れが実質的に抑制され、安全性に配慮した簡便な微生物燃料電池を提供することである。
【課題を解決するための手段】
【0007】
本発明者らは鋭意検討の結果、発電菌を含むゲル状培地を含む微生物燃料電池が上記課題を解決することを見出し、本発明に到達した。
【0008】
すなわち、本発明は以下を包含する。
[1] ゲル化剤及び吸水ポリマーからなる群から選択されるゲル形成材料を用意する工程と、
燃料電池容器内において、前記ゲル形成材料と、発電菌類と、培養液を含む培地とを混合させ、菌類含有ゲル状培地を得る工程と、
前記燃料電池容器内に、アノード及びカソードを配置する工程とを含む、固体微生物燃料電池の製造方法。
[2] 前記ゲル形成材料が、アルギン酸塩、ポリ塩化ビニルアルコール、ポリエチレングリコール、ナトリウムアクリレート、ポリビニルピロリドン、カルボキシメチルセルロース、ハイドロキシエチルセルロース及びポリアクリル酸塩からなる群から選択される少なくとも一種である、[1]に記載の固体微生物燃料電池の製造方法。
[3] 前記菌類含有ゲル状培地に、多孔質材料をさらに含有させる工程を含む、[1]に記載の固体微生物燃料電池の製造方法。
[4] 前記多孔質材料が軽石である、[3]に記載の固体微生物燃料電池の製造方法。
[5] 燃料電池容器内にさらにゲル状電解液を配置する工程と、
前記アノードは前記菌類含有ゲル状培地に接触するように配置する工程と、
前記カソードは前記ゲル状電解液に接触するように配置する工程とを含む、[1]に記載の固体微生物燃料電池の製造方法。
[6] 前記アノードを前記菌類含有ゲル状培地内に配置するための電極支持体を配置する工程を含む、[5]に記載の固体微生物燃料電池の製造方法。
[7] 燃料電池容器と、
前記燃料電池容器内の発電菌類を含む菌類含有ゲル状培地と、
前記菌類含有ゲル状培地の中に配置されるアノードと、
前記菌類含有ゲル状培地の表面に配置されるカソードとを備える固体微生物燃料電池。
[8] 前記菌類含有ゲル状培地の上に配置されるゲル状電解液をさらに含む、[7]に記載の固体微生物燃料電池。
[9] 前記菌類含有ゲル状培地は多孔質材料をさらに含む、[8]に記載の固体微生物燃料電池。
【発明の効果】
【0009】
固体微生物燃料電池は簡便でかつ安全であるため、地球環境に配慮した発電方法である微生物発電をより広く活用することが出来る。
さらには、固体化している燃料電池であるため、液漏れの心配がなく、さらには、液体ではないので、ひずみ・ゆがみが少なく(変形が少なく)、安定性が高い。
さらには、液体の微生物燃料電池に比べて、高い基質濃度の維持することができ、さらには、微生物を固定化、すなわち、微生物が固体表面に付着し、生物膜を形成することが可能になり、安定化につながる。
そして、操作が比較的容易であるため、装置や設備の複雑さが少なくなり、生産性が向上する。
固体微生物燃料電池は液体微生物電池よりも耐久性が高くなり、微生物燃料電池の長期間の安定性や持続性が向上が期待できる
【図面の簡単な説明】
【0010】
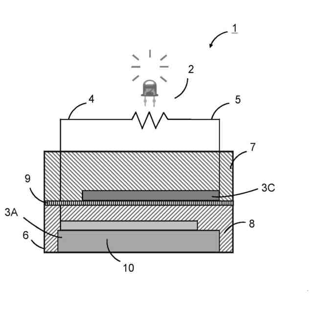
図1は、固体微生物燃料電池の概略図である。
図2は、固体微生物燃料電池1Aの概略図である。
【発明を実施するための形態】
(【0011】以降は省略されています)
この特許をJ-PlatPat(特許庁公式サイト)で参照する
関連特許
東ソー株式会社
絶縁電線
29日前
APB株式会社
蓄電セル
27日前
個人
フレキシブル電気化学素子
1か月前
株式会社ユーシン
操作装置
1か月前
ローム株式会社
半導体装置
1か月前
ローム株式会社
半導体装置
28日前
マクセル株式会社
電源装置
21日前
日新イオン機器株式会社
イオン源
1か月前
株式会社東芝
端子台
21日前
富士電機株式会社
電磁接触器
今日
株式会社GSユアサ
蓄電設備
1か月前
三菱電機株式会社
回路遮断器
8日前
株式会社GSユアサ
蓄電装置
14日前
株式会社ホロン
冷陰極電子源
1か月前
オムロン株式会社
電磁継電器
1か月前
株式会社GSユアサ
蓄電設備
1か月前
株式会社GSユアサ
蓄電装置
今日
太陽誘電株式会社
コイル部品
1か月前
株式会社GSユアサ
蓄電装置
22日前
株式会社GSユアサ
蓄電装置
22日前
日本特殊陶業株式会社
保持装置
13日前
日本特殊陶業株式会社
保持装置
1か月前
トヨタ自動車株式会社
蓄電装置
1か月前
北道電設株式会社
配電具カバー
27日前
ノリタケ株式会社
熱伝導シート
1か月前
トヨタ自動車株式会社
バッテリ
27日前
トヨタ自動車株式会社
バッテリ
1か月前
トヨタ自動車株式会社
冷却構造
29日前
サクサ株式会社
電池の固定構造
1か月前
日東電工株式会社
積層体
1か月前
日新イオン機器株式会社
基板処理装置
24日前
トヨタ自動車株式会社
蓄電装置
22日前
ローム株式会社
半導体装置
1か月前
日亜化学工業株式会社
半導体レーザ素子
24日前
株式会社ダイヘン
搬送装置
1か月前
古河電気工業株式会社
端子
1か月前
続きを見る
他の特許を見る