TOP
|
特許
|
意匠
|
商標
特許ウォッチ
Twitter
他の特許を見る
公開番号
2025177385
公報種別
公開特許公報(A)
公開日
2025-12-05
出願番号
2024084175
出願日
2024-05-23
発明の名称
エンジンフレーム
出願人
ダイハツインフィニアース株式会社
代理人
個人
,
個人
,
個人
主分類
F01M
1/06 20060101AFI20251128BHJP(機械または機関一般;機関設備一般;蒸気機関)
要約
【課題】エンジン内部のメンテナンスの作業性を高める。
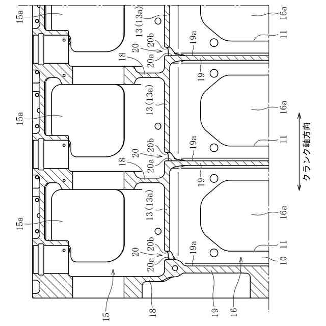
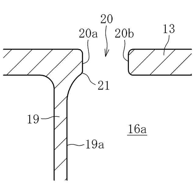
【解決手段】エンジンフレーム1(メインフレーム3)は、上側の空間15aと下側の空間16aとを仕切る横壁13と、横壁13から下方に延び、下側の空間15aを区画する縦壁19と、横壁13に設けられ、上側の空間15aと下側の空間16aとを連通する貫通孔20とを有する。貫通孔20の内周面の下端の一部を、縦壁19の側面19aの上端に接続する。これにより、貫通孔20の内周面及び縦壁19の側面19aをつたって潤滑油が流れ落ちるため、貫通孔20の縁からの潤滑油の滴下を防止できる。
【選択図】図3
特許請求の範囲
【請求項1】
内部に設けられた上側の空間及び下側の空間と、
前記上側の空間と前記下側の空間とを仕切る横壁と、
前記横壁から下方に延び、前記下側の空間を区画する縦壁と、
前記横壁に設けられ、前記上側の空間と前記下側の空間とを連通する貫通孔とを有し、
前記貫通孔の内周面の下端の一部を、前記縦壁の側面の上端に接続したエンジンフレーム。
続きを表示(約 420 文字)
【請求項2】
外部に面し、開口部を有する外壁と、前記開口部を閉じる蓋とを有する請求項1に記載のエンジンフレーム。
【請求項3】
前記貫通孔が前記外壁から離隔した請求項2に記載のエンジンフレーム。
【請求項4】
前記貫通孔の内周面が平坦部を有し、
前記平坦部の下端を前記縦壁の側面の上端に接続した請求項1又は2に記載のエンジンフレーム。
【請求項5】
前記平坦部と前記縦壁の側面とが同一平面上で連続した請求項4に記載のエンジンフレーム。
【請求項6】
前記貫通孔の内周面が、前記平坦部から離反する側に膨出した凸曲面部を有する請求項4に記載のエンジンフレーム。
【請求項7】
前記横壁が、前記外壁から内側に延び、前記外壁から離反する側に向けて上方に傾斜した傾斜部を有し、
前記貫通孔が前記傾斜部に設けられた請求項6に記載のエンジンフレーム。
発明の詳細な説明
【技術分野】
【0001】
本発明は、エンジンフレームに関する。
続きを表示(約 1,700 文字)
【背景技術】
【0002】
例えば、船舶の主機として使用される大型のエンジンでは、エンジンフレームの内部に収容された部品(ピストンリングや軸受メタル等)の点検が定期的に行われる。例えば下記の特許文献1には、エンジンフレームの外壁(オイルパンの側面)に整備用窓を設けることで、エンジン内部の部品の点検の手間及びコストを軽減している。
【先行技術文献】
【特許文献】
【0003】
特開2003-26091号公報
【発明の概要】
【発明が解決しようとする課題】
【0004】
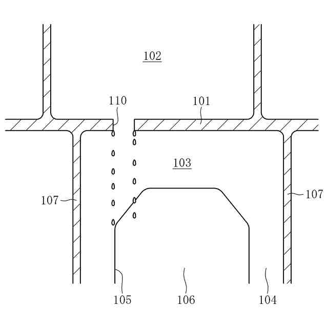
ところで、エンジンフレームには、図6に示すように、上側の空間102(例えば、カムシャフトを収容する空間)と、下側の空間103(例えば、クランクシャフトを収容する空間)とを仕切る横壁101が設けられることがある。これらの空間102、103に面する外壁104(図面奥側の壁面)には、点検用の開口部105が設けられ、この開口部105は蓋106で閉塞されている。作業者は、開口部105から蓋106を取り外して、開口部105に手や工具を挿入して、下側の空間103に設けられた部品の点検を行う。
【0005】
このとき、上側の空間102に供給された潤滑油は、自重により、横壁101に設けられた貫通孔110を介して下側の空間103に移動する。このとき、図6に示すように貫通孔110の下端の縁から潤滑油が滴下すると、この潤滑油が、外壁104の開口部105から下側の空間103に挿入された作業者の手や工具等に付着して、作業性が低下する恐れがある。
【0006】
そこで、本発明は、エンジン内部のメンテナンスの作業性を高めることを目的とする。
【課題を解決するための手段】
【0007】
前記課題を解決するために、本発明は、
内部に設けられた上側の空間及び下側の空間と、
前記上側の空間と前記下側の空間とを仕切る横壁と、
前記横壁から下方に延び、前記下側の空間を区画する縦壁と、
前記横壁に設けられ、前記上側の空間と前記下側の空間とを連通する貫通孔とを有し、
前記貫通孔の内周面の下端の一部を、前記縦壁の側面の上端に接続したエンジンフレームを提供する。
【0008】
このように、本発明に係るエンジンフレームでは、横壁に設けられた貫通孔の内周面の下端の一部を、縦壁の側面の上端に接続した。これにより、上側の空間に供給された潤滑油が、横壁の貫通孔の内周面とこれに接続された縦壁の側面をつたって下側の空間に流れ落ちる。これにより、横壁の下面(下側の空間の上面)に開口した貫通孔の縁からの潤滑油の滴下が抑えられるため、下側の空間におけるメンテナンス作業性が向上する。
【0009】
上記のエンジンフレームは、例えば、外面に面し、開口部を有する外壁と、開口部を閉じる蓋を有する。この場合、メンテナンスを行う作業者は、外壁の開口部から蓋を取り外し、開口部に手や工具を挿入して作業を行う。このとき、上記のように、貫通孔の内周面の下端の一部を縦壁の側面の上端に接続することで、潤滑油が、外壁ではなく、主に縦壁の側面をつたって流れ落ちるため、蓋を取り外した外壁の開口部から外部に潤滑油が流出する事態を防止できる。特に、貫通孔を外壁から離隔させれば、外壁の開口部からの潤滑油の流出をより確実に防止できる。
【0010】
上記のエンジンフレームでは、貫通孔の内周面が平坦部を有し、この平坦部の下端を縦壁の側面の上端と接続することが好ましい。このように、貫通孔の内周面に平坦部を設けることで、例えば貫通孔の内周面を円筒状とする場合と比べて、縦壁の側面の上端と接続される領域を大きくすることができるため、貫通孔の平坦部及び縦壁の側面をつたって潤滑油が流れ落ちやすくなる。特に、貫通孔の平坦部と縦壁の側面とを同一平面上で連続させれば、この平面をつたって潤滑油がさらに流れ落ちやすくなる。
(【0011】以降は省略されています)
この特許をJ-PlatPat(特許庁公式サイト)で参照する
関連特許
他の特許を見る