TOP
|
特許
|
意匠
|
商標
特許ウォッチ
Twitter
他の特許を見る
公開番号
2025157913
公報種別
公開特許公報(A)
公開日
2025-10-16
出願番号
2024060269
出願日
2024-04-03
発明の名称
食器洗浄機
出願人
リンナイ株式会社
代理人
弁理士法人青莪
主分類
A47L
15/46 20060101AFI20251008BHJP(家具;家庭用品または家庭用設備;コーヒーひき;香辛料ひき;真空掃除機一般)
要約
【課題】水位検知装置6を備える食器洗浄機であって、水位検知装置6は、洗浄槽の底部に連通管61を介して連通し、洗浄槽内の洗浄水が連通管61を介して流入する水位検知室62を有し、洗浄槽内の洗浄水を排水するポンプによる排水運転後に、洗浄槽内の底部に洗浄水が残るようにしたものにおいて、残水の喫水面に析出する油脂による連通管61の詰まりを抑制できるようにする。
【解決手段】水位検知室62に、連通管61を接続する筒状の接続口623を水平方向に突出するように設ける。この接続口623の上下方向位置は、排水運転後に洗浄槽内の底部に残る洗浄水の水位である残水位の高さHよりも接続口623の内面下端の高さのほうが低くなるように設定される。
【選択図】図4
特許請求の範囲
【請求項1】
食器類を収納する洗浄槽と、洗浄槽内の洗浄水の水位を検出する水位検出装置と、洗浄槽内の洗浄水を洗浄槽外に排水するポンプとを備える食器洗浄機であって、
水位検知装置は、洗浄槽の底部に連通管を介して連通し、洗浄槽内の洗浄水が連通管を介して流入する水位検知室を有し、
洗浄槽内の洗浄水を排水するポンプによる排水運転後に、洗浄槽内の底部に洗浄水が残るようにしたものにおいて、
水位検知室に、連通管を接続する筒状の接続口が水平方向に突出するように設けられ、この接続口の上下方向位置は、排水運転後に洗浄槽内の底部に残る洗浄水の水位である残水位の高さよりも接続口の内面下端の高さのほうが低くなるように設定されることを特徴とする食器洗浄機。
続きを表示(約 160 文字)
【請求項2】
請求項1記載の食器洗浄機であって、前記接続口の上下方向位置は、前記残水位の高さよりも接続口の内面上端の高さのほうが高くなるように設定されるものにおいて、前記連通管は、接続口に接続される端部から所定長さに亘り、管内面の上端が残水位の高さよりも高くなるようにほぼ水平に配置されることを特徴とする食器洗浄機。
発明の詳細な説明
【技術分野】
【0001】
本発明は、食器類を収納する洗浄槽と、洗浄槽内の洗浄水の水位を検出する水位検出装置と、洗浄槽内の洗浄水を洗浄槽外に排水するポンプとを備える食器洗浄機に関する。
続きを表示(約 1,700 文字)
【背景技術】
【0002】
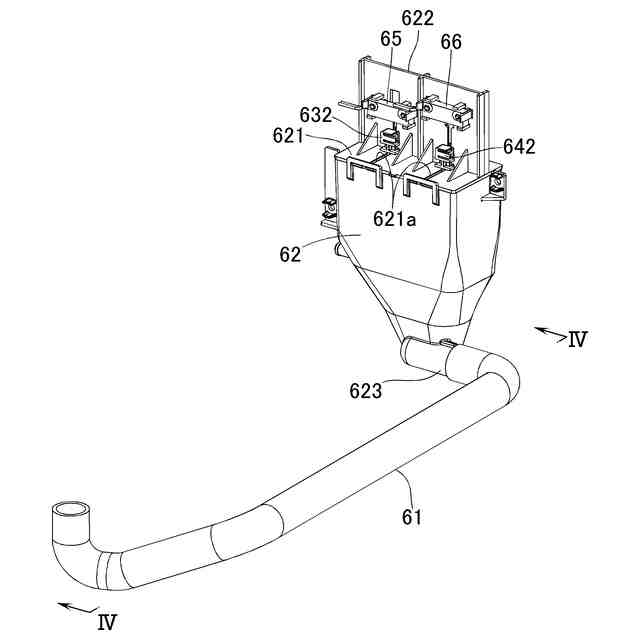
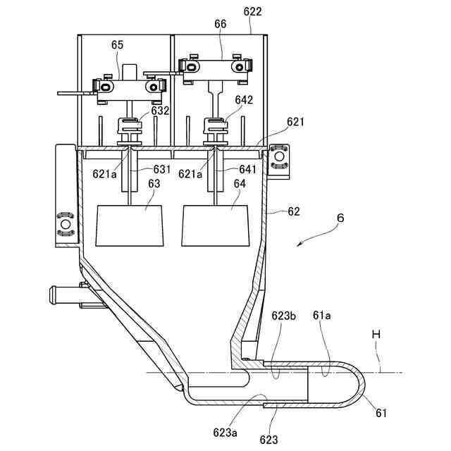
従来、この種の食器洗浄機において、水位検知装置は、洗浄槽の底部に連通管を介して連通し、洗浄槽内の洗浄水が連通管を介して流入する水位検知室を有している(例えば、特許文献1参照)。このもので、連通管は、洗浄槽の底部から一旦下がり、そこから略水平にのびてから水位検知室に向けて立ち上がっている。
【0003】
ここで、食器洗浄後は、洗浄槽内の洗浄水を排水するポンプによる排水運転を行うが、排水運転後に、ポンプの空回りを防ぐために、洗浄槽内の底部に洗浄水が残るようにしている。排水運転後に洗浄槽内の底部に残る洗浄水の水位である残水位の高さは、ポンプの揚程とポンプの設置高さとで決まる。そして、従来は、残水位の高さが、水位検知室に向けて立ち上がる連通管の部分の一部の高さに一致している。
【0004】
ところで、排水運転後に残る洗浄水(残水)には油脂が溶解している。この油脂は、しばらくすると冷却して固化し、比重の関係で、残水の喫水面に浮上して析出する。そして、従来は、水位検知室に向けて立ち上がる連通管の部分の残水位の高さに一致する部分内に、連通管の断面積にほぼ等しい狭い面積で残水の喫水面が存在する。そのため、この部分に高密度で油脂が析出する。その結果、連通管の詰まりを生じて、水位検知不能になってしまうことがある。
【先行技術文献】
【特許文献】
【0005】
特開2005-193074号公報
【発明の概要】
【発明が解決しようとする課題】
【0006】
本発明は、以上の点に鑑み、連通管の詰まりを抑制して、水位検知不能になることを長期間回避できるようにした食器洗浄機を提供することをその課題としている。
【課題を解決するための手段】
【0007】
上記課題を解決するために、本発明は、食器類を収納する洗浄槽と、洗浄槽内の洗浄水の水位を検出する水位検出装置と、洗浄槽内の洗浄水を洗浄槽外に排水するポンプとを備える食器洗浄機であって、水位検知装置は、洗浄槽の底部に連通管を介して連通し、洗浄槽内の洗浄水が連通管を介して流入する水位検知室を有し、洗浄槽内の洗浄水を排水するポンプによる排水運転後に、洗浄槽内の底部に洗浄水が残るようにしたものにおいて、水位検知室に、連通管を接続する筒状の接続口が水平方向に突出するように設けられ、この接続口の上下方向位置は、排水運転後に洗浄槽内の底部に残る洗浄水の水位である残水位の高さよりも接続口の内面下端の高さのほうが低くなるように設定されることを特徴とする。
【0008】
本発明によれば、残水の喫水面が水位検知室に設けられる水平の接続口の内面下端よりも上方に位置するため、喫水面に析出する油脂による連通管の詰まりを抑制することができる。従って、連通管の詰まりにより水位検知不能になることを長期間回避できる。
【0009】
また、上記接続口の上下方向位置が、残水位の高さよりも接続口の内面上端の高さのほうが高くなるように設定される場合には、連通管は、接続口に接続される端部から所定長さに亘り、管内面の上端が残水位の高さよりも高くなるようにほぼ水平に配置されることが望ましい。これによれば、残水の喫水面が、接続口から連通管の水平配置部に亘って存在することになって、喫水面の面積が増大する。そのため、喫水面での油脂の析出密度を減少させて、油脂による連通管の詰まりを一層効果的に抑制することができる。
【図面の簡単な説明】
【0010】
本発明の実施形態の食器洗浄機の斜視図。
図1のII-II線で切断した切断側面図。
実施形態の食器洗浄機に設けられる水位検知装置の構成部材の斜視図。
図3のIV-IVで切断した切断側面図。
図4のV-V線で切断した拡大切断正面図。
【発明を実施するための形態】
(【0011】以降は省略されています)
この特許をJ-PlatPat(特許庁公式サイト)で参照する
関連特許
リンナイ株式会社
加熱調理器
9日前
リンナイ株式会社
加熱調理器
9日前
リンナイ株式会社
食器洗浄機
23日前
リンナイ株式会社
加熱調理支援システム
1日前
リンナイ株式会社
ガスバーナ並びに加熱調理器
1日前
リンナイ株式会社
ガスバーナ並びに加熱調理器
11日前
リンナイ株式会社
加熱調理器用バーナ並びに加熱調理器
1日前
リンナイ株式会社
加熱調理器用バーナ並びに加熱調理器
1日前
リンナイ株式会社
加熱調理器用バーナ並びに加熱調理器
1日前
リンナイ株式会社
微細気泡供給装置および水溶液供給装置
11日前
リンナイ株式会社
気液溶解装置および微細気泡発生システム
3日前
リンナイ株式会社
ガスバーナ、およびガスバーナを搭載した加熱調理器
17日前
個人
箸
25日前
個人
椅子
2か月前
個人
家具
4か月前
個人
自助箸
6か月前
個人
掃除機
8か月前
個人
枕
5か月前
個人
掃除道具
8か月前
個人
多用途紐
22日前
個人
ハンガー
6か月前
個人
枕
8か月前
個人
ソファー
1か月前
個人
耳拭き棒
10か月前
個人
体洗い具
10か月前
個人
掃除用具
3か月前
個人
屋外用箒
6か月前
個人
組立式棚板
7か月前
個人
掃除シート
9か月前
個人
エコ掃除機
11か月前
個人
片手代替具
11か月前
個人
物品
2か月前
個人
省煙消臭器
8か月前
個人
開閉トング
5か月前
個人
受け皿
5か月前
個人
洗面台
10か月前
続きを見る
他の特許を見る