TOP
|
特許
|
意匠
|
商標
特許ウォッチ
Twitter
他の特許を見る
公開番号
2025165327
公報種別
公開特許公報(A)
公開日
2025-11-04
出願番号
2024069378
出願日
2024-04-22
発明の名称
洗濯機
出願人
アイリスオーヤマ株式会社
代理人
個人
,
個人
主分類
D06F
58/38 20200101AFI20251027BHJP(繊維または類似のものの処理;洗濯;他に分類されない可とう性材料)
要約
【課題】外部排気を行うことによって居住環境の快適性が低下するのを軽減しつつ乾燥時間の短縮を図ることが可能な洗濯機を提供することである。
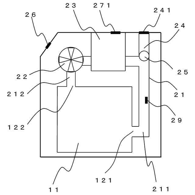
【解決手段】洗濯機Xは、筐体内に配された水槽11と、水槽11内に回転可能に設けられた回転槽と、回転槽から空気を排出する排気口121と回転槽内に空気を吹き込む吹出口122とを回転槽の外側において連通させる循環風路21と、回転槽内の空気が循環風路21を流れるよう送風する送風手段22と、循環風路21に設けられ、圧縮機、蒸発器及び凝縮器を有するヒートポンプユニット23と、循環風路21内の空気を外部に排出するための排気用開口241を有する排気風路24と、排気風路24を開閉するための排気用ダンパ25と、筐体の外部の相対湿度を測定するセンサ部26と、排気用ダンパ25の動作を制御する制御部とを備え、制御部は、乾燥運転において、センサ部26の出力値が第1閾値以下である場合に、排気用ダンパ25を開状態に制御する。
【選択図】図2
特許請求の範囲
【請求項1】
筐体内に配された水槽と、
前記水槽内に回転可能に設けられた回転槽と、
前記回転槽から空気を排出する排気口と前記回転槽内に空気を吹き込む吹出口とを前記回転槽の外側において連通させる循環風路と、
前記回転槽内の空気が前記循環風路を流れるよう送風する送風手段と、
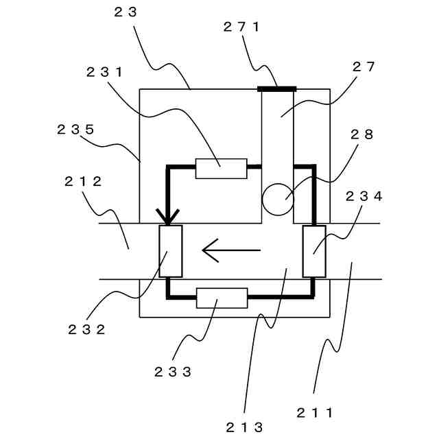
前記循環風路に設けられ、圧縮機、蒸発器及び凝縮器を有するヒートポンプユニットと、
前記循環風路内の空気を外部に排出するための排気用開口を有する排気風路と、
前記排気風路を開閉するための排気用ダンパと、
前記筐体の外部の相対湿度を測定するセンサ部と、
前記排気用ダンパの動作を制御する制御部と
を備え、
前記制御部は、乾燥運転において、前記センサ部の出力値が第1閾値以下である場合に、前記排気用ダンパを開状態に制御する、
洗濯機。
続きを表示(約 720 文字)
【請求項2】
前記制御部は、前記乾燥運転において、前記センサ部の出力値が前記第1閾値を超える場合に、開状態の前記排気用ダンパを閉状態に制御する、
請求項1に記載の洗濯機。
【請求項3】
前記制御部は、前記乾燥運転が終了すると、前記排気用ダンパが開状態となっている場合は閉状態に制御する、
請求項1又は2に記載の洗濯機。
【請求項4】
前記回転槽内の空気は、前記排気口、前記ヒートポンプユニット、前記送風手段及び前記吹出口の順に循環する、
請求項1又は2に記載の洗濯機。
【請求項5】
前記排気用開口は、前記筐体の前後方向の後側に設けられ、
前記センサ部は、前記筐体の前後方向の前側に設けられる、
請求項1又は2に記載の洗濯機。
【請求項6】
前記ヒートポンプユニットと連通し、外部の空気が前記循環風路に流入するための吸気用開口を有する、
請求項1又は2に記載の洗濯機。
【請求項7】
前記ヒートポンプユニットと連通し、前記吸気用開口を有する吸気風路と、
前記吸気風路を開閉するための吸気用ダンパと
を備え、
前記制御部は、前記排気用ダンパを開くとともに、前記吸気用ダンパを開くよう制御する、
請求項6に記載の洗濯機。
【請求項8】
前記第1閾値は、下記式によって算出される、
請求項1又は2に記載の洗濯機。
Y=-0.0206X
2
+1.5651X+72.372
ここで、Xは温度であり、Yは、第1閾値である。
発明の詳細な説明
【技術分野】
【0001】
本発明は、ヒートポンプユニットを備える洗濯機に関する。
続きを表示(約 1,700 文字)
【背景技術】
【0002】
従来、圧縮機や蒸発器等を備えるヒートポンプユニットを利用して循環空気を温風化し、循環ダクトを介して温風を供給し回転槽内の洗濯物を乾燥する洗濯機において、循環空気の一部を排気する排気口と、外部から循環ダクトに空気を取り込むための吸気口とを有する技術が知られている(例えば特許文献1)。
【先行技術文献】
【特許文献】
【0003】
特開2011-92329号公報
【発明の概要】
【発明が解決しようとする課題】
【0004】
上記の洗濯機では、循環空気を排気口から外部に排出し続けると、居住空間の快適性が低下してしまうといった問題がある。
本発明は、外部排気を行うことによって居住環境の快適性が低下するのを軽減しつつ乾燥時間の短縮を図ることが可能な洗濯機を提供することである。
【課題を解決するための手段】
【0005】
本発明に係る洗濯機は、筐体内に配された水槽と、前記水槽内に回転可能に設けられた回転槽と、前記回転槽から空気を排出する排気口と前記回転槽内に空気を吹き込む吹出口とを前記回転槽の外側において連通させる循環風路と、前記回転槽内の空気が前記循環風路を流れるよう送風する送風手段と、前記循環風路に設けられ、圧縮機、蒸発器及び凝縮器を有するヒートポンプユニットと、前記循環風路内の空気を外部に排出するための排気用開口を有する排気風路と、前記排気風路を開閉するための排気用ダンパと、前記筐体の外部の相対湿度を測定するセンサ部と、前記排気用ダンパの動作を制御する制御部とを備え、前記制御部は、乾燥運転において、前記センサ部の出力値が第1閾値以下である場合に、前記排気用ダンパを開状態に制御する。
【発明の効果】
【0006】
上記構成によれば、外部排気を行うことによって居住環境の快適性が低下するのを軽減しつつ乾燥時間の短縮を図ることが可能である。
【図面の簡単な説明】
【0007】
実施形態の洗濯機の概略斜視図である。
実施形態の洗濯機の機能構成図である。
実施形態のヒートポンプユニットの機能構成図である。
制御ユニットにおける乾燥運転時のフローチャートを示す。
(1)式の曲線を示す図である。
【0008】
<概要>
本発明に係る第1の洗濯機は、筐体内に配された水槽と、前記水槽内に回転可能に設けられた回転槽と、前記回転槽から空気を排出する排気口と前記回転槽内に空気を吹き込む吹出口とを前記回転槽の外側において連通させる循環風路と、前記回転槽内の空気が前記循環風路を流れるよう送風する送風手段と、前記循環風路に設けられ、圧縮機、蒸発器及び凝縮器を有するヒートポンプユニットと、前記循環風路内の空気を外部に排出するための排気用開口を有する排気風路と、前記排気風路を開閉するための排気用ダンパと、前記筐体の外部の相対湿度を測定するセンサ部と、前記排気用ダンパの動作を制御する制御部とを備え、前記制御部は、乾燥運転において、前記センサ部の出力値が第1閾値以下である場合に、前記排気用ダンパを開状態に制御する。
これにより、外部排気による結露が抑制できるため居住環境の快適性が低下するのを軽減しつつ乾燥時間の短縮を図ることが可能となる。
【0009】
本発明に係る第2の洗濯機は、第1の洗濯機において、前記制御部は、前記乾燥運転において、前記センサ部の出力値が前記第1閾値を超える場合に、開状態の前記排気用ダンパを閉状態に制御する。
これにより、排気風路を閉鎖することによって、水分の多い空気を外部に排出するのを防止でき、居住環境の快適性が低下できる。
【0010】
本発明に係る第3の洗濯機は、第1又は第2の洗濯機において、前記制御部は、前記乾燥運転が終了すると、前記排気用ダンパが開状態となっている場合は閉状態に制御する。
これにより、回転槽の内部の温度低下を抑制でき、被乾燥物を一層乾燥できる。
(【0011】以降は省略されています)
この特許をJ-PlatPat(特許庁公式サイト)で参照する
関連特許
個人
洗濯機
12日前
個人
洗濯装置
3か月前
個人
ハンガー保持具
5か月前
個人
洗濯物干しハンガー
28日前
セーレン株式会社
複合表皮材
12日前
株式会社青柳
染め加工方法
2か月前
東レ株式会社
繊維断面の検査方法
2か月前
株式会社アライホーム
物干装置
12日前
日本バイリーン株式会社
内装用表面材
4か月前
東レ株式会社
樹脂含浸繊維束の製造方法
4か月前
東レ株式会社
炭素繊維シートの製造方法
3か月前
東レ株式会社
ゴム補強用合成繊維コード
2か月前
有限会社高田紙器製作所
紙製洗濯バサミ
3か月前
花王株式会社
洗浄剤組成物
4か月前
株式会社槌屋
加飾用表皮材
1か月前
株式会社創和
ボックス状洗濯ネット
2か月前
株式会社大阪ソーダ
撥水撥油性繊維処理剤
3か月前
個人
ポリエステル染色物の製造方法
1か月前
リンナイ株式会社
衣類乾燥機
1か月前
リンテック株式会社
耐水性基材
1か月前
シャープ株式会社
洗濯機
3か月前
個人
洗濯用洗剤容器の蓋
3か月前
アイリスオーヤマ株式会社
洗濯機
28日前
日本バイリーン株式会社
表皮材とその製造方法
4か月前
株式会社コーワ
フィルター清掃装置及び乾燥機
4か月前
株式会社コーワ
フィルター清掃装置及び乾燥機
4か月前
大阪瓦斯株式会社
衣類乾燥機
3か月前
大阪瓦斯株式会社
衣類乾燥機
3か月前
大阪瓦斯株式会社
衣類乾燥機
3か月前
松本油脂製薬株式会社
繊維用処理剤及びその利用
3か月前
個人
開閉角度調整可能な角型折畳みピンチハンガー
3か月前
シャープ株式会社
洗濯機
3か月前
東レ株式会社
人工皮革、乗物用内装材、および座席
5か月前
シャープ株式会社
洗濯機
3か月前
ダイニック株式会社
ターポリン、及びその製造方法
1か月前
株式会社コーワ
フィルター装置及び洗濯機又は乾燥機
4か月前
続きを見る
他の特許を見る