TOP
|
特許
|
意匠
|
商標
特許ウォッチ
Twitter
他の特許を見る
10個以上の画像は省略されています。
公開番号
2025129690
公報種別
公開特許公報(A)
公開日
2025-09-05
出願番号
2024026499
出願日
2024-02-26
発明の名称
洗濯機
出願人
東芝ライフスタイル株式会社
代理人
弁理士法人サトー
主分類
D06F
33/43 20200101AFI20250829BHJP(繊維または類似のものの処理;洗濯;他に分類されない可とう性材料)
要約
【課題】槽洗浄に関するユーザビリティを向上する。
【解決手段】洗濯機は、衣類を収容する洗濯槽と、各種情報を報知するための報知部と、洗濯槽に収容された衣類に対して所定の処理を行うための運転を制御するとともに、洗濯槽を洗浄する槽洗浄運転の実行を促す報知である槽洗浄報知を報知部によって行う制御部と、を備え、運転の設定には、運転の実行中に洗濯槽に関する掃除を行う掃除機能を含めることができ、制御部は、運転の設定が掃除機能を含む設定になっている場合、運転の設定が掃除機能を含まない設定になっている場合よりも槽洗浄報知を行う時期を遅くする。
【選択図】図4
特許請求の範囲
【請求項1】
衣類を収容する洗濯槽と、
各種情報を報知するための報知部と、
前記洗濯槽に収容された前記衣類に対して所定の処理を行うための運転を制御するとともに、前記洗濯槽を洗浄する槽洗浄運転の実行を促す報知である槽洗浄報知を前記報知部によって行う制御部と、を備え、
前記運転の設定には、前記運転の実行中に前記洗濯槽に関する掃除を行う掃除機能を含めることができ、
前記制御部は、前記運転の設定が前記掃除機能を含む設定になっている場合、前記運転の設定が前記掃除機能を含まない設定になっている場合よりも前記槽洗浄報知を行う時期を遅くする、
洗濯機。
続きを表示(約 1,200 文字)
【請求項2】
衣類を収容する洗濯槽と、
各種情報を報知するための報知部と、
前記洗濯槽に収容された前記衣類に対して所定の処理を行うための運転を制御するとともに、前記洗濯槽を洗浄する槽洗浄運転の実行を促す報知である槽洗浄報知を前記報知部によって行う制御部と、を備え、
前記運転の設定には、前記運転の実行中に前記洗濯槽に関する掃除を行う掃除機能を含めることができ、
前記制御部は、前回前記槽洗浄運転を実行してから今回を含む前記運転までの期間に実行された前記運転の設定が前記掃除機能を含む設定になっている場合、前記期間中に実行された前記運転の設定が前記掃除機能を含まない設定になっている場合よりも前記槽洗浄報知を行う時期を遅くする、
洗濯機。
【請求項3】
前記制御部は、
前記運転が実行された回数の累積値である運転回数が設定回数に達した場合に前記槽洗浄報知を実行可能であり、
前記運転の設定が前記掃除機能を含む設定になっている場合、前記運転の設定が前記掃除機能を含まない設定になっている場合よりも前記設定回数を大きくすることで前記槽洗浄報知を行う時期を遅くする、
請求項1又は2に記載の洗濯機。
【請求項4】
前記制御部は、
前記運転が実行された回数の累積値である運転回数が設定回数に達した場合に前記槽洗浄報知を実行可能であり、
前記運転の設定が前記掃除機能を含む設定になっている場合、前記運転の設定が前記掃除機能を含まない設定になっている場合よりも前記運転回数を加算する値を小さくすることで前記槽洗浄報知を行う時期を遅くする、
請求項1又は2に記載の洗濯機。
【請求項5】
洗濯処理剤を前記洗濯槽に自動で投入する自動投入装置を更に備え、
前記制御装置は、前記運転の実行中における前記自動投入装置からの前記洗濯処理剤の投入量に応じて前記槽洗浄報知を行う時期を切り替える、
請求項1又は2に記載の洗濯機。
【請求項6】
前記制御部は、前記運転の設定に関して前記掃除機能を含めるか含めないかの設定が変更された場合に、前記設定回数を変更後の前記運転の設定に対応して変更する、
請求項4に記載の洗濯機。
【請求項7】
前記制御部は、前記運転の設定が前記掃除機能を含める設定から前記掃除機能を含めない設定に変更された場合に、前記設定回数を、前記掃除機能を含めない設定に対応した前記設定回数に変更する、
請求項6に記載の洗濯機。
【請求項8】
前記制御部は、前記運転の設定が前記掃除機能を含めない設定から前記掃除機能を含める設定に変更された場合に、前記設定回数を、前記掃除機能を含める設定に対応した前記設定回数に変更する、
請求項6に記載の洗濯機。
発明の詳細な説明
【技術分野】
【0001】
本発明の実施形態は、洗濯機に関する。
続きを表示(約 2,300 文字)
【背景技術】
【0002】
従来、洗濯槽内を洗浄する機能を有する洗濯機が知られている。従来構成の洗濯機は、運転回数や給水回数等をカウントするカウント手段によりカウントした運転回数が所定回数に達した時点で、これを報知手段により報知するよう構成し、報知手段の報知によって選択可能な槽洗いコースを有するものである。従来構成では、運転回数が所定回数に達した時点で、洗濯槽の外面部表面や外槽の内面部表面に生じるバイオフィルムや黒カビなどの異物による汚染状況を予測し、報知手段により報知することにより、異物による衣類の汚染が発生する前に洗濯槽内の異物除去の必要性を認識することができる。そして、槽洗いコースを選択することで、洗濯槽内の異物を除去することができ、衣類の汚染を未然に防止することが図られている。
【先行技術文献】
【特許文献】
【0003】
特開2002-263392号公報
【発明の概要】
【発明が解決しようとする課題】
【0004】
ところで、単にカウントした運転回数や給水回数等が所定回数に達した時点で、洗濯槽の洗浄を促す報知を行ったとしても、洗濯槽の汚れ度合いが考慮されているとはいえず、ユーザに対して正確に槽洗浄が必要であることを知らせることはできない。したがって、槽洗浄に関するユーザビリティの向上を図る点において改善の余地があった。
【0005】
そこで、槽洗浄に関するユーザビリティを向上することができる技術の提供を目的とする。
【課題を解決するための手段】
【0006】
本実施形態に係る洗濯機は、衣類を収容する洗濯槽と、各種情報を報知するための報知部と、前記洗濯槽に収容された前記衣類に対して所定の処理を行うための運転を制御するとともに、前記洗濯槽を洗浄する槽洗浄運転の実行を促す報知である槽洗浄報知を前記報知部によって行う制御部と、を備え、前記運転の設定には、前記運転の実行中に前記洗濯槽に関する掃除を行う掃除機能を含めることができ、前記制御部は、前記運転の設定が前記掃除機能を含む設定になっている場合、前記運転の設定が前記掃除機能を含まない設定になっている場合よりも前記槽洗浄報知を行う時期を遅くする。
【図面の簡単な説明】
【0007】
第1実施形態による洗濯機の内部構成を概略的に示す断面図
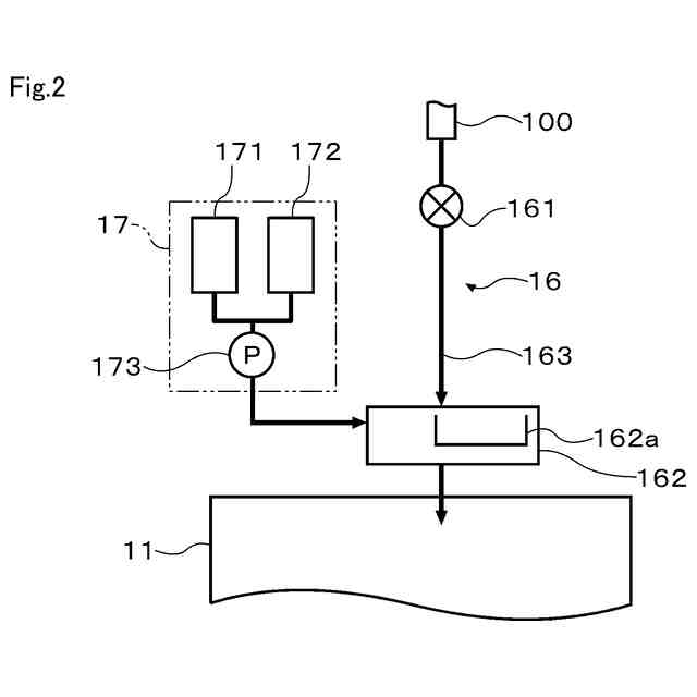
第1実施形態による洗濯機について、外部の水源から水槽内に供給される水の経路の一例を示す図
第1実施形態による洗濯機の電気的構成の一例を示すブロック図
第1実施形態による洗濯機について、制御部によって実行される制御内容の一例を示すフローチャート
第1実施形態による洗濯機について、制御部によって実行される制御内容の他の例を示すフローチャート
第2実施形態による洗濯機について、制御部によって実行される制御内容の一例を示すフローチャート
第3実施形態による洗濯機について、制御部によって実行される制御内容の一例を示すフローチャート(その1)
第3実施形態による洗濯機について、制御部によって実行される制御内容の一例を示すフローチャート(その2)
第4実施形態による洗濯機について、制御部によって実行される制御内容の一例を示すフローチャート(その1)
第4実施形態による洗濯機について、制御部によって実行される制御内容の他の例を示すフローチャート(その2)
第5実施形態による洗濯機について、制御部によって実行される制御内容の一例を示すフローチャート
【発明を実施するための形態】
【0008】
以下、複数の実施形態による洗濯機について、図面を参照しながら説明する。なお、各実施形態において実質的に同一の要素には同一の符号を付し、説明を省略する。
【0009】
(第1実施形態)
まず、第1実施形態について、図1から図5を参照して説明する。
図1に示す洗濯機1は、回転槽12の回転軸が鉛直方向を向いたいわゆる縦軸洗濯機である。なお、図1の左側を洗濯機1の前側とし、図1の右側を洗濯機1の後側とする。また、洗濯機1の設置面側つまり鉛直下側を洗濯機1の下側とし、設置面と反対側つまり鉛直上側を洗濯機1の上側とする。そして、洗濯機1の前後方向及び上下方向に対して直交する方向を左右方向とする。洗濯機1は、縦軸洗濯機に限らず、回転槽の回転軸が水平に向かう横軸型又は後方へ向かって下降傾斜した斜め軸型のいわゆるドラム式洗濯機であってもよい。また、洗濯機1は、例えばヒータ式又はヒートポンプ式の乾燥機能を備えたものであってもよいし、乾燥機能を備えていないものであってもよい。
【0010】
洗濯機1は、図1に示すように、洗濯機本体10、水槽11、回転槽12、モータ13、撹拌翼14、排水機構15、給水機構16、自動投入装置17、及び操作表示装置18を備えている。洗濯機本体10は、洗濯機1の外郭を構成している。洗濯機本体10は、箱体101、トップカバー102、バックカバー103、及び蓋104を有している。箱体101は、例えば鋼板等によって略矩形の箱状に形成されており、上側が開口している。トップカバー102は、箱体101の上部に設けられている。図1に示すように、トップカバー102は、その内側に上部開口102aを有している。上部開口102aは、洗濯機1の内部と外部とを連通している。
(【0011】以降は省略されています)
この特許をJ-PlatPat(特許庁公式サイト)で参照する
関連特許
個人
洗濯装置
1か月前
株式会社青柳
染め加工方法
1か月前
東レ株式会社
繊維断面の検査方法
17日前
日本バイリーン株式会社
内装用表面材
3か月前
東レ株式会社
炭素繊維シートの製造方法
2か月前
東レ株式会社
樹脂含浸繊維束の製造方法
2か月前
有限会社高田紙器製作所
紙製洗濯バサミ
2か月前
花王株式会社
洗浄剤組成物
3か月前
東レ株式会社
ゴム補強用合成繊維コード
24日前
株式会社槌屋
加飾用表皮材
10日前
リンナイ株式会社
衣類乾燥機
4日前
個人
ポリエステル染色物の製造方法
5日前
株式会社創和
ボックス状洗濯ネット
1か月前
株式会社大阪ソーダ
撥水撥油性繊維処理剤
1か月前
リンテック株式会社
耐水性基材
9日前
個人
洗濯用洗剤容器の蓋
1か月前
シャープ株式会社
洗濯機
1か月前
株式会社コーワ
フィルター清掃装置及び乾燥機
3か月前
日本バイリーン株式会社
表皮材とその製造方法
3か月前
株式会社コーワ
フィルター清掃装置及び乾燥機
3か月前
大阪瓦斯株式会社
衣類乾燥機
1か月前
松本油脂製薬株式会社
繊維用処理剤及びその利用
2か月前
大阪瓦斯株式会社
衣類乾燥機
1か月前
大阪瓦斯株式会社
衣類乾燥機
1か月前
シャープ株式会社
洗濯機
2か月前
シャープ株式会社
洗濯機
2か月前
個人
開閉角度調整可能な角型折畳みピンチハンガー
2か月前
ダイニック株式会社
ターポリン、及びその製造方法
5日前
株式会社コーワ
フィルター装置及び洗濯機又は乾燥機
3か月前
東芝ライフスタイル株式会社
洗濯機
1か月前
東レ株式会社
抗菌性アクリル系繊維およびその製造方法
1か月前
東芝ライフスタイル株式会社
洗濯機
3か月前
東芝ライフスタイル株式会社
洗濯機
3か月前
東レ株式会社
人工皮革およびその製造方法ならびに雑貨
1か月前
株式会社コーワ
乾燥機のフィルター清掃装置及び乾燥機
9日前
個人
パイプ用係止、固定装置及び洗濯バサミ取り付け具
1か月前
続きを見る
他の特許を見る