TOP
|
特許
|
意匠
|
商標
特許ウォッチ
Twitter
他の特許を見る
10個以上の画像は省略されています。
公開番号
2025174323
公報種別
公開特許公報(A)
公開日
2025-11-28
出願番号
2024080578
出願日
2024-05-17
発明の名称
洗濯機
出願人
青島海爾洗衣机有限公司
,
QINGDAO HAIER WASHING MACHINE CO.,LTD.
,
アクア株式会社
代理人
個人
,
個人
主分類
D06F
33/32 20200101AFI20251120BHJP(繊維または類似のものの処理;洗濯;他に分類されない可とう性材料)
要約
【課題】洗濯物の追加や取出しに応じて、より望ましい運転条件の調整ができ得る洗濯機を提供する。
【解決手段】全自動洗濯機1は、筐体10内に配置され、水が溜められる外槽20と、外槽20内に回転可能に配置され、洗濯物が収容される洗濯脱水槽22と、筐体10に設けられ、洗濯脱水槽22内に通じる投入口14と、投入口14を覆う上蓋15と、上蓋15の開閉を検出する蓋開閉検出部と、洗い工程、すすぎ工程および脱水工程を含む洗濯運転を実行する制御部と、洗濯運転を一時停止するための一時停止操作と、洗濯運転を再開する再開操作とを受け付ける操作表示部と、を備える。制御部は、洗濯運転の一時停止中に上蓋15が開閉された場合、洗濯脱水槽22に対して洗濯物が追加されたのか取り出されたのかの判定を行い、当該判定結果と洗濯運転の履歴とに基づいて、洗濯運転の再開後の運転条件を調整する。
【選択図】図1
特許請求の範囲
【請求項1】
筐体内に配置され、水が溜められる外槽と、
前記外槽内に回転可能に配置され、洗濯物が収容される内槽と、
前記筐体に設けられ、前記内槽内に通じる投入口と、
前記投入口を覆う扉と、
前記扉の開閉を検出する開閉検出部と、
洗い工程、すすぎ工程および脱水工程を含む洗濯運転を実行する制御部と、
前記洗濯運転を一時停止するための一時停止操作と、前記洗濯運転を再開する再開操作とを受け付ける操作部と、を備え、
前記制御部は、前記洗濯運転の一時停止中に前記扉が開閉された場合、前記内槽に対して洗濯物が追加されたのか取り出されたのかの判定を行い、当該判定結果と前記洗濯運転の履歴とに基づいて、前記洗濯運転の再開後の運転条件を調整する、
ことを特徴とする洗濯機。
続きを表示(約 1,100 文字)
【請求項2】
請求項1に記載の洗濯機において、
前記制御部は、洗濯物が追加されたと判定した場合に、
前記洗濯運転の履歴に基づいて性能と時間の何れを優先するかの決定を行い、
時間を優先する決定を行ったときには、性能を優先する決定を行ったときよりも前記洗濯運転の運転時間が長くならないように前記運転条件を調整する、
ことを特徴とする洗濯機。
【請求項3】
請求項2に記載の洗濯機において、
画面を表示する表示部を、さらに備え、
前記制御部は、
洗濯物が追加されたと判定した場合に、時間を優先する決定を行ったときには、洗濯物が追加されたことを示す情報と時間を優先することを示す情報とを含む第1情報画面を前記表示部に表示させ、性能を優先する決定を行ったときには、洗濯物が追加されたことを示す情報と性能を優先することを示す情報とを含む第2情報画面を前記表示部に表示させ、
洗濯物が取り出されたと判定した場合に、洗濯物が取り出されたことを示す情報を含む第3情報画面を前記表示部に表示させる、
ことを特徴とする洗濯機。
【請求項4】
請求項3に記載の洗濯機において、
前記操作部は、
前記表示部に前記第1情報画面が表示されているときに、時間優先から性能優先に変更する第1操作を受け付け、
前記表示部に前記第2情報画面が表示されているときに、性能優先から時間優先に変更する第2操作を受け付け、
前記制御部は、
前記操作部が前記第1操作を受け付けたことに基づいて時間優先から性能優先に変更し、
前記操作部が前記第2操作を受け付けたことに基づいて性能優先から時間優先に変更する、
ことを特徴とする洗濯機。
【請求項5】
請求項1ないし4の何れか一項に記載の洗濯機において、
前記外槽内の水位を検出する水位センサを、さらに備え、
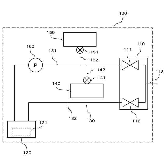
前記制御部は、前記洗い工程および前記すすぎ工程において、前記扉が開放されたときに前記水位センサにより検出された第1水位と、前記扉が閉鎖されたときに前記水位センサにより検出された第2水位とに基づいて、洗濯物が追加されたのか取り出されたのかを判定する、
ことを特徴とする洗濯機。
【請求項6】
請求項1ないし4の何れか一項に記載の洗濯機において、
前記制御部は、前記脱水工程において、前記扉が開放された後に閉鎖されたとき、前記操作部により洗濯物が追加されたのか取り出されたのかに応じて行われる操作を受け付け、当該操作に基づいて、洗濯物が追加されたのか取り出されたのかを判定する、
ことを特徴とする洗濯機。
発明の詳細な説明
【技術分野】
【0001】
本発明は、洗濯機に関する。
続きを表示(約 1,300 文字)
【背景技術】
【0002】
洗濯運転が開始された後、ユーザが洗濯物を洗濯機に追加したり、一部の洗濯物を洗濯機から取り出したりする場合がある。洗濯物の追加や取出しが行われる場合には、洗濯運転が一時停止(中断)され、洗濯物の投入口を覆う扉(蓋)が開閉される。洗濯物の追加や取出しが行われた場合には、それに応じて、時間、水量等の運転条件が調整されることが望ましい。
【0003】
以下の特許文献1には、洗濯運転の中断時に蓋が開閉された場合に、洗濯物が追加されたのか取り出されたのかの判定を行い、運転条件として、水量を調整するようにした洗濯機が記載されている。
【先行技術文献】
【特許文献】
【0004】
特開2021-97846号公報
【発明の概要】
【発明が解決しようとする課題】
【0005】
洗濯物が追加された場合には、通常、性能維持の観点から、水量が増やされたり、各工程の時間が延ばされたりすることが多い。しかしながら、この場合、運転時間が延びることになり、時間を優先したいユーザにとっては、必ずしも望ましい洗濯運転とならなくなり得る。
【0006】
本発明は、上記の課題に鑑みてなされたものであり、洗濯物の追加や取出しに応じて、より望ましい運転条件の調整ができ得る洗濯機を提供することを目的とする。
【課題を解決するための手段】
【0007】
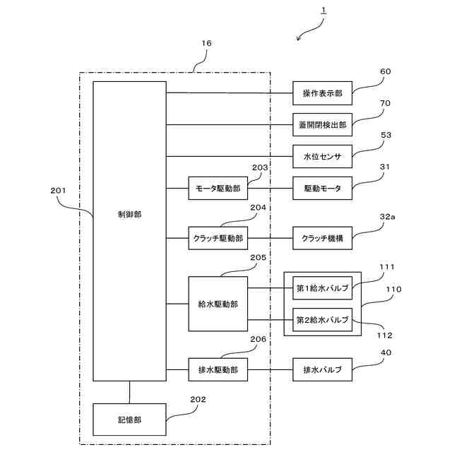
本発明の主たる態様に係る洗濯機は、筐体内に配置され、水が溜められる外槽と、前記外槽内に回転可能に配置され、洗濯物が収容される内槽と、前記筐体に設けられ、前記内槽内に通じる投入口と、前記投入口を覆う扉と、前記扉の開閉を検出する開閉検出部と、洗い工程、すすぎ工程および脱水工程を含む洗濯運転を実行する制御部と、前記洗濯運転を一時停止するための一時停止操作と、前記洗濯運転を再開する再開操作とを受け付ける操作部と、を備える。ここで、前記制御部は、前記洗濯運転の一時停止中に前記扉が開閉された場合、前記内槽に対して洗濯物が追加されたのか取り出されたのかの判定を行い、当該判定結果と前記洗濯運転の履歴とに基づいて、前記洗濯運転の再開後の運転条件を調整する。
【0008】
本態様に係る洗濯機によれば、洗濯運転の一時停止中に洗濯物の追加または取出しが行われたときに、洗濯物の量の変化だけでなく洗濯運転の履歴が加味された、より望ましい運転条件の調整を行うことが可能となる。
【0009】
本態様に係る洗濯機において、前記制御部は、洗濯物が追加されたと判定した場合に、前記洗濯運転の履歴に基づいて性能と時間の何れを優先するかの決定を行い、時間を優先する決定を行ったときには、性能を優先する決定を行ったときよりも前記洗濯運転の運転時間が長くならないように前記運転条件を調整するような構成とされ得る。
【0010】
上記の構成によれば、洗濯物が追加された場合に、ユーザが性能と時間の何れを優先する傾向にあるかに応じた適切な運転条件の調整が可能となる。
(【0011】以降は省略されています)
この特許をJ-PlatPat(特許庁公式サイト)で参照する
関連特許
青島海爾洗衣机有限公司
洗濯機
2日前
青島海爾洗衣机有限公司
洗濯機
2か月前
青島海爾洗衣机有限公司
洗濯機
2日前
青島海爾洗衣机有限公司
洗濯機
3か月前
青島海爾洗衣机有限公司
洗濯機
2か月前
青島海爾洗衣机有限公司
洗濯機
2か月前
青島海爾洗衣机有限公司
洗濯機
2か月前
青島海爾洗衣机有限公司
洗濯機
10か月前
青島海爾洗衣机有限公司
洗濯機
5か月前
青島海爾洗衣机有限公司
洗濯機
10か月前
青島海爾洗衣机有限公司
洗濯機
1か月前
青島海爾洗衣机有限公司
洗濯機
1か月前
青島海爾洗衣机有限公司
洗濯機
10か月前
青島海爾洗衣机有限公司
洗濯機
11か月前
青島海爾洗衣机有限公司
縦型洗濯機
7か月前
青島海爾洗衣机有限公司
縦型洗濯機
10か月前
青島海爾洗衣机有限公司
洗濯乾燥機
7か月前
青島海爾洗衣机有限公司
縦型洗濯機
7か月前
青島海爾洗衣机有限公司
洗濯乾燥機
12か月前
青島海爾洗衣机有限公司
ランドリ機器
10か月前
青島海爾洗衣机有限公司
ランドリ機器
10か月前
青島海爾洗衣机有限公司
ドラム式洗濯機
6か月前
青島海爾洗衣机有限公司
ドラム式洗濯機
25日前
青島海爾洗衣机有限公司
ドラム式洗濯機
25日前
青島海爾洗衣机有限公司
ドラム式洗濯機
5か月前
青島海爾洗衣机有限公司
ランドリー機器
1か月前
青島海爾洗衣机有限公司
ドラム式洗濯機
6か月前
青島海爾洗衣机有限公司
超音波洗浄装置
3か月前
青島海爾洗衣机有限公司
ランドリシステム
10か月前
青島海爾洗衣机有限公司
乾燥機および洗濯機
10日前
青島海爾洗衣机有限公司
乾燥機および除菌装置
3か月前
青島海爾洗衣机有限公司
排水フィルタ及び洗濯機
1か月前
青島海爾洗衣机有限公司
排水フィルタ及び洗濯機
1か月前
青島海爾洗衣机有限公司
処理液投入装置及び洗濯機
12か月前
青島海爾洗衣机有限公司
処理液投入装置及び洗濯機
12か月前
青島海爾洗衣机有限公司
処理液投入装置及び洗濯機
12か月前
続きを見る
他の特許を見る