TOP
|
特許
|
意匠
|
商標
特許ウォッチ
Twitter
他の特許を見る
10個以上の画像は省略されています。
公開番号
2025069793
公報種別
公開特許公報(A)
公開日
2025-05-01
出願番号
2023179738
出願日
2023-10-18
発明の名称
縦型洗濯機
出願人
青島海爾洗衣机有限公司
,
QINGDAO HAIER WASHING MACHINE CO.,LTD.
,
アクア株式会社
代理人
個人
,
個人
,
個人
主分類
D06F
39/14 20060101AFI20250423BHJP(繊維または類似のものの処理;洗濯;他に分類されない可とう性材料)
要約
【課題】上蓋のお手入れ性を損なうことがない二つ折りタイプの上蓋を備える縦型洗濯機を提供する。
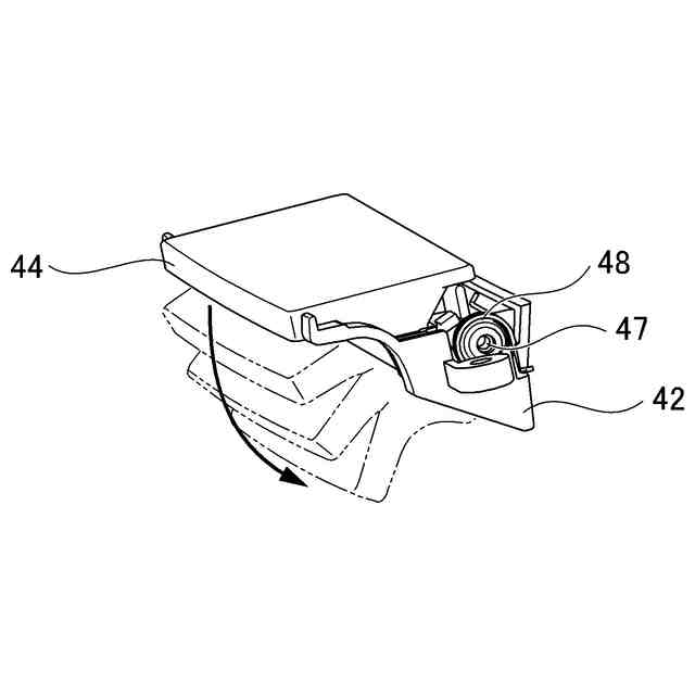
【解決手段】縦型洗濯機は、筐体2と、筐体2に対して開閉可能な上蓋10とを備える縦型洗濯機であって、上蓋10は、前後方向に2分割された後側部分20および前側部分30であって、フラットな上面を有する後側部分20およびフラットな上面を有する前側部分30と、後側部分20と前側部分30とを二つ折り可能に連結するヒンジと、前側部分30の前側端部の少なくとも一部に配置された取手44とを備える。取手44は、フラットな上面を有し、後側端部に、左右方向に延びる回動軸を有し、回動軸よりも前側の前側端部の下側に、ユーザが手をかける空間が形成されている。
【選択図】図10
特許請求の範囲
【請求項1】
筐体と、前記筐体に対して開閉可能な上蓋とを備える縦型洗濯機であって、
前記上蓋は、
前後方向に2分割された後側部分および前側部分であって、フラットな上面を有する前記後側部分およびフラットな上面を有する前記前側部分と、
前記後側部分と前記前側部分とを二つ折り可能に連結するヒンジと、
前記前側部分の前側端部の少なくとも一部に配置された取手と、
を備え、
前記取手は、
フラットな上面を有し、
後側端部に、左右方向に延びる回動軸を有し、
前記回動軸よりも前側の前側端部の下側に、ユーザが手をかける空間が形成されている、
縦型洗濯機。
続きを表示(約 260 文字)
【請求項2】
前記取手が前記回動軸に対して回動する前の回動前状態では、前記取手の上面は前記前側部分の上面に沿ってフラットであり、
前記取手の上面および下側に加わる力に応じて、前記取手は前記回動軸に対して回動し、
前記取手は、前記取手を前記回動前状態に戻すためのばね部材を更に有する、
請求項1に記載の縦型洗濯機。
【請求項3】
前記後側部分および前記前側部分の少なくとも一方における少なくとも一部は、透明性を有する部材で構成されている、請求項1または2に記載の縦型洗濯機。
発明の詳細な説明
【技術分野】
【0001】
本発明は、縦型洗濯機に関する。
続きを表示(約 1,300 文字)
【背景技術】
【0002】
縦型洗濯機の上蓋として、一枚タイプと二つ折りタイプとがある(例えば特許文献1、2)。
【0003】
一枚タイプの上蓋は、前後方向に連続した一枚のパーツで構成されている。一枚タイプの上蓋では、前側端部の下側に、ユーザが手をかけて上蓋を押し上げるための取手が配置されている構成が知られている。
【0004】
二つ折りタイプの上蓋は、前後方向に2分割された後側部分と前側部分とがヒンジによって連結されて構成されている。二つ折りタイプの上蓋では、開く動作において二つ折りを容易とするために、前側部分の上面におけるヒンジ近傍に取手が配置されており、前側部分の上面における取手近傍に、ユーザが取手に手をかけるための窪みが配置されている。
【先行技術文献】
【特許文献】
【0005】
特開2016-202439号公報
特開2020-089458号公報
【発明の概要】
【発明が解決しようとする課題】
【0006】
一枚タイプの上蓋では、取手が上蓋の上面に配置されていないため、上蓋の上面がフラットであり、上蓋の上面の汚れ等のお手入れが容易である。一方、一枚タイプの上蓋では、開くときに二つ折りされないため、上蓋を開くための洗濯機の上方のスペースを、比較的に大きく確保する必要がある。
【0007】
二つ折りタイプの上蓋では、開くときに二つ折りされるため、上蓋を開くための洗濯機の上方のスペースを、比較的に小さくすることができる。一方、二つ折りタイプの上蓋では、取手および窪みが上蓋の上面に配置されているため、これらの部分の汚れ等のお手入れを十分に行うことが難しく、上蓋の上面の汚れ等のお手入れ性が損なわれる。
【0008】
本開示は、上蓋のお手入れ性を損なうことがない二つ折りタイプの上蓋を備える縦型洗濯機を提供することを目的とする。
【課題を解決するための手段】
【0009】
(1)本開示に係る縦型洗濯機は、筐体と、前記筐体に対して開閉可能な上蓋とを備える縦型洗濯機であって、前記上蓋は、前後方向に2分割された後側部分および前側部分であって、フラットな上面を有する前記後側部分およびフラットな上面を有する前記前側部分と、前記後側部分と前記前側部分とを二つ折り可能に連結するヒンジと、前記前側部分の前側端部の少なくとも一部に配置された取手とを備える。前記取手は、フラットな上面を有し、後側端部に、左右方向に延びる回動軸を有し、前記回動軸よりも前側の前側端部の下側に、ユーザが手をかける空間が形成されている。
【0010】
本開示に係る縦型洗濯機によれば、従来の一枚タイプの上蓋と同様に、取手が上蓋の前側部分の前側端部の下側に配置されており、上蓋が閉じた状態では、取手の上面をフラットにすることができる。これにより、後側部分の上面、前側部分の上面および取手の上面がフラットであるので、上蓋の上面の汚れ等のお手入れ性を損なうことがない。
(【0011】以降は省略されています)
この特許をJ-PlatPat(特許庁公式サイト)で参照する
関連特許
青島海爾洗衣机有限公司
洗濯機
4日前
青島海爾洗衣机有限公司
洗濯機
1か月前
青島海爾洗衣机有限公司
洗濯機
9か月前
青島海爾洗衣机有限公司
洗濯機
10か月前
青島海爾洗衣机有限公司
洗濯機
4か月前
青島海爾洗衣机有限公司
洗濯機
4日前
青島海爾洗衣机有限公司
洗濯機
2か月前
青島海爾洗衣机有限公司
洗濯機
10か月前
青島海爾洗衣机有限公司
洗濯機
1か月前
青島海爾洗衣机有限公司
洗濯機
1か月前
青島海爾洗衣机有限公司
洗濯機
1か月前
青島海爾洗衣机有限公司
洗濯機
11か月前
青島海爾洗衣机有限公司
洗濯機
11か月前
青島海爾洗衣机有限公司
洗濯機
9か月前
青島海爾洗衣机有限公司
洗濯乾燥機
11か月前
青島海爾洗衣机有限公司
縦型洗濯機
9か月前
青島海爾洗衣机有限公司
洗濯乾燥機
6か月前
青島海爾洗衣机有限公司
縦型洗濯機
6か月前
青島海爾洗衣机有限公司
縦型洗濯機
6か月前
青島海爾洗衣机有限公司
衣類乾燥機
12か月前
青島海爾洗衣机有限公司
ランドリ機器
9か月前
青島海爾洗衣机有限公司
ランドリ機器
9か月前
青島海爾洗衣机有限公司
ドラム式洗濯機
12か月前
青島海爾洗衣机有限公司
ドラム式洗濯機
5か月前
青島海爾洗衣机有限公司
ドラム式洗濯機
5か月前
青島海爾洗衣机有限公司
ランドリー機器
5日前
青島海爾洗衣机有限公司
超音波洗浄装置
2か月前
青島海爾洗衣机有限公司
ドラム式洗濯機
5か月前
青島海爾洗衣机有限公司
ランドリシステム
9か月前
青島海爾洗衣机有限公司
乾燥機および除菌装置
2か月前
青島海爾洗衣机有限公司
排水フィルタ及び洗濯機
1か月前
青島海爾洗衣机有限公司
排水フィルタ及び洗濯機
1か月前
青島海爾洗衣机有限公司
処理液投入装置及び洗濯機
11か月前
青島海爾洗衣机有限公司
処理液投入装置及び洗濯機
11か月前
青島海爾洗衣机有限公司
処理液投入装置及び洗濯機
11か月前
青島海爾洗衣机有限公司
処理液投入装置及び洗濯機
11か月前
続きを見る
他の特許を見る