TOP
|
特許
|
意匠
|
商標
特許ウォッチ
Twitter
他の特許を見る
公開番号
2025146375
公報種別
公開特許公報(A)
公開日
2025-10-03
出願番号
2024047114
出願日
2024-03-22
発明の名称
排水フィルタ及び洗濯機
出願人
青島海爾洗衣机有限公司
,
QINGDAO HAIER WASHING MACHINE CO.,LTD.
,
アクア株式会社
代理人
個人
,
個人
,
個人
主分類
D06F
39/10 20060101AFI20250926BHJP(繊維または類似のものの処理;洗濯;他に分類されない可とう性材料)
要約
【課題】操作力を伝達する機構における部材の破損や部材の分解等を防止することができる排水フィルタ及び洗濯機を提供する。
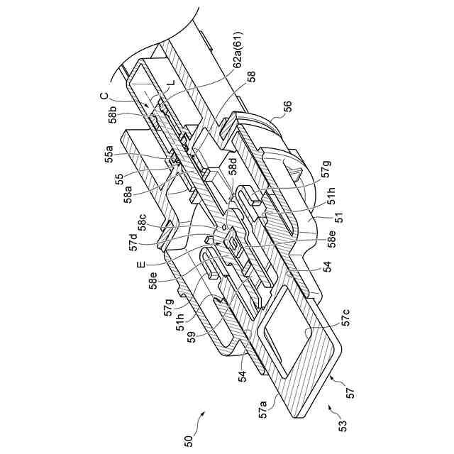
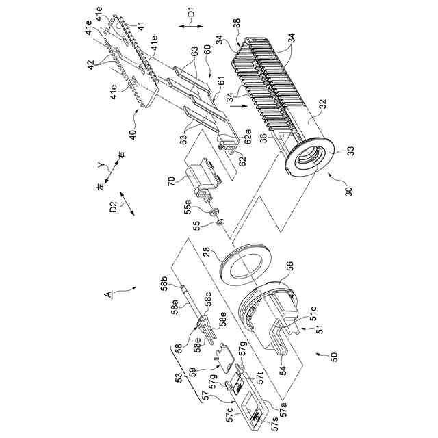
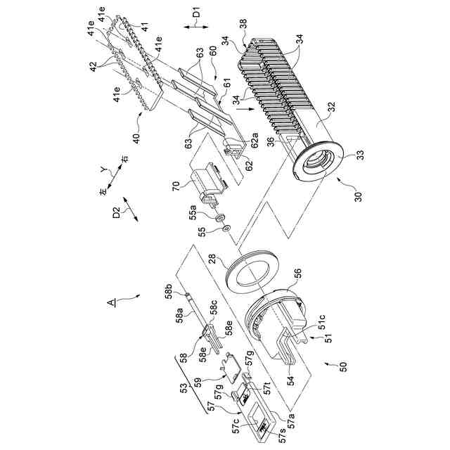
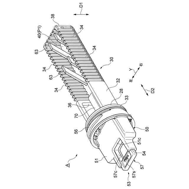
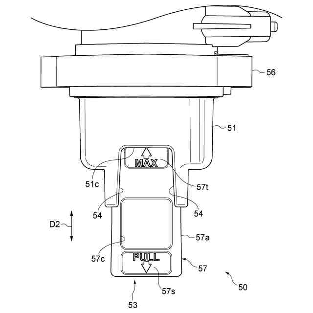
【解決手段】排水フィルタ100は、ケース20内に装着されたフィルタ本体30と、フィルタ本体30内で移動可能な異物圧縮用の往復部材61と、フィルタ本体30に取り付けられた操作部50と、を備える。操作部50は、第2方向D2に押し引き可能な操作レバー53を有する。操作レバー53は、使用者によって引出し方向又は押込み方向に操作される第1部材57と、第1部材57の係合片57dと着脱可能に係合し、連結部Cを介して操作力を往復部材61に伝達する第2部材58と、を含み、第1部材57と第2部材58の係合は、圧縮動作の反力により操作力が一定以上となったときに解除され、第2部材58を介しての当該操作力の伝達が不能となる。
【選択図】図4
特許請求の範囲
【請求項1】
フィルタ本体に洗濯水を導入し通水することで前記洗濯水に含まれる異物を捕獲する排水フィルタであって、
前記洗濯水を導入する導入口と、ろ過後の前記洗濯水を排出する排出口と、前記フィルタ本体が挿入される挿入口と、を有するケースと、
前記ケース内に装着され、前記導入口からの前記洗濯水を流入させてろ過する前記フィルタ本体と、
前記フィルタ本体内で所定の移動方向に移動可能な異物圧縮用の往復部材と、
前記フィルタ本体に取り付けられて前記挿入口の外側から操作可能な操作部と、を備え、
前記操作部は、先端側の連結部において前記往復部材に連結されると共に前記移動方向に押し引き可能な操作レバーを有し、
前記操作レバーは、使用者によって引出し方向又は押込み方向に操作される第1部材と、前記第1部材の一部と着脱可能に係合し、前記連結部を介して引出し方向又は押込み方向の操作力を前記往復部材に伝達する第2部材と、を含み、
前記第1部材と前記第2部材の係合は、圧縮動作の反力により前記操作力が一定以上となったときに解除され、前記第2部材を介しての当該操作力の伝達が不能となる、排水フィルタ。
続きを表示(約 650 文字)
【請求項2】
前記フィルタ本体は、前記移動方向に交差する第1方向に延びる複数の櫛歯を有し、
前記フィルタ本体には、前記フィルタ本体内に配置された平板部と前記複数の櫛歯に嵌合する周縁部とを有する圧縮板が設けられており、
前記操作レバーの押し引きに応じた前記往復部材の往復運動に連動して、前記圧縮板が前記第1方向に移動する、請求項1に記載の排水フィルタ。
【請求項3】
前記ケースの内面には、前記第1方向に移動した前記圧縮板に近接又は当接する受け面が形成されている、請求項2に記載の排水フィルタ。
【請求項4】
前記操作部は、第1部材の移動を案内する別のレバーを有し、
前記第1部材は、係合部の分離後に前記係合部とは異なる別の部位で前記別のレバーに当接し、それによって前記第1部材の更なる移動が規制される、請求項1~3の何れか一項に記載の排水フィルタ。
【請求項5】
前記操作部には、前記第1部材と前記別のレバーが前記別の部位で当接したときに前記第1部材が移動限界位置に到達したことを示す目印が設けられている、請求項4に記載の排水フィルタ。
【請求項6】
筐体内に配置された外槽と、
前記外槽内に配置され、洗濯物が収容される洗濯槽と、
前記外槽に接続され、前記外槽内の洗濯水を排出する排水管と、
前記排水管に接続された請求項1~3の何れか一項に記載の前記排水フィルタと、を備える洗濯機。
発明の詳細な説明
【技術分野】
【0001】
本発明は、排水フィルタ及び洗濯機に関する。
続きを表示(約 2,200 文字)
【背景技術】
【0002】
排水フィルタを備えた洗濯機として、例えば特許文献1に記載された洗濯機が知られている。この洗濯機は、排水に含まれる異物を捕獲するフィルタユニットを含む。フィルタユニットのバスケット(フィルタ本体)には、排水を濾過する濾過面が形成されている。濾過面は、櫛状に並んだ棒体によって形成されたスリットと、大小の濾過孔等を有する。排水が濾過されると、排水中の異物がバスケットの濾過面に捕獲される。ユーザは、フィルタ本体を引き出し、バスケットに付着した異物の除去等のメンテナンスを行う。
【先行技術文献】
【特許文献】
【0003】
特開2009-125537号公報
【発明の概要】
【発明が解決しようとする課題】
【0004】
ところで、メンテナンス時において糸屑等の異物の水分率が高いことは、使用者に不快感をもたらす可能性がある。そこで、異物の脱水が可能となるよう、使用者によって押し引き可能な操作レバーを設ける構成が考えられる。そのような構成では、フィルタ本体内で移動可能な異物圧縮用の往復部材が設けられ、例えば操作レバーの先端部が、その往復部材に連結される。操作レバーが使用者によって引出し方向又は押込み方向に操作されると、その操作力が往復部材に伝達されて、異物が圧縮される。
【0005】
上記のような構成では、圧縮動作の反力により、操作レバーにおける操作力が増大し得る。操作力が増大した場合に、操作レバーと往復部材の連結部等が破損したり、部材が分解したりする恐れがある。そこで本発明は、操作力を伝達する機構における部材の破損や部材の分解等を防止することができる排水フィルタ及び洗濯機を提供することを目的とする。
【課題を解決するための手段】
【0006】
[1]本開示の一態様は、フィルタ本体に洗濯水を導入し通水することで洗濯水に含まれる異物を捕獲する排水フィルタであって、洗濯水を導入する導入口と、ろ過後の洗濯水を排出する排出口と、フィルタ本体が挿入される挿入口と、を有するケースと、ケース内に装着され、導入口からの洗濯水を流入させてろ過するフィルタ本体と、フィルタ本体内で所定の移動方向に移動可能な異物圧縮用の往復部材と、フィルタ本体に取り付けられて挿入口の外側から操作可能な操作部と、を備え、操作部は、先端において往復部材に連結される連結部を有すると共に移動方向に押し引き可能な操作レバーを有し、操作レバーは、使用者によって引出し方向又は押込み方向に操作される第1部材と、第1部材の一部と着脱可能に係合し、連結部を介して引出し方向又は押込み方向の操作力を往復部材に伝達する第2部材と、を含み、第1部材と第2部材の係合は、圧縮動作の反力により操作力が一定以上となったときに解除され、第2部材を介しての当該操作力の伝達が不能となる。
【0007】
[1]の排水フィルタによれば、メンテナンス時、使用者が操作レバーを操作することにより、異物が圧縮され、異物が脱水される。操作レバーの先端側の第2部材は異物圧縮用の往復部材に連結されており、第1部材は、第2部材に着脱可能に係合している。第1部材及び第2部材が引出し方向又は押込み方向に一緒に移動すると、往復部材が圧縮側に移動する。往復部材の移動に伴い、異物の圧縮が進み、圧縮動作の反力により操作力が増大する。第1部材と第2部材の係合部は、操作力が一定以上となったときに解除され、第2部材が第1部材から分離する。このように、操作レバーにクラッチ構造が設けられている。第2部材さらには連結部を介しての操作力の伝達が不能となる。これにより、連結部等が保護され、操作力を伝達する機構における部材の破損や部材の分解等を防止することができる。
【0008】
[2]上記[1]の排水フィルタにおいて、フィルタ本体は、移動方向に交差する第1方向に延びる複数の櫛歯を有し、フィルタ本体には、フィルタ本体内に配置された平板部と複数の櫛歯に嵌合する周縁部とを有する圧縮板が設けられており、操作レバーの押し引きに応じた往復部材の往復運動に連動して、圧縮板が第1方向に移動してもよい。この構成によれば、洗濯水がフィルタ本体の複数の櫛歯を通過する際に、異物が捕獲される。メンテナンス時、使用者が操作レバーを操作して圧縮板を移動させることにより、異物が脱水される。このとき異物は圧縮板の周縁部によって掻き取られる。よって、使用者は、できるだけ異物に触れずに異物を廃棄することができる。
【0009】
[3]上記[2]の排水フィルタにおいて、ケースの内面には、第1方向に移動した圧縮板に近接又は当接する受け面が形成されていてもよい。この構成によれば、受け面と圧縮板の間に異物が挟まれるため、より高い脱水効果が得られる。
【0010】
[4]上記[1]~[3]の何れか一つの排水フィルタにおいて、操作部は、第1部材の移動を案内する別のレバーを有し、第1部材は、係合部の分離後に係合部とは異なる別の部位で別のレバーに当接し、それによって第1部材の更なる移動が規制されてもよい。この構成によれば、例えば、使用者の手に伝わる感触や、部材同士の当接による音等により、使用者は操作レバーによる操作の終了を認識できる。
(【0011】以降は省略されています)
この特許をJ-PlatPat(特許庁公式サイト)で参照する
関連特許
青島海爾洗衣机有限公司
洗濯機
2日前
青島海爾洗衣机有限公司
洗濯機
2か月前
青島海爾洗衣机有限公司
洗濯機
5か月前
青島海爾洗衣机有限公司
洗濯機
2日前
青島海爾洗衣机有限公司
洗濯機
3か月前
青島海爾洗衣机有限公司
洗濯機
2か月前
青島海爾洗衣机有限公司
洗濯機
2か月前
青島海爾洗衣机有限公司
洗濯機
2か月前
青島海爾洗衣机有限公司
洗濯機
1か月前
青島海爾洗衣机有限公司
洗濯機
1か月前
青島海爾洗衣机有限公司
縦型洗濯機
7か月前
青島海爾洗衣机有限公司
縦型洗濯機
7か月前
青島海爾洗衣机有限公司
洗濯乾燥機
7か月前
青島海爾洗衣机有限公司
ランドリー機器
1か月前
青島海爾洗衣机有限公司
ドラム式洗濯機
25日前
青島海爾洗衣机有限公司
ドラム式洗濯機
25日前
青島海爾洗衣机有限公司
超音波洗浄装置
3か月前
青島海爾洗衣机有限公司
ドラム式洗濯機
5か月前
青島海爾洗衣机有限公司
ドラム式洗濯機
6か月前
青島海爾洗衣机有限公司
ドラム式洗濯機
6か月前
青島海爾洗衣机有限公司
乾燥機および洗濯機
10日前
青島海爾洗衣机有限公司
乾燥機および除菌装置
3か月前
青島海爾洗衣机有限公司
排水フィルタ及び洗濯機
1か月前
青島海爾洗衣机有限公司
排水フィルタ及び洗濯機
1か月前
青島海爾洗衣机有限公司
超音波洗浄装置および洗浄方法
7か月前
青島海爾洗衣机有限公司
ドアロック強制解除機構および洗濯機
7か月前
青島海爾洗衣机有限公司
ランドリ機器およびコインランドリ店舗
9か月前
青島海爾洗衣机有限公司
微細気泡発生装置及びそれを備えた洗濯機
6か月前
青島海爾洗衣机有限公司
ランドリー機器
9か月前
青島海爾洗衣机有限公司
コインランドリー利用支援システム
8か月前
個人
洗濯機
10日前
個人
洗濯装置
3か月前
個人
洗濯物干しハンガー
26日前
セーレン株式会社
複合表皮材
10日前
株式会社青柳
染め加工方法
2か月前
東レ株式会社
繊維断面の検査方法
1か月前
続きを見る
他の特許を見る