TOP
|
特許
|
意匠
|
商標
特許ウォッチ
Twitter
他の特許を見る
公開番号
2025134147
公報種別
公開特許公報(A)
公開日
2025-09-17
出願番号
2024031859
出願日
2024-03-04
発明の名称
保管庫
出願人
富士ベンダーサービス株式会社
代理人
個人
主分類
F25D
23/12 20060101AFI20250909BHJP(冷凍または冷却;加熱と冷凍との組み合わせシステム;ヒートポンプシステム;氷の製造または貯蔵;気体の液化または固体化)
要約
【課題】本発明は、中古の自動販売機、特に飲料用自動販売機を改造してなる保管庫を提供することを目的とする。
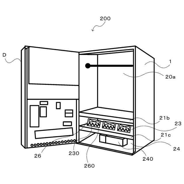
【解決手段】本発明に係る物品保管庫は、飲料用自動販売機を改造してなる、筐体と、外扉と、該筐体内に設けられた物品収容部と、該物品収容部の空間を冷却する冷却部と、該物品収容部の空間を加熱する加熱部と、該物品収容部の空間の温度を調整する温度調整部と、空気を送風する送風部とを備え、温度調整部は、物品収容部の物品を冷却又は加熱する専用の温度調整手段と、物品収容部の空間の温度を検知する温度検知手段とを備え、物品収容部の空間の空間温度は、温度検知手段において前もって設定された検知温度に基づいて温度調整可能に構成されていることを特徴とする。
特許請求の範囲
【請求項1】
飲料用自動販売機を改造してなる物品保管庫であって、
筐体と、外扉と、該筐体内に設けられた物品収容部と、該物品収容部の空間を冷却する冷却部と、該物品収容部の空間を加熱する加熱部と、該物品収容部の空間の温度を調整する温度調整部と、空気を送風する送風部とを備え、
前記温度調整部は、前記物品収容部の物品を冷却又は加熱する専用の温度調整手段と、前記物品収容部の空間の温度を検知する温度検知手段とを備え、
前記物品収容部の空間の空間温度は、前記温度検知手段において前もって設定された検知温度に基づいて温度調整可能に構成されていることを特徴とする物品保管庫。
続きを表示(約 690 文字)
【請求項2】
飲料用自動販売機を改造してなる物品乾燥庫であって、
筐体と、外扉と、該筐体内に設けられた物品収容部と、該物品収容部の空間を冷却する冷却部と、該物品収容部の空間を加熱する加熱部と、該物品収容部の空間の温度を調整する温度調整部と、空気を送風する送風部とを備え、
前記温度調整部は、前記物品収容部の物品を加熱して乾燥させる専用の温度調整手段と、前記物品収容部の空間の温度を検知する温度検知手段とを備え、
前記物品収容部の空間の空間温度は、前記温度検知手段において前もって設定された検知温度に基づいて温度調整可能に構成されていることを特徴とする物品乾燥庫。
【請求項3】
飲料用自動販売機を改造してなる、食材を保管する食材保管庫であって、
筐体と、外扉と、該筐体内に設けられた食材収容部と、該食材収容部の空間を冷却する冷却部と、該食材収容部の空間を加熱する加熱部と、該食材収容部の空間の温度を調整する温度調整部と、空気を送風する送風部とを備え、
前記温度調整部は、前記食材収容部の物品を冷却する専用の温度調整手段と、前記食材収容部の空間の温度を検知する温度検知手段とを備え、
前記食材収容部の空間の空間温度は、前記温度検知手段において前もって設定された検知温度に基づいて温度調整可能に構成されていることを特徴とする食材保管庫。
【請求項4】
飲料用自動販売機を改造してなる、物品を保管する保管庫であって、
筐体と、外扉と、該筐体内に設けられた物品収容部とを備える物品保管庫。
発明の詳細な説明
【技術分野】
【0001】
本発明は、中古の自動販売機、特に飲料用自動販売機を改造してなる保管庫に関する。
続きを表示(約 2,000 文字)
【背景技術】
【0002】
日本全国の自動販売機設置台数は、20世紀においては増加の一途を辿り、2000年(平成12年)には560万台とピークを迎えたが、21世紀に入ってから減少傾向に転じ、2007年(平成19年)末には540万台(うち48.8パーセントが飲料販売用。日本自動販売機工業会の調査)、2008年(平成20年)末には526万台と減少傾向が続いている。
一方で、設置済み自動販売機については、タイプが古い新しいに関らず、廃却されることになる。使用済みとなった自販機は、所有者である中身商品メーカーやオペレータなどが排出事業者となり『廃棄物の処理及び清掃に関する法律』を遵守し、産業廃棄物として適正に処理される。一般的な処理方法は、有害物質を含む部品などを事前選別した後、シュレッダー(破砕機)で破砕処理され、鉄やアルミは再生資源としてリサイクルされ、その他のものはシュレッダーダストとして管理型処分場に埋め立てられることになる。排出事業者である中身商品メーカー等は、自販機マニフェスト(産業廃棄物管理票)を交付・管理し、これら一連の処理が適正に行なわれたことを確認している。ここで、事前選別とは、廃棄物から有害物質を含む部品・装置などを予め取り外し、環境省による事前選別ガイドラインに従って適正に処理することを言います。自販機に関しては、水銀を含む蛍光管、カドミウムを含むニカド電池、フロンガス等が事前選別される
【0003】
そうすると、所有者である中身商品メーカーやオペレータは、今後、大量の自動販売機を適正な廃棄処理をすることになるが、大量の自動販売機を回収して適正な廃棄するには大きなコストと手間がかかることもさりながら、自動販売機の廃棄処理は、限られた地球資源を大切にすべきとする「SDGs」の考え方にも逆行する。すなわち、中古の自動販売機の再利用という課題が存在する。
【0004】
市販の飲料自動販売機を改造して新たな形態で使用する発明等が提案されている。
特許文献1に、市場で流通している様々な形状のペットボトルを自動販売機にて販売することを可能とし、市販の飲料自動販売機の電気的制御機構はそのまま使用して様々な形状のペットボトル飲料を販売することが可能であるペットボトル送出装置が提案されている。
また、特許文献2には、市販の自動販売機を改造した非常用飲料提供装置を提案している。
【先行技術文献】
【特許文献】
【0005】
特開2011-022708号公報
特許第5444494号公報
【発明の開示】
【発明が解決しようとする課題】
【0006】
しかし、特許文献1及び2は、市販の飲料自動販売機を改造して新たな機能を付加する提案をしているが、あくまでも自動販売機としての利用にとどまる。
【0007】
そこで、本発明は、上記課題に鑑みてなされたものであり、中古の自動販売機、特に飲料用自動販売機を改造してなる保管庫を提供することを目的とする。
【課題を解決するための手段】
【0008】
本発明に係る物品保管庫は、飲料用自動販売機を改造してなる、筐体と、外扉と、該筐体内に設けられた物品収容部と、該物品収容部の空間を冷却する冷却部と、該物品収容部の空間を加熱する加熱部と、該物品収容部の空間の温度を調整する温度調整部と、空気を送風する送風部とを備え、温度調整部は、物品収容部の物品を冷却又は加熱する専用の温度調整手段と、物品収容部の空間の温度を検知する温度検知手段とを備え、物品収容部の空間の空間温度は、温度検知手段において前もって設定された検知温度に基づいて温度調整可能に構成されていることを特徴とする。
なお、当該物品保管庫を、食材の保管に特化した冷蔵庫としてもよい。
【0009】
本発明に係る物品保管庫は、飲料用自動販売機を改造してなる、筐体と、外扉と、該筐体内に設けられた物品収容部と、該物品収容部の空間を冷却する冷却部と、該物品収容部の空間を加熱する加熱部と、該物品収容部の空間の温度を調整する温度調整部と、空気を送風する送風部とを備え、温度調整部は、物品収容部の物品を加熱して乾燥させる専用の温度調整手段と、物品収容部の空間の温度を検知する温度検知手段とを備え、物品収容部の空間の空間温度は、温度検知手段において前もって設定された検知温度に基づいて温度調整可能に構成されていることを特徴とする。
【0010】
本発明に係る物品保管庫は、飲料用自動販売機を改造してなる、物品を保管する保管庫であって、筐体と、外扉と、該筐体内に設けられた物品収容部とを備えることを特徴とする。
【発明の効果】
(【0011】以降は省略されています)
この特許をJ-PlatPat(特許庁公式サイト)で参照する
関連特許
タニコー株式会社
貯水槽
2か月前
株式会社不二工機
膨張弁
18日前
株式会社不二工機
膨張弁
18日前
個人
ヒートポンプ型空気調和機
1か月前
ホシザキ株式会社
製氷機
1か月前
富士電機株式会社
冷却装置
1か月前
フクシマガリレイ株式会社
断熱扉
19日前
ホシザキ株式会社
冷凍装置
23日前
富士電機株式会社
自動販売機
17日前
フクシマガリレイ株式会社
冷却貯蔵庫
23日前
富士電機株式会社
冷却システム
2か月前
フクシマガリレイ株式会社
冷却貯蔵庫
12日前
ダイキン工業株式会社
冷凍装置
1か月前
富士ベンダーサービス株式会社
保管庫
1か月前
フクシマガリレイ株式会社
ショーケース
1か月前
三菱重工冷熱株式会社
低温冷水供給装置
1か月前
ダイキン工業株式会社
冷媒充填方法
1か月前
アクア株式会社
冷蔵庫
1か月前
シャープ株式会社
冷蔵庫
1か月前
シャープ株式会社
冷蔵庫
1か月前
フクシマガリレイ株式会社
商品販売システム
25日前
ホシザキ株式会社
液体凍結装置
2か月前
株式会社アイシン
冷暖房システム
1か月前
島田工業株式会社
製氷装置及び製氷方法
1か月前
アクア株式会社
冷却ボックス装置
2日前
アクア株式会社
冷却ボックス装置
2日前
株式会社富士通ゼネラル
冷凍サイクル装置
1か月前
株式会社富士通ゼネラル
冷凍サイクル装置
1か月前
株式会社富士通ゼネラル
冷凍サイクル装置
24日前
株式会社前川製作所
冷却装置
1か月前
株式会社オカムラ
故障予知システム
1か月前
三菱重工冷熱株式会社
冷却装置
1か月前
日本碍子株式会社
空調システム
25日前
東芝ライフスタイル株式会社
冷却装置
25日前
東芝ライフスタイル株式会社
冷却装置
25日前
富士電機株式会社
店舗用冷却装置制御システム
1か月前
続きを見る
他の特許を見る