TOP
|
特許
|
意匠
|
商標
特許ウォッチ
Twitter
他の特許を見る
公開番号
2025159925
公報種別
公開特許公報(A)
公開日
2025-10-22
出願番号
2024062796
出願日
2024-04-09
発明の名称
洗浄機
出願人
ホシザキ株式会社
代理人
個人
,
個人
,
個人
主分類
A47L
15/42 20060101AFI20251015BHJP(家具;家庭用品または家庭用設備;コーヒーひき;香辛料ひき;真空掃除機一般)
要約
【課題】洗浄室の上方前面に操作部が、洗浄室内の熱から受ける影響を低減することができる洗浄機を提供する。
【解決手段】器具洗浄機100は、本体部1と本体部1に対して鉛直方向にスライド可能に設けられる上扉23と上側前部パネル5Cと操作表示部11とを備える。上側前部パネル5Cは、操作表示部11が取り付けられる前面部5Caと、前面部5Caの下端から上扉23側に折れ曲がる第一折曲部5Cbと、第一折曲部5Cbの上扉23側の端部から上扉23に沿って上側に折れ曲がる第二折曲部5Ccと、を有する。操作表示部11の後面と第二折曲部5Ccの前面との間には、第一の隙間G1が形成され、操作表示部11の下面と第一折曲部5Cbの上面との間には、第二の隙間G2が形成されている。
【選択図】図4
特許請求の範囲
【請求項1】
被洗浄物を洗浄する洗浄機であって、
前記被洗浄物を収容する洗浄室と、前記洗浄室に前記被洗浄物を出し入れするために開口部と、を有する本体部と、
前記本体部に対して鉛直方向にスライド可能に設けられると共に、少なくとも前記洗浄室内の上方領域に対応する前記開口部を開閉可能に設けられた扉と、
前記開口部の開口面に直交する前後方向において、前記開口部を開口した状態の前記扉に対して前記洗浄室と反対側に配置される前面パネルと、
前記前面パネルに取り付けられており、前記洗浄機を操作する操作部と、を備え、
前記前面パネルは、
前記操作部が取り付けられる前面部と、
前記前面部の下端から前記前後方向における前記扉側に折れ曲がる第一折曲部と、
前記第一折曲部の前記扉側の端部から前記扉に沿って鉛直方向における上側に折れ曲がる第二折曲部と、を有し、
前記操作部の前記前後方向における後面と、前記第二折曲部の前記前後方向における前面との間には、第一の隙間が形成され、
前記鉛直方向における前記操作部の下面と、前記鉛直方向における前記第一折曲部の上面との間には、第二の隙間が形成されている、洗浄機。
続きを表示(約 79 文字)
【請求項2】
前記前後方向における前記第一の隙間のサイズは、前記操作部の前記前後方向におけるサイズの1/2以上である、請求項1記載の洗浄機。
発明の詳細な説明
【技術分野】
【0001】
本発明は、洗浄機に関する。
続きを表示(約 2,200 文字)
【背景技術】
【0002】
ベーキングトレイ、各種バット、大型パン等の業務用の器具類を洗浄する器具洗浄機が知られている。例えば、特許文献1には、食器等を洗浄する一般的な洗浄機と比べて大きな容積の洗浄室と、洗浄室を大きく開口することができるドア構造と、を有する洗浄機が開示されている。このような洗浄機は、ノズルからは噴射する水量も一般的な洗浄機と比べて多くなるため、洗浄中の洗浄室には水蒸気が充満しやすい。
【先行技術文献】
【特許文献】
【0003】
実開平7-37033号公報
【発明の概要】
【発明が解決しようとする課題】
【0004】
上記従来の洗浄機のように、洗浄機を操作するための操作部が、上下に開放する扉よりも前方の前面パネルに配置される構成では、洗浄室の上方に溜まりやすい水蒸気から熱の影響を受けやすい。ところが、操作部は、機械備品であるため、上述したような熱は、故障や、低寿命化の原因となる。
【0005】
そこで、本発明の目的は、洗浄室の上方前面に操作部が配置される場合であっても、洗浄室から受ける熱の影響を低減することができる、洗浄機を提供することにある。
【課題を解決するための手段】
【0006】
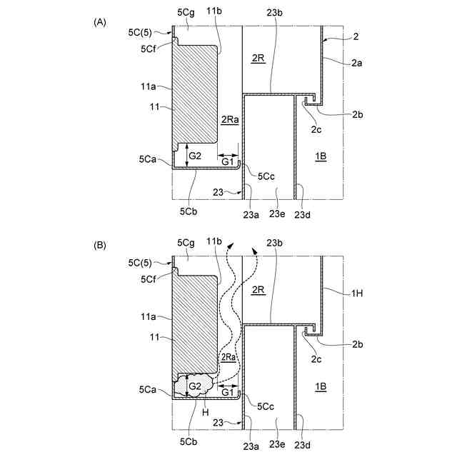
本発明に係る洗浄機は、被洗浄物を洗浄する洗浄機であって、被洗浄物を収容する洗浄室と、洗浄室に被洗浄物を出し入れするために開口部と、を有する本体部と、本体部に対して鉛直方向にスライド可能に設けられると共に、少なくとも洗浄室内の上方領域に対応する開口部を開閉可能に設けられた扉と、開口部の開口面に直交する前後方向において、開口部を開口した状態の扉に対して洗浄室と反対側に配置される前面パネルと、前面パネルに取り付けられており、洗浄機を操作する操作部と、を備え、前面パネルは、操作部が取り付けられる前面部と、前面部の下端から前後方向における扉側に折れ曲がる第一折曲部と、第一折曲部の扉側の端部から扉に沿って鉛直方向における上側に折れ曲がる第二折曲部と、を有し、操作部の前後方向における後面と、第二折曲部の前後方向における前面との間には、第一の隙間が形成され、鉛直方向における操作部の下面と、鉛直方向における第一折曲部の上面との間には、第二の隙間が形成されている。
【0007】
この構成の洗浄機では、前後方向において、開口部を開口した状態の扉に対して洗浄室と反対側に前面パネルが設けられる構成であっても、前面パネルには、第一折曲部に加えて第二折曲部が形成されている。ここで、前面パネルが前面部と第一折曲部とで形成される構成では、扉のスライド開閉時に使用者が前面パネルと扉との間に指等が挟まれると、第一折曲部の端部に指が押し当てられて負傷してしまう可能性がある。本発明では、第二折曲部が形成されているので、第一折曲部の端部に指が押し当てられるようなことがなくなり、作業者が負傷をする可能性を低減できる。一方、操作部は、第二折曲部との干渉を避けるため、第二折曲部よりも上方に配置されることとなり、操作部の下面と第一折曲部の上面との間には、閉鎖的な第二の隙間が形成される。そうすると、当該第二の隙間には、熱がこもり易くなるところ、本発明では、操作部の後面と第二折曲部の前面との間には、第一の隙間が形成されている。これにより、第二の隙間から熱を逃がす経路が確保される。これにより、洗浄室の上方前面に操作部が配置される場合であっても、洗浄室から受ける熱の影響を低減することができる。
【0008】
本発明に係る洗浄機では、前後方向における第一の隙間のサイズは、操作部の前後方向におけるサイズの1/2以上であってもよい。これにより、第二の隙間から第一の隙間を経由して、より確実に熱を逃がすことができる。
【発明の効果】
【0009】
本発明によれば、洗浄室の上方前面に操作部が配置される場合であっても、洗浄室から受ける熱の影響を低減することができる。
【図面の簡単な説明】
【0010】
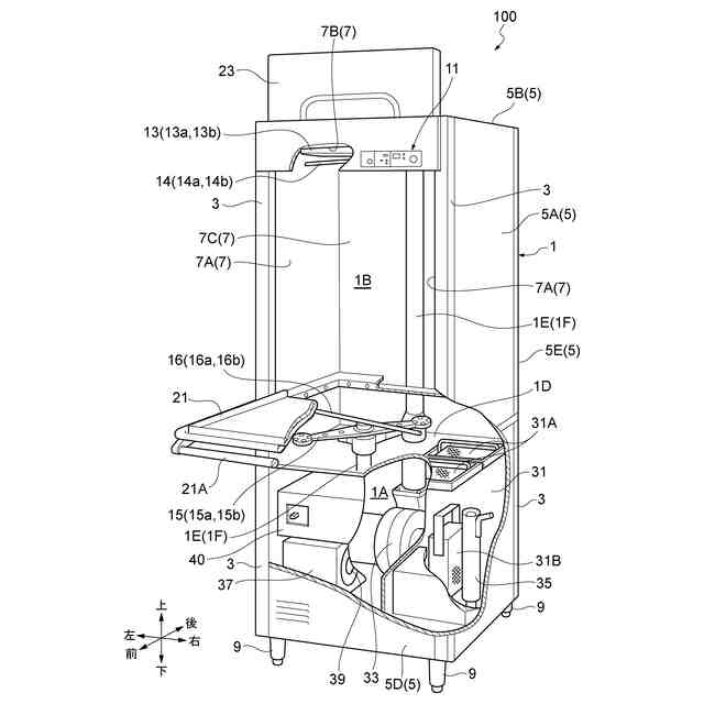
図1は、一実施形態に係る器具洗浄機を斜め前方から見た斜視図である。
図2は、上扉及び下扉があいた状態の図1の器具洗浄機を斜め前方から見た斜視図である。
図3は、図2の器具洗浄機において、機械室の一部を切り欠いた図である。
図4は、図1の前面パネルと上扉と洗浄室上方とを斜め前方から見た断面斜視図である。
図5(A)は、図1の前面パネルと上扉と洗浄室上方とを左右方向から見た断面図である。図5(B)は、図5(A)の構成を有する器具洗浄機の作用効果を説明する図である。
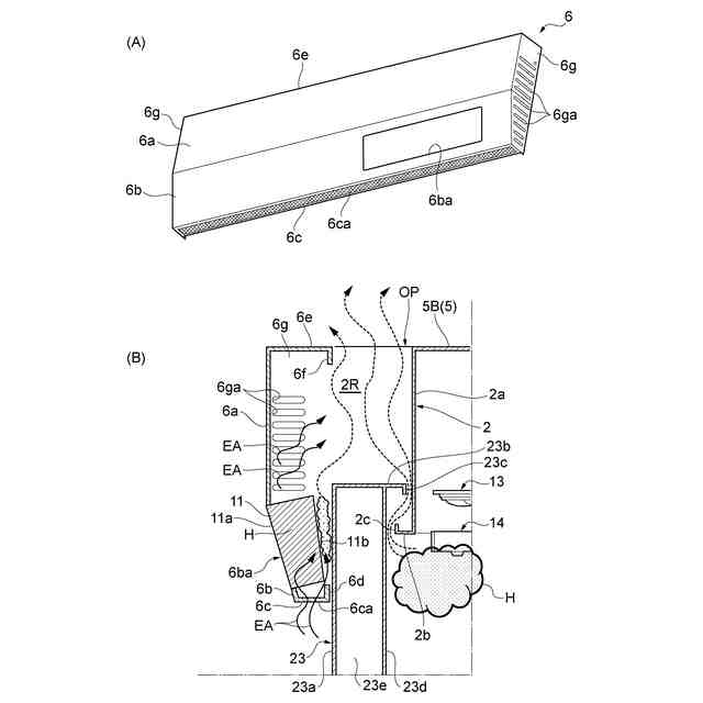
図6(A)は、変形例1に係る器具洗浄機の前面パネルと上扉と洗浄室上方とを左右方向から見た断面図である。図6(B)は、図6(A)の構成を有する器具洗浄機の作用効果を説明する図である。
図7(A)は、変形例2に係る器具洗浄機の前面パネルを斜め前方から見た斜視図である。図7(B)は、図7(A)の構成を有する器具洗浄機の作用効果を説明する図である。
【発明を実施するための形態】
(【0011】以降は省略されています)
この特許をJ-PlatPat(特許庁公式サイト)で参照する
関連特許
ホシザキ株式会社
洗浄機
25日前
ホシザキ株式会社
洗浄機
25日前
ホシザキ株式会社
製氷機
1か月前
ホシザキ株式会社
冷凍装置
1か月前
ホシザキ株式会社
再加熱器
2か月前
ホシザキ株式会社
再加熱器
2か月前
ホシザキ株式会社
再加熱器
2か月前
ホシザキ株式会社
冷却貯蔵庫
1か月前
ホシザキ株式会社
冷却貯蔵庫
2か月前
ホシザキ株式会社
天板付き機器
1か月前
ホシザキ株式会社
液体凍結装置
2か月前
個人
箸
1か月前
個人
椅子
2か月前
個人
家具
4か月前
個人
掃除機
8か月前
個人
自助箸
6か月前
個人
耳拭き棒
11か月前
個人
屋外用箒
7か月前
個人
ハンガー
7か月前
個人
ソファー
1か月前
個人
枕
5か月前
個人
多用途紐
1か月前
個人
掃除用具
3か月前
個人
枕
8か月前
個人
掃除道具
8か月前
個人
体洗い具
10か月前
個人
エコ掃除機
12か月前
個人
物品
3か月前
個人
片手代替具
11か月前
個人
省煙消臭器
8か月前
個人
組立式棚板
7か月前
個人
開閉トング
6か月前
個人
掃除シート
9か月前
個人
経典表示装置
4か月前
個人
シャワー装置
6か月前
個人
靴ベラ
2か月前
続きを見る
他の特許を見る