TOP
|
特許
|
意匠
|
商標
特許ウォッチ
Twitter
他の特許を見る
10個以上の画像は省略されています。
公開番号
2025175724
公報種別
公開特許公報(A)
公開日
2025-12-03
出願番号
2024081945
出願日
2024-05-20
発明の名称
製氷器、及びその製造方法
出願人
ホシザキ株式会社
代理人
弁理士法人暁合同特許事務所
主分類
F25C
1/22 20180101AFI20251126BHJP(冷凍または冷却;加熱と冷凍との組み合わせシステム;ヒートポンプシステム;氷の製造または貯蔵;気体の液化または固体化)
要約
【課題】冷媒配管を強固に一体化しつつ、冷媒配管の劣化を確実に抑制できる製氷器を実現する。
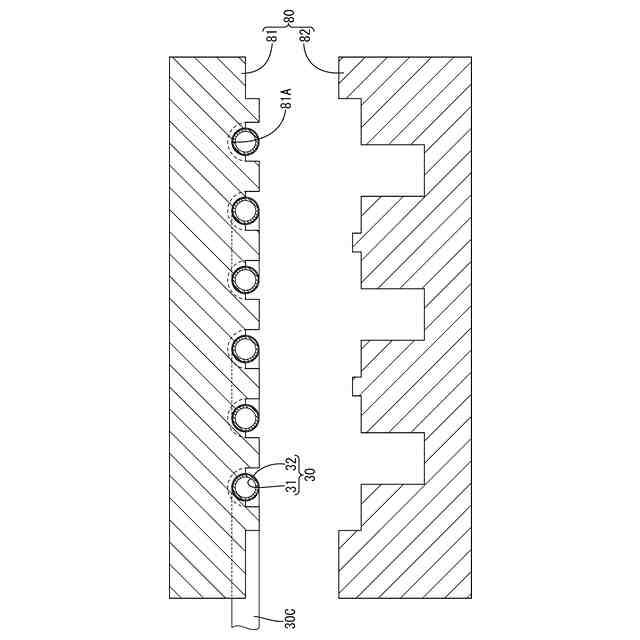
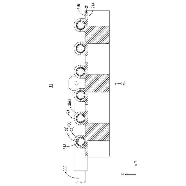
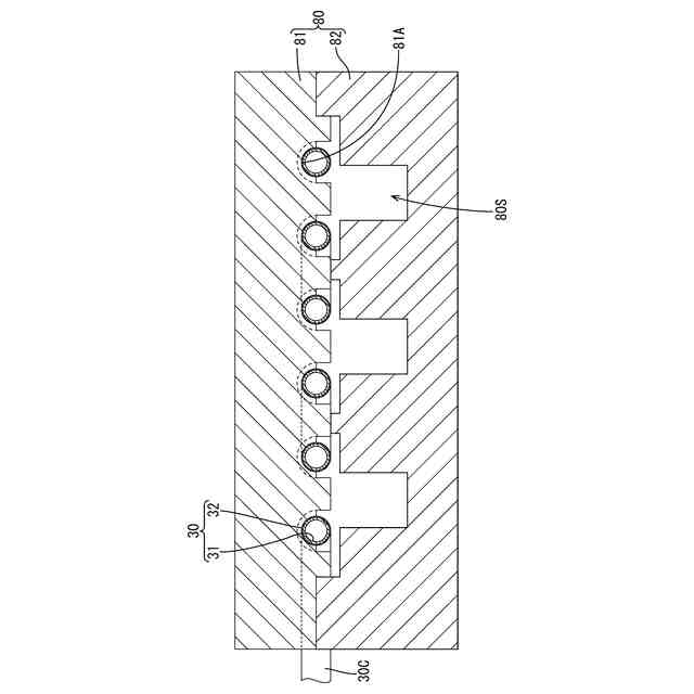
【解決手段】製氷器11は、アルミニウムを主成分とする金属からなり、一方の板面21Aに氷が生成される製氷小室22を有する製氷板20と、製氷板20の他方の板面21Bに一体的に設けられる冷媒配管30と、を備える。冷媒配管30は、少なくとも一部が製氷板20に埋設されて外部に露出していない。冷媒配管30は、銅を主成分とする金属からなる管本体部31と、ニッケルを主成分とする金属からなり、管本体部31の外周面を覆う管被覆部32と、を有する。
【選択図】図5
特許請求の範囲
【請求項1】
アルミニウムを主成分とする金属からなり、一方の板面に氷が生成される製氷小室を有する製氷板と、
前記製氷板の他方の板面に一体的に設けられる冷媒配管と、を備え、
前記冷媒配管は、少なくとも一部が前記製氷板に埋設されて外部に露出しておらず、
前記冷媒配管は、銅を主成分とする金属からなる管本体部と、ニッケルを主成分とする金属からなり、前記管本体部の外周面を覆う管被覆部と、を有する製氷器。
続きを表示(約 310 文字)
【請求項2】
前記ニッケルを主成分とする金属は、ニッケルを85%以上含有する請求項1に記載の製氷器。
【請求項3】
銅を主成分とする金属からなる管本体部と、ニッケルを主成分とする金属からなり、前記管本体部の外周面を覆う管被覆部と、を有する冷媒配管を鋳型の内部空間に設置し、
前記鋳型の前記内部空間に対して、アルミニウムを主成分とする金属の溶湯を注入後、冷却することで、製氷板を成型すると共に前記製氷板に前記冷媒配管を鋳込んで一体化する製氷器の製造方法。
【請求項4】
前記冷媒配管が鋳込まれ一体化された前記製氷板の表面をアルマイト処理する請求項3に記載の製氷器の製造方法。
発明の詳細な説明
【技術分野】
【0001】
本技術は、製氷器、及びその製造方法に関する。
続きを表示(約 1,400 文字)
【背景技術】
【0002】
従来、製氷板に蒸発管(冷媒配管)が一体化された製氷器が知られており、その一例が特許文献1に記載されている。特許文献1に記載の製氷器は、冷媒配管が銅又は銅合金製であり、この冷媒配管がアルミニウム又はアルミニウム合金の製氷板に対して鋳ぐるみ成形(アルミダイキャスト)によって一体化されている。これにより、両者間の接着強度が高くて剥離しにくく、伝熱性能に優れた製氷器を実現できる。
【0003】
また、アルミダイキャストが行われる際には、冷媒配管が設置された鋳型の内部空間に対して、製氷板の原材料となるアルミニウム合金等の溶湯が流し込まれる。この時、冷媒配管が溶解や軟化によって変形する事態を抑制するため、冷媒配管の外周面には予め融点の高いクロムがメッキ加工されている。これにより、冷媒配管の外周面に溶湯が接触せず、保護されるようになっている。
【先行技術文献】
【特許文献】
【0004】
特開平11-304314号公報
【発明の概要】
【発明が解決しようとする課題】
【0005】
しかしながら、クロムメッキは微小なクラック(割れ目)が発生しやすい。このため、アルミニウム合金等の溶湯がクラックを通じて冷媒配管の外周面に達し、冷媒配管が変形してしまうことがある。また、アルミダイキャスト後には、製氷板の耐腐食性を向上するために表面処理としてアルマイト処理が行われることが一般的であるが、クラックが発生していると、アルマイト処理時の酸洗浄や通電によっても冷媒配管が劣化してしまうことがある。さらには、冷媒配管にクラックが発生したまま製氷器が製氷機に組付けられると、使用によって冷媒配管に錆が発生して不衛生になったり、製氷機を薬液洗浄する際に冷媒配管が腐食されてしまったりする懸念がある。
【0006】
本技術は上記のような実情に基づいて完成されたものであって、冷媒配管を強固に一体化しつつ、冷媒配管の劣化を確実に抑制できる製氷器を実現することを目的とする。
【課題を解決するための手段】
【0007】
本技術に関わる製氷器は、アルミニウムを主成分とする金属からなり、一方の板面に氷が生成される製氷小室を有する製氷板と、前記製氷板の他方の板面に一体的に設けられる冷媒配管と、を備え、前記冷媒配管は、少なくとも一部が前記製氷板に埋設されて外部に露出しておらず、前記冷媒配管は、銅を主成分とする金属からなる管本体部と、ニッケルを主成分とする金属からなり、前記管本体部の外周面を覆う管被覆部と、を有する。
【0008】
また、前記ニッケルを主成分とする金属は、ニッケルを85%以上含有していてもよい。
【0009】
本技術に関わる製氷器の製造方法は、銅を主成分とする金属からなる管本体部と、ニッケルを主成分とする金属からなり、前記管本体部の外周面を覆う管被覆部と、を有する冷媒配管を鋳型の内部空間に設置し、前記鋳型の前記内部空間に対して、アルミニウムを主成分とする金属の溶湯を注入後、冷却することで、製氷板を成型すると共に前記製氷板に前記冷媒配管を鋳込んで一体化する。
【0010】
また、前記冷媒配管が鋳込まれ一体化された前記製氷板の表面をアルマイト処理してもよい。
【発明の効果】
(【0011】以降は省略されています)
この特許をJ-PlatPat(特許庁公式サイト)で参照する
関連特許
ホシザキ株式会社
洗浄機
1か月前
ホシザキ株式会社
飲料冷却装置
18日前
ホシザキ株式会社
製氷器、及びその製造方法
5日前
個人
製氷容器
10日前
株式会社不二工機
膨張弁
1か月前
株式会社不二工機
膨張弁
1か月前
アクア株式会社
冷蔵庫
18日前
アクア株式会社
冷蔵庫
18日前
富士電機株式会社
冷却装置
10日前
フクシマガリレイ株式会社
断熱扉
1か月前
ホシザキ株式会社
冷凍装置
1か月前
富士電機株式会社
自動販売機
1か月前
フクシマガリレイ株式会社
冷却貯蔵庫
1か月前
フクシマガリレイ株式会社
冷却貯蔵庫
1か月前
ダイキン工業株式会社
冷凍装置
1か月前
株式会社ゼロカラ
冷凍装置
26日前
株式会社ゼロカラ
冷凍装置
26日前
フクシマガリレイ株式会社
ショーケース
2か月前
ダイキン工業株式会社
冷媒充填方法
1か月前
株式会社フィラディス
ワインセラー
18日前
株式会社フィラディス
ワインセラー
3日前
フクシマガリレイ株式会社
商品販売システム
1か月前
FrostiX株式会社
冷凍システム
11日前
アクア株式会社
冷却ボックス装置
1か月前
アクア株式会社
冷却ボックス装置
1か月前
アイ・ティ・イー株式会社
相変化判定システム
18日前
三菱電機株式会社
冷蔵庫
18日前
東芝ライフスタイル株式会社
冷蔵庫
5日前
株式会社前川製作所
冷却装置
1か月前
株式会社富士通ゼネラル
冷凍サイクル装置
1か月前
株式会社富士通ゼネラル
冷凍サイクル装置
2か月前
株式会社富士通ゼネラル
冷凍サイクル装置
2か月前
日本碍子株式会社
空調システム
1か月前
株式会社MARS Company
ドラム式製氷機
11日前
東芝ライフスタイル株式会社
冷却装置
1か月前
東芝ライフスタイル株式会社
冷却装置
1か月前
続きを見る
他の特許を見る