TOP
|
特許
|
意匠
|
商標
特許ウォッチ
Twitter
他の特許を見る
公開番号
2025159923
公報種別
公開特許公報(A)
公開日
2025-10-22
出願番号
2024062791
出願日
2024-04-09
発明の名称
洗浄機
出願人
ホシザキ株式会社
代理人
個人
,
個人
,
個人
主分類
A47L
15/42 20060101AFI20251015BHJP(家具;家庭用品または家庭用設備;コーヒーひき;香辛料ひき;真空掃除機一般)
要約
【課題】洗浄室内の内圧を効率よく外気へ逃すことができると共に小型化された排気ダクト構造体を有する洗浄機を提供する。
【解決手段】器具洗浄機100は、器具Aを収容する洗浄室1Bを有する本体部1と、洗浄室1Bの上方に回転可能に設けられており、器具Aに対して洗浄室1Bの上方から洗浄水を噴射する上側洗浄ノズル13と、洗浄室1Bと本体部1の外部とを連通するダクト50と、を備える。ダクト50は、洗浄室1B側に形成される第一開口部51と、本体部1の外部側に形成される第二開口部52と、第一開口部51から第二開口部52まで延在する流路53bを形成する筒状部53と、を有する。第一開口部51は、上側洗浄ノズル13の噴射口13bよりも上方に形成されると共に、上側洗浄ノズル13の回転中心から離れる方向に向かって開口している。
【選択図】図5
特許請求の範囲
【請求項1】
被洗浄物を収容する洗浄室を有する本体部と、
前記洗浄室の上方に回転可能に設けられており、前記被洗浄物に対して前記洗浄室の上方から洗浄水を噴射する洗浄ノズルと、
前記洗浄室と前記本体部の外部とを連通するダクトと、を備え、
前記ダクトは、
前記洗浄室側に形成される第一開口部と、
前記本体部の外部側に形成される第二開口部と、
前記第一開口部から前記第二開口部まで上方に向かって延在する流路を形成する筒状部と、を有し、
鉛直方向における前記筒状部の下端位置は、前記洗浄ノズルから噴射される水が前記筒状部に掛からないように位置し、
前記第一開口部は、前記洗浄ノズルの回転中心から離れる方向に向かって開口している、洗浄機。
続きを表示(約 300 文字)
【請求項2】
前記筒状部の下端位置は、前記洗浄ノズルの噴射口よりも上方に位置している、請求項1記載の洗浄機。
【請求項3】
前記洗浄室に前記被洗浄物を出し入れ可能な開口部を開閉するドア部を備え、
前記開口部の開口面に直交する方向を奥行方向、前記奥行方向と鉛直方向との両方に直交する方向を幅方向としたとき、
前記ダクトは、前記洗浄室の前記幅方向における両端に配置される一対の第一ダクト及び第二ダクトであり、
前記第一ダクト及び前記第二ダクトの前記第一開口部、前記流路及び前記第二開口部は、前記奥行方向に延在している、請求項1又は2記載の洗浄機。
発明の詳細な説明
【技術分野】
【0001】
本発明は、洗浄機に関する。
続きを表示(約 1,900 文字)
【背景技術】
【0002】
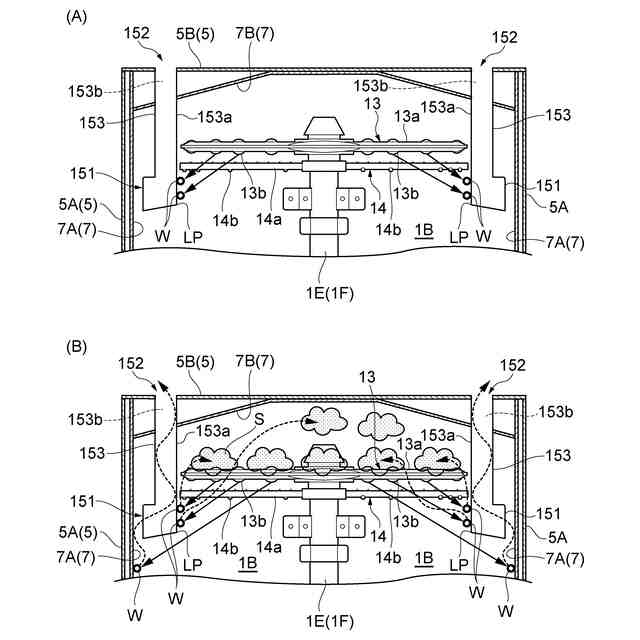
ベーキングトレイ、各種バット、大型パン等の業務用の器具類を洗浄する器具洗浄機が知られている。例えば、特許文献1には、食器等を洗浄する一般的な洗浄機と比べて大きな容積の洗浄室と、洗浄室を大きく開口することができるドア構造と、を有する洗浄機が開示されている。このような洗浄機は、ノズルからは噴射する水量も一般的な洗浄機と比べて多くなるため、洗浄中の洗浄室には水蒸気が充満しやすく、使用環境によっては排気が不足して内圧が上昇し、洗浄室を開閉するドアを押し開けてしまうことがある。ドアが開くと、洗浄運転が緊急停止したり、開口部から洗浄水が飛び散ったりするような不具合が生じる。
【0003】
このような課題を解決するために、特許文献1の洗浄機では、洗浄室内と機外とを連通する収容室を設け、この収容室に洗浄室内の水蒸気を機外に通過させる蒸気抜きカートリッジが着脱可能に取り付けられている。この構成では、洗浄室内の蒸気抜きを行い得ながら、付着したごみ等の掃除を容易に行うことができる。
【先行技術文献】
【特許文献】
【0004】
実開平7-37033号公報
【発明の概要】
【発明が解決しようとする課題】
【0005】
しかしながら、上記従来の洗浄機では、過度な水蒸気漏れを防止すると共に、機外に水が漏れ出ないようにするために、流路を幾重にも折り返す構成となっていた。このため、洗浄室内の水蒸気(内圧)が抜けにくい要因となっていた。
【0006】
そこで、本発明の目的は、ダクトを介して本体部から水が飛び出すことを抑制しつつも、洗浄室内の内圧を効率よく外気へ逃すことができる、洗浄機を提供することにある。
【課題を解決するための手段】
【0007】
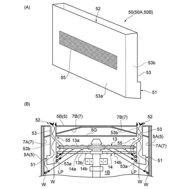
(1)本発明に係る洗浄機は、被洗浄物を収容する洗浄室を有する本体部と、洗浄室の上方に回転可能に設けられており、被洗浄物に対して洗浄室の上方から洗浄水を噴射する洗浄ノズルと、洗浄室と本体部の外部とを連通するダクトと、を備え、ダクトは、洗浄室側に形成される第一開口部と、本体部の外部側に形成される第二開口部と、第一開口部から第二開口部まで上方に向かって延在する流路を形成する筒状部と、を有し、鉛直方向における筒状部の下端位置は、洗浄ノズルから噴射される水が筒状部に掛からないように位置し、第一開口部は、洗浄ノズルの回転中心から離れる方向に向かって開口している。
【0008】
この構成の洗浄機では、ダクトの第一開口部を、洗浄ノズルの回転中心から離れる方向に向かって開口している。これにより、洗浄ノズルから噴射される洗浄水が、直接、第一開口部に入り込み、筒状部及び第二開口部を介して、本体部の外部に飛び出すことを抑制できる。また、この構成の洗浄機では、鉛直方向における筒状部の下端位置を、洗浄ノズルから噴射される水が筒状部に掛からないように位置させている。この結果、筒状部の表面から気化する水蒸気の発生が低減され、洗浄室の上方に水蒸気が滞留することを抑制できる。また、本体部の内面から気化する水蒸気は、第一開口部、筒状部及び第二開口部を介して本体部の外部に排出される。これにより、洗浄室の内圧が過度に上昇することを抑制することができる。以上の構成によって、ダクトを介して本体部から水が飛び出すことを抑制しつつも、洗浄室内の内圧を効率よく外気へ逃すことができる。
【0009】
(2)上記(1)の洗浄機では、筒状部の下端位置は、洗浄ノズルの噴射口よりも上方に位置していてよい。これにより、洗浄ノズルの噴射口から噴射された洗浄水は、ダクトの筒状部に掛かり難くなると共に、洗浄室を区画する本体部の内面に洗浄水が掛かり易くなる。
【0010】
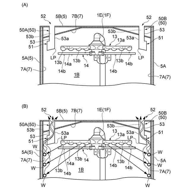
(3)上記(1)又は(2)の洗浄機では、洗浄室に被洗浄物を出し入れ可能な開口部を開閉するドア部を備え、開口部の開口面に直交する方向を奥行方向、奥行方向と鉛直方向との両方に直交する方向を幅方向としたとき、ダクトは、洗浄室の幅方向における両端に配置される一対の第一ダクト及び第二ダクトであり、第一ダクト及び第二ダクトの第一開口部、流路及び第二開口部は、奥行方向に延在していてもよい。この構成では、洗浄室において発生した水蒸気が第一開口部に進入しやすくなると共に、第一開口部から第二開口部に向かって空気の流れを形成しやすくなる。
【発明の効果】
(【0011】以降は省略されています)
この特許をJ-PlatPat(特許庁公式サイト)で参照する
関連特許
ホシザキ株式会社
洗浄機
1か月前
ホシザキ株式会社
洗浄機
1か月前
ホシザキ株式会社
製氷機
2か月前
ホシザキ株式会社
冷凍装置
1か月前
ホシザキ株式会社
再加熱器
2か月前
ホシザキ株式会社
冷却貯蔵庫
2か月前
ホシザキ株式会社
冷却貯蔵庫
2か月前
ホシザキ株式会社
飲料冷却装置
18日前
ホシザキ株式会社
天板付き機器
2か月前
ホシザキ株式会社
製氷器、及びその製造方法
5日前
個人
箸
1か月前
個人
家具
5か月前
個人
椅子
3か月前
個人
自助箸
7か月前
個人
掃除機
9か月前
個人
掃除用具
4か月前
個人
屋外用箒
7か月前
個人
体洗い具
11か月前
個人
枕
9か月前
個人
ソファー
2か月前
個人
掃除道具
9か月前
個人
多用途紐
1か月前
個人
枕
6か月前
個人
耳拭き棒
11か月前
個人
ハンガー
7か月前
個人
開閉トング
6か月前
個人
物品
3か月前
個人
片手代替具
12か月前
個人
省煙消臭器
9か月前
個人
掃除シート
10か月前
個人
組立式棚板
8か月前
個人
ゴミ袋保持枠
7か月前
個人
経典表示装置
5か月前
個人
洗面台
11か月前
個人
靴ベラ
2か月前
個人
紙コップ 蓋
2か月前
続きを見る
他の特許を見る