TOP
|
特許
|
意匠
|
商標
特許ウォッチ
Twitter
他の特許を見る
10個以上の画像は省略されています。
公開番号
2025174632
公報種別
公開特許公報(A)
公開日
2025-11-28
出願番号
2024081111
出願日
2024-05-17
発明の名称
冷蔵庫
出願人
東芝ライフスタイル株式会社
代理人
個人
,
個人
,
個人
,
個人
,
個人
主分類
F25D
23/00 20060101AFI20251120BHJP(冷凍または冷却;加熱と冷凍との組み合わせシステム;ヒートポンプシステム;氷の製造または貯蔵;気体の液化または固体化)
要約
【課題】更新に関連した制御を適切に行うこと可能な冷蔵庫を提供することである。
【解決手段】実施形態の冷蔵庫は、電気部品と、第1制御装置と、記憶装置と、第2制御装置とを備える。前記第1制御装置は、前記電気部品を制御するための制御指示を出力可能である。前記記憶装置は、前記第1制御装置の内部または外部に設けられ、前記第1制御装置による制御に供する情報が格納される。前記第2制御装置は、前記第1制御装置からの制御指示に基づき前記電気部品を制御可能である。前記第2制御装置は、前記記憶装置に格納された前記情報が外部から取得された更新用情報により更新される場合に、前記電気部品の制御を維持するとともに、前記情報の更新時に対応して設定される所定の上限時間を超えて前記第1制御装置からの信号を受信しない場合に前記電気部品の動作を停止させる。
【選択図】図9
特許請求の範囲
【請求項1】
電気部品と、
前記電気部品を制御するための制御指示を出力可能な第1制御装置と、
前記第1制御装置の内部または外部に設けられ、前記第1制御装置による制御に供する情報が格納される記憶装置と、
前記第1制御装置からの制御指示に基づき前記電気部品を制御可能な第2制御装置と、
を備え、
前記第2制御装置は、前記記憶装置に格納された前記情報が外部から取得された更新用情報により更新される場合に、前記電気部品の制御を維持するとともに、前記情報の更新時に対応して設定される所定の上限時間を超えて前記第1制御装置からの信号を受信しない場合に前記電気部品の動作を停止させる、
冷蔵庫。
続きを表示(約 1,200 文字)
【請求項2】
前記第2制御装置は、前記情報が更新される場合において、前記第1制御装置からの制御指示を受信しない場合に、前記所定の上限時間を超えるまで前記更新の開始時における前記電気部品の状態を維持する、
請求項1に記載の冷蔵庫。
【請求項3】
前記上限時間の長さを管理する上限時間管理部を備え、
前記上限時間管理部は、前記更新の開始時における前記電気部品の状態に基づいて前記上限時間の長さを設定可能である、
請求項1または請求項2に記載の冷蔵庫。
【請求項4】
前記上限時間管理部は、前記更新の開始時に前記冷蔵庫の除霜運転が行われている場合に、前記除霜運転とは別の制御が行われる場合と比べて、前記上限時間を短く設定する、
請求項3に記載の冷蔵庫。
【請求項5】
前記上限時間管理部は、前記更新の開始時に前記冷蔵庫の貯蔵室の温度を低下させる冷却制御が行われている場合に、前記冷却制御とは別の制御が行われる場合と比べて、前記上限時間を長く設定する、
請求項3に記載の冷蔵庫。
【請求項6】
前記第2制御装置は、前記情報が更新される場合において、前記上限時間を超えて前記第1制御装置からの信号を受信しない場合に、異常を知らせるための報知を行う、
請求項1または請求項2に記載の冷蔵庫。
【請求項7】
前記記憶装置に格納された前記情報を用いて前記第1制御装置が制御を行う通常制御時では、前記第2制御装置は、所定の周期で前記第1制御装置と通信を行うとともに、所定の判定時間を超えて前記第1制御装置との間で通信が途絶した場合に前記電気部品の動作を停止させ、
前記情報の更新時に対応して設定される前記上限時間は、前記判定時間よりも長い時間に設定される、
請求項1または請求項2に記載の冷蔵庫。
【請求項8】
前記記憶装置に格納された前記情報を用いて前記第1制御装置が制御を行う通常制御時では、前記第2制御装置は、前記第1制御装置から第1指示を受信した場合に、前記第1制御装置から第2指示を受信するまで、前記第1指示に基づいて前記電気部品を制御し、
前記第1制御装置は、前記更新が完了した場合、前記電気部品の制御を再開するための制御指示を出力する、
請求項1または請求項2に記載の冷蔵庫。
【請求項9】
前記第1制御装置および前記第2制御装置から制御指示が無くてもユーザの操作に反応可能な操作用部品をさらに備え、
前記第2制御装置は、前記記憶装置に格納された前記情報が外部から取得された更新用情報により更新される場合に、前記操作用部品を停止させるとともに、前記情報の更新後に前記第1制御装置または前記第2制御装置からの信号を受信した場合に前記電気部品の動作を再開させる、
請求項1または請求項2に記載の冷蔵庫。
発明の詳細な説明
【技術分野】
【0001】
本発明の実施形態は、冷蔵庫に関する。
続きを表示(約 2,000 文字)
【背景技術】
【0002】
電気機器の制御に供されるソフトウェアが更新可能な冷蔵庫が提案されている。このような冷蔵庫は、更新に関連した制御をより適切に行うことが期待されている。
【先行技術文献】
【特許文献】
【0003】
特開2018-146178号公報
【発明の概要】
【発明が解決しようとする課題】
【0004】
本発明が解決しようとする課題は、更新に関連した制御を適切に行うこと可能な冷蔵庫を提供することである。
【課題を解決するための手段】
【0005】
実施形態の冷蔵庫は、電気部品と、第1制御装置と、記憶装置と、第2制御装置とを備える。前記第1制御装置は、前記電気部品を制御するための制御指示を出力可能である。前記記憶装置は、前記第1制御装置の内部または外部に設けられ、前記第1制御装置による制御に供する情報が格納される。前記第2制御装置は、前記第1制御装置からの制御指示に基づき前記電気部品を制御可能である。前記第2制御装置は、前記記憶装置に格納された前記情報が外部から取得された更新用情報により更新される場合に、前記電気部品の制御を維持するとともに、前記情報の更新時に対応して設定される所定の上限時間を超えて前記第1制御装置からの信号を受信しない場合に前記電気部品の動作を停止させる。
【図面の簡単な説明】
【0006】
実施形態の冷蔵庫を含む家電管理システムを示す図。
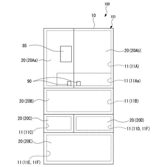
実施形態の冷蔵庫を示す正面図。
実施形態の冷蔵庫を示す断面図。
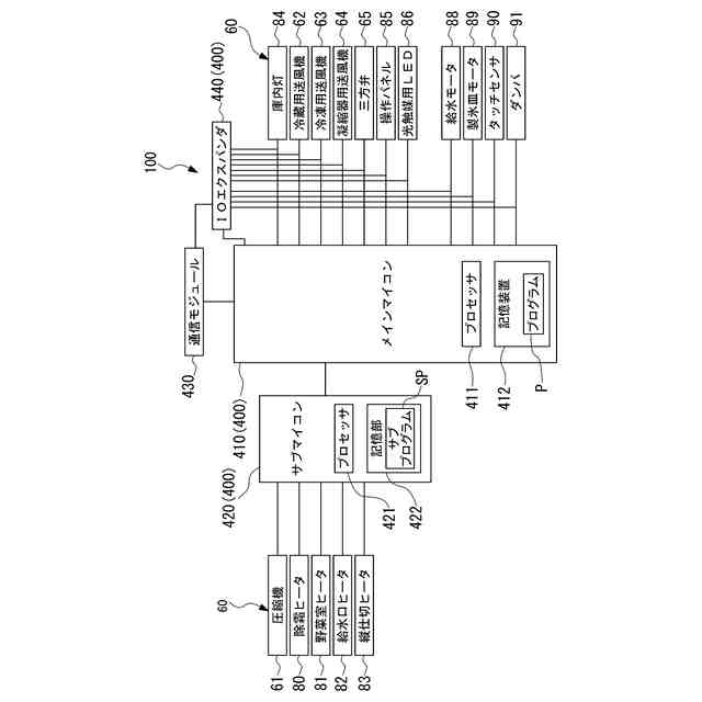
実施形態の冷蔵庫の機能構成を示すブロック図。
実施形態の冷蔵庫の冷凍サイクル装置の構成を示す図。
実施形態のメインマイコンの機能構成を示すブロック図。
実施形態のサブマイコンの機能構成を示すブロック図。
実施形態のIOエクスパンダの機能構成を示すブロック図。
実施形態の冷蔵庫の制御方法の流れの一例を示す図。
【発明を実施するための形態】
【0007】
以下、実施形態の冷蔵庫を、図面を参照して説明する。以下の説明では、同一または類似の機能を有する構成に同一の符号を付す。そして、それら構成の重複する説明は省略する場合がある。本出願で「XXに基づく」とは、「少なくともXXに基づく」ことを意味し、XXに加えて別の要素に基づく場合も含み得る。また「XXに基づく」とは、XXに直接に基づく場合に限定されず、XXに対して演算または加工などが行われたものに基づく場合も含み得る。本出願で「XXまたはYY」とは、XXとYYのうちいずれか一方の場合に限定されず、XXとYYの両方の場合も含み得る。これは選択的要素が3つ以上の場合も同様である。XXおよびYYは、任意の要素(例えば任意の情報)である。本出願では、後述する情報更新時以外の制御時(メインマイコン410により制御が実施されている状態)を「通常制御時」と称する場合がある。
【0008】
本出願で「取得する」とは、送信要求を送信して能動的に取得する場合に限定されず、他の装置から送信される情報を受動的に受信することで取得する場合も含み得る。また「取得」とは、目的の情報(取得対象の情報)を外部から直接取得する場合に限定されず、外部から得られた情報に対して演算または加工などを行い、目的の情報を生成することで取得する場合も含み得る。
【0009】
(実施形態)
<1.全体構成>
図1は、実施形態の冷蔵庫100を備えた家電管理システム1を示す図である。家電管理システム1は、例えば、1つ以上の冷蔵庫100と、サーバ200とを含む。後述するネットワークNWは、例えば、インターネット、セルラー網、Wi-Fi網、LPWA(Low Power Wide Area)、WAN(Wide Area Network)、LAN(Local Area Network)、またはその他の公衆回線や専用回線が利用可能である。
【0010】
(冷蔵庫)
冷蔵庫100は、主として家庭で使用される電気機器(家電機器)である。冷蔵庫100は、ユーザUの住居内に配置される。冷蔵庫100は、例えば、当該冷蔵庫100と同じ住居内に設置された無線ルータWRおよびモデムMを介してネットワークNWと接続される。冷蔵庫100は、ネットワークNWを介して、サーバ200と通信可能である。なお、以下に説明する内容は、冷蔵庫100に限らず、他の家電機器(衣類処理機、空気調整装置、加熱調理器、炊飯器、コーヒーメーカ、水処理装置、ごみ処理機、電気掃除機、またはアイロンなど)にも適用可能である。
(【0011】以降は省略されています)
この特許をJ-PlatPat(特許庁公式サイト)で参照する
関連特許
個人
製氷容器
3日前
株式会社不二工機
膨張弁
1か月前
株式会社不二工機
膨張弁
1か月前
アクア株式会社
冷蔵庫
11日前
アクア株式会社
冷蔵庫
11日前
富士電機株式会社
冷却装置
3日前
フクシマガリレイ株式会社
断熱扉
1か月前
ホシザキ株式会社
冷凍装置
1か月前
富士電機株式会社
自動販売機
1か月前
フクシマガリレイ株式会社
冷却貯蔵庫
1か月前
ダイキン工業株式会社
冷凍装置
1か月前
フクシマガリレイ株式会社
冷却貯蔵庫
1か月前
株式会社ゼロカラ
冷凍装置
19日前
株式会社ゼロカラ
冷凍装置
19日前
フクシマガリレイ株式会社
ショーケース
1か月前
ダイキン工業株式会社
冷媒充填方法
1か月前
株式会社フィラディス
ワインセラー
11日前
アクア株式会社
冷蔵庫
2か月前
FrostiX株式会社
冷凍システム
4日前
フクシマガリレイ株式会社
商品販売システム
1か月前
株式会社アイシン
冷暖房システム
1か月前
島田工業株式会社
製氷装置及び製氷方法
2か月前
アクア株式会社
冷却ボックス装置
24日前
アクア株式会社
冷却ボックス装置
24日前
アイ・ティ・イー株式会社
相変化判定システム
11日前
三菱電機株式会社
冷蔵庫
11日前
株式会社富士通ゼネラル
冷凍サイクル装置
1か月前
株式会社富士通ゼネラル
冷凍サイクル装置
1か月前
株式会社前川製作所
冷却装置
1か月前
株式会社富士通ゼネラル
冷凍サイクル装置
1か月前
株式会社MARS Company
ドラム式製氷機
4日前
株式会社MARS Company
ドラム式製氷機
4日前
東芝ライフスタイル株式会社
冷却装置
1か月前
東芝ライフスタイル株式会社
冷却装置
1か月前
日本碍子株式会社
空調システム
1か月前
株式会社MARS Company
ドラム式製氷機
4日前
続きを見る
他の特許を見る