TOP
|
特許
|
意匠
|
商標
特許ウォッチ
Twitter
他の特許を見る
10個以上の画像は省略されています。
公開番号
2025146235
公報種別
公開特許公報(A)
公開日
2025-10-03
出願番号
2024046905
出願日
2024-03-22
発明の名称
固体冷凍装置
出願人
ダイキン工業株式会社
代理人
弁理士法人前田特許事務所
主分類
F25B
21/00 20060101AFI20250926BHJP(冷凍または冷却;加熱と冷凍との組み合わせシステム;ヒートポンプシステム;氷の製造または貯蔵;気体の液化または固体化)
要約
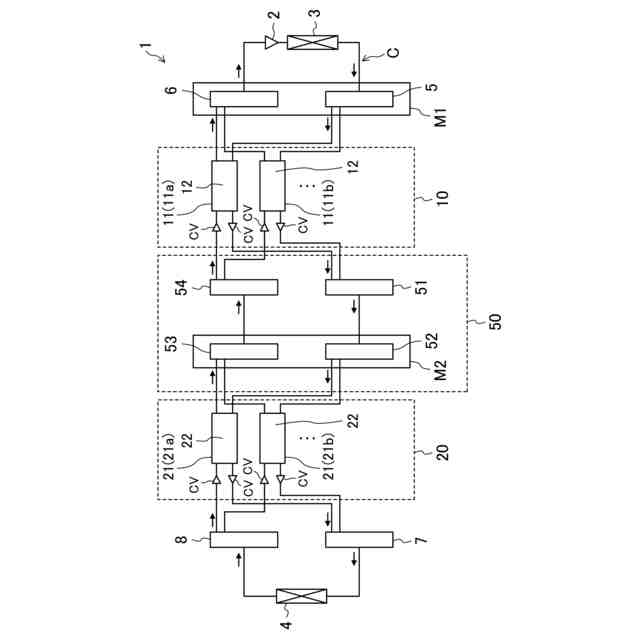
【課題】複数の冷媒収容部同士を容易に直列接続できる固体冷凍装置を提供する。
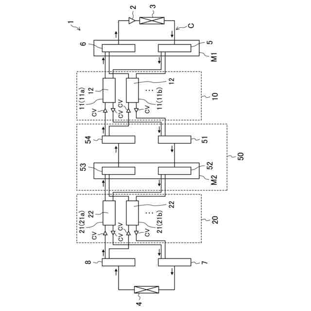
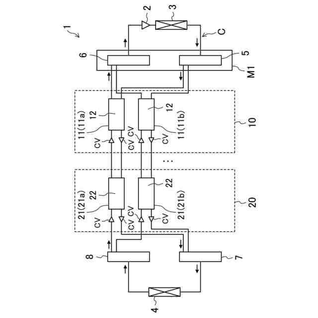
【解決手段】固体冷凍装置(1)は、第1固体冷媒物質(12)を収容する複数の第1冷媒収容部(11)と、第2固体冷媒物質(22)を収容する複数の第2冷媒収容部(21)とを備える。複数の第1冷媒収容部(11)と複数の第2冷媒収容部(21)とは直列に接続される。固体冷凍装置(1)は、複数の第1冷媒収容部(11)及び複数の第2冷媒収容部(21)の一方から流出した熱媒体を集約すると共に集約した熱媒体を複数の第1冷媒収容部(11)及び複数の第2冷媒収容部(21)の他方に分配する熱媒体集約部(50)を備える。
【選択図】図1
特許請求の範囲
【請求項1】
第1固体冷媒物質(12)を収容する複数の第1冷媒収容部(11)と、第2固体冷媒物質(22)を収容する複数の第2冷媒収容部(21)とを備え、前記複数の第1冷媒収容部(11)と前記複数の第2冷媒収容部(21)が直列に接続される固体冷凍装置(1)であって、
前記複数の第1冷媒収容部(11)及び前記複数の第2冷媒収容部(21)の一方から流出した熱媒体を集約すると共に集約した前記熱媒体を前記複数の第1冷媒収容部(11)及び前記複数の第2冷媒収容部(21)の他方に分配する熱媒体集約部(50)を備える、
固体冷凍装置。
続きを表示(約 1,600 文字)
【請求項2】
請求項1の固体冷凍装置において、
前記熱媒体集約部(50)は、多方切換弁(52,53)、集合管(51)及び分配管(54)のうちの少なくとも1つを含む、
固体冷凍装置。
【請求項3】
請求項1又は2の固体冷凍装置において、
前記熱媒体が前記複数の第1冷媒収容部(11)を流れる動作と、前記熱媒体が前記複数の第1冷媒収容部(11)をバイパスする動作とを切り換える第1バイパス機構(110)、又は
前記熱媒体が前記複数の第2冷媒収容部(21)を流れる動作と、前記熱媒体が前記複数の第2冷媒収容部(21)をバイパスする動作とを切り換える第2バイパス機構(120)
を備え、
前記第1バイパス機構(110)及び前記第2バイパス機構(120)は、前記熱媒体集約部(50)によって前記熱媒体が集約された流路に接続される、
固体冷凍装置。
【請求項4】
請求項1又は2の固体冷凍装置において、
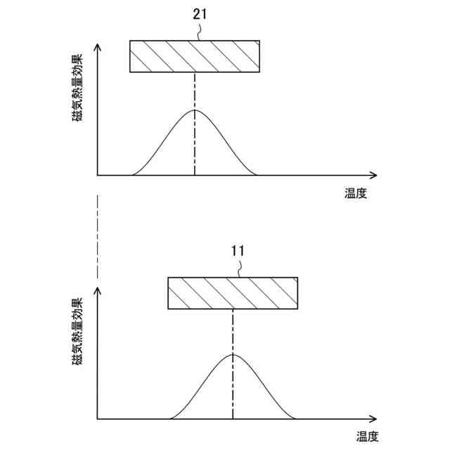
前記第1固体冷媒物質(12)の動作温度域と前記第2固体冷媒物質(22)の動作温度域とは異なる、
固体冷凍装置。
【請求項5】
請求項1又は2の固体冷凍装置において、
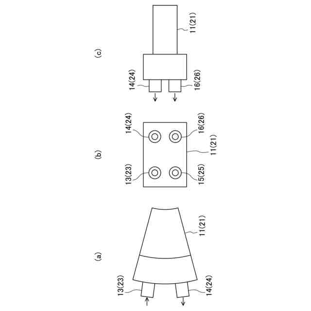
前記複数の第1冷媒収容部(11)及び前記複数の第2冷媒収容部(21)は、熱量効果を誘発させる力場が印加される収納ケース(10,20)において、前記力場の印加方向に対して垂直な平面内に分散して配置される、
固体冷凍装置。
【請求項6】
請求項5の固体冷凍装置において、
第1動作温度域を持つ前記第1固体冷媒物質(12)を収容する前記複数の第1冷媒収容部(11)と、前記第1動作温度域と異なる第2動作温度域を持つ前記第2固体冷媒物質(22)を収容する前記複数の第2冷媒収容部(21)とが、同一の前記収納ケース(10,20)に配置され、直列に接続される、
固体冷凍装置。
【請求項7】
請求項6の固体冷凍装置において、
前記収納ケース(10,20)は、第1収納ケース(10)及び第2収納ケース(20)を含み、
前記第1収納ケース(10)及び前記第2収納ケース(20)のそれぞれに、前記複数の第1冷媒収容部(11)及び前記複数の第2冷媒収容部(21)が配置され、
前記第1収納ケース(10)に配置された前記複数の第1冷媒収容部(11)と、前記第2収納ケース(20)に配置された前記複数の第1冷媒収容部(11)とが並列に接続され、
前記第1収納ケース(10)に配置された前記複数の第2冷媒収容部(21)と、前記第2収納ケース(20)に配置された前記複数の第2冷媒収容部(21)とが並列に接続される、
固体冷凍装置。
【請求項8】
請求項6の固体冷凍装置において、
前記第1及び第2動作温度域と異なる第3動作温度域を持つ第3固体冷媒物質(32)を収容する複数の第3冷媒収容部(31)と、前記第1~第3動作温度域と異なる第4動作温度域を持つ第4固体冷媒物質(42)を収容し且つ前記複数の第3冷媒収容部(31)と直列に接続される複数の第4冷媒収容部(41)とをさらに備え、
前記収納ケース(10,20)は、第1収納ケース(10)及び第2収納ケース(20)を含み、
前記第1収納ケース(10)に前記複数の第1冷媒収容部(11)及び前記複数の第2冷媒収容部(21)が配置されると共に、前記第2収納ケース(20)に前記複数の第3冷媒収容部(31)及び前記複数の第4冷媒収容部(41)が配置され、
前記第1収納ケース(10)に配置された前記複数の第1冷媒収容部(11)及び前記複数の第2冷媒収容部(21)の一方と、前記第2収納ケース(20)に配置された前記複数の第3冷媒収容部(31)及び前記複数の第4冷媒収容部(41)の一方とが直列に接続される、
固体冷凍装置。
発明の詳細な説明
【技術分野】
【0001】
本開示は、固体冷凍装置に関するものである。
続きを表示(約 1,100 文字)
【背景技術】
【0002】
特許文献1の磁気冷凍装置では、異なる動作温度域の磁気作業物質を有するAMR(Active Magnetic Refrigeration)モジュール同士を直列に接続することによって、得られる温度差を拡大している。
【0003】
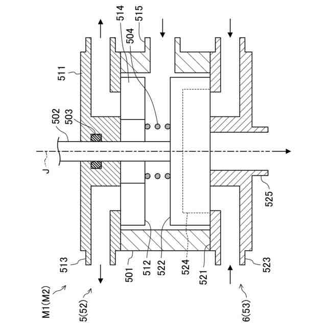
回転型の磁気冷凍装置等では、磁気作業物質に対し励磁又は消磁を行うタイミングを環状のAMRモジュールの周方向に変化させるために、AMRモジュールを複数(例えば12個)のユニットに分割する必要がある。
【先行技術文献】
【特許文献】
【0004】
特開2012-255642号公報
【発明の概要】
【発明が解決しようとする課題】
【0005】
ところが、複数のユニットで構成されるAMRモジュール同士を直列に接続しようとすると、配管やバルブの数が増大するので、磁気冷凍装置の構造及び制御が複雑化して、大型化やコスト増等の問題が生じる。
【0006】
本開示の目的は、複数の冷媒収容部同士を容易に直列接続できる固体冷凍装置を提供することにある。
【課題を解決するための手段】
【0007】
本開示の第1の態様は、第1固体冷媒物質(12)を収容する複数の第1冷媒収容部(11)と、第2固体冷媒物質(22)を収容する複数の第2冷媒収容部(21)とを備え、前記複数の第1冷媒収容部(11)と前記複数の第2冷媒収容部(21)が直列に接続される固体冷凍装置(1)である。前記固体冷凍装置(1)は、前記複数の第1冷媒収容部(11)及び前記複数の第2冷媒収容部(21)の一方から流出した熱媒体を集約すると共に集約した前記熱媒体を前記複数の第1冷媒収容部(11)及び前記複数の第2冷媒収容部(21)の他方に分配する熱媒体集約部(50)を備える。
【0008】
第1の態様では、第1冷媒収容部(11)と第2冷媒収容部(21)との間の熱媒体の流路を熱媒体集約部(50)により集約するため、例えば、第1冷媒収容部(11)又は第2冷媒収容部(21)にバイパス機構を設けたり、各冷媒収容部(11,21)を同じ収納ケースに設ける場合にも、冷媒収容部(11,21)同士を容易に直列接続することができる。
【0009】
本開示の第2の態様は、第1の態様において、前記熱媒体集約部(50)は、多方切換弁(52,53)、集合管(51)及び分配管(54)のうちの少なくとも1つを含む。
【0010】
第2の態様では、熱媒体集約部(50)を容易に構成することができる。
(【0011】以降は省略されています)
この特許をJ-PlatPat(特許庁公式サイト)で参照する
関連特許
ダイキン工業株式会社
冷凍装置
8日前
ダイキン工業株式会社
冷凍装置
8日前
ダイキン工業株式会社
冷凍装置
8日前
ダイキン工業株式会社
冷凍装置
8日前
ダイキン工業株式会社
冷凍装置
8日前
ダイキン工業株式会社
冷凍装置
8日前
ダイキン工業株式会社
シール材
1日前
ダイキン工業株式会社
吸着器及び冷凍装置
8日前
ダイキン工業株式会社
フッ素原子含有シラン化合物
今日
ダイキン工業株式会社
正極合剤、正極および二次電池
15日前
ダイキン工業株式会社
圧縮機、および冷凍サイクル装置
21日前
ダイキン工業株式会社
圧縮機、および冷凍サイクル装置
21日前
ダイキン工業株式会社
積層構造体、およびその製造方法
今日
ダイキン工業株式会社
圧縮機、冷凍装置、及び圧縮機の組立方法
17日前
ダイキン工業株式会社
モータ、空気調和装置、及びモータの製造方法
今日
ダイキン工業株式会社
モータの製造方法、及びモータを有する空気調和装置
今日
ダイキン工業株式会社
空調機
24日前
ダイキン工業株式会社
中継装置、およびその中継装置を備えた室外機並びに室内機
11日前
ダイキン工業株式会社
シラン化合物
21日前
ダイキン工業株式会社
給湯システム
今日
ダイキン工業株式会社
固体組成物、回路基板、固体組成物の製造方法、及び提案装置
1日前
ダイキン工業株式会社
電力管理装置、電力管理システム、電力管理方法及びプログラム
8日前
ダイキン工業株式会社
エッチングガス
10日前
ダイキン工業株式会社
デポジションガス
10日前
ダイキン工業株式会社
制御システム、第2制御装置、サーバ装置、第1制御装置、制御方法
今日
ダイキン工業株式会社
基板材料用組成物、ポリイミドフィルム、積層体、回路用基板、及びアンテナ
1日前
ダイキン工業株式会社
ノイズ抑制回路、空気調和機
24日前
ダイキン工業株式会社
制御システムおよび冷凍システム
24日前
ダイキン工業株式会社
フッ素ゴム塗料組成物及び塗装物品
2日前
ダイキン工業株式会社
高周波基板材料用組成物、ポリイミドフィルム、積層体、回路用基板、及びアンテナ
1日前
ダイキン工業株式会社
虫駆除システム、および空気処理装置
24日前
ダイキン工業株式会社
硬化性エポキシ樹脂組成物、硬化物及び硬化物の製造方法
8日前
ダイキン工業株式会社
高純度フルオロポリマー含有組成物の製造方法および高純度フルオロポリマー含有組成物
14日前
三星電子株式会社
プラズマエッチング工程を含む半導体素子の製造方法
14日前
国立大学法人 東京大学
昆虫の匂い応答に対する阻害剤のスクリーニング方法、昆虫の匂い応答に対する阻害剤、昆虫阻害システム、及び昆虫阻害方法
2日前
株式会社不二工機
膨張弁
16日前
続きを見る
他の特許を見る