TOP
|
特許
|
意匠
|
商標
特許ウォッチ
Twitter
他の特許を見る
公開番号
2025153710
公報種別
公開特許公報(A)
公開日
2025-10-10
出願番号
2024056322
出願日
2024-03-29
発明の名称
超電導ケーブルの冷却システム
出願人
SWCC株式会社
代理人
個人
,
個人
,
個人
主分類
F25B
1/00 20060101AFI20251002BHJP(冷凍または冷却;加熱と冷凍との組み合わせシステム;ヒートポンプシステム;氷の製造または貯蔵;気体の液化または固体化)
要約
【課題】超電導ケーブルの導体の冷却に用いる冷媒を冷却するための冷媒の用途を拡張可能な手段を提供すること。
【解決手段】液体状態の第一冷媒11を収容してありこの液体状態の第一冷媒11でもって超電導ケーブルA内に循環させる第二冷媒を冷却するサブクーラー10と、サブクーラー10内で気化した気体状態の第一冷媒12を吸引するポンプ20と、サブクーラー10とポンプ20の間に介設して、サブクーラー10から取り出した第一冷媒12でもって、超電導ケーブルAの終端接続部に設けた電流リードDを冷却する冷却路30を少なくとも具備することで。終端接続部での電流リードDからの熱侵入を抑制でき、ポンプ20の故障を防止するための加温器40の省略、または加温器40での加温エネルギーの節減が可能となる。
【選択図】図1
特許請求の範囲
【請求項1】
超電導ケーブルの冷却システムであって、
液体状態の第一冷媒を収容してあり、この液体状態の第一冷媒でもって、超電導ケーブル内に循環させる第二冷媒を冷却する、サブクーラーと、
前記サブクーラー内で気化した、気体状態の第一冷媒を吸引する、ポンプと、
前記サブクーラーと前記ポンプの間に介設して、前記サブクーラーから取り出した前記第一冷媒でもって、超電導ケーブルの終端接続部に設けた電流リードを冷却する、冷却路と、
を少なくとも具備したことを特徴とする、
超電導ケーブルの冷却システム。
続きを表示(約 380 文字)
【請求項2】
前記冷却路を通過した気体状態の第一冷媒を加圧する、圧縮器と、
前記圧縮器で加圧した気体状態の第一冷媒を液化させて、前記サブクーラーへ供給する、熱交換器と、
を更に具備したことを特徴とする、
請求項1に記載の超電導ケーブルの冷却システム。
【請求項3】
前記冷却路と前記圧縮器との間に介設して、前記気体状態の第一冷媒を加温する、加温器を更に具備することを特徴とする、
請求項2に記載の超電導ケーブルの冷却システム。
【請求項4】
前記冷却路を通過した気体状態の第一冷媒の一部または全部を、前記第一冷媒を利用する、製造工場、研究機関、医療施設、各種モビリティなどに設けてある利用設備に供給するよう構成してあることを特徴とする、
請求項1に記載の超電導ケーブルの冷却システム。
発明の詳細な説明
【技術分野】
【0001】
本発明は、超電導ケーブルの冷却システムに関する。
続きを表示(約 1,300 文字)
【背景技術】
【0002】
超電導ケーブルの導体の冷却に用いる冷媒の冷却手段として、以下の特許文献1には、超電導ケーブルの導体を冷却するための冷媒の一部をリザーブタンクに貯留しておき、超電導ケーブルを循環する冷媒をリザーブタンクに貯留してある冷媒(貯留冷媒)で冷却するよう構成したサブクールシステムが開示されている。
【先行技術文献】
【特許文献】
【0003】
特開2019-117026号公報
【発明の概要】
【発明が解決しようとする課題】
【0004】
しかし、特許文献1に記載のサブクールシステムでは、リザーブタンクに貯留される冷媒から気化した冷媒は、熱交換器等を用いて再度液化させてリザーブタンクに供給するか、または大気中に排出するなどの方法がとられているに過ぎなかった。
【0005】
よって、本発明は、超電導ケーブルの導体の冷却に用いる冷媒を冷却するための冷媒の用途を拡張することを目的とするものである。
【課題を解決するための手段】
【0006】
上記課題を解決すべくなされた本願発明は、超電導ケーブルの冷却システムであって、液体状態の第一冷媒を収容してあり、この液体状態の第一冷媒でもって、超電導ケーブル内に循環させる第二冷媒を冷却する、サブクーラーと、前記サブクーラー内で気化した、気体状態の第一冷媒を吸引する、ポンプと、前記サブクーラーと前記ポンプの間に介設して、前記サブクーラーから取り出した前記第一冷媒でもって、超電導ケーブルの終端接続部に設けた電流リードを冷却する、冷却路と、を少なくとも具備したことを特徴とする。
【発明の効果】
【0007】
本発明によれば、超電導ケーブルの導体の冷却に用いる冷媒を冷却するための冷媒を、超電導ケーブルと接続する電流リードの冷却にも使用することで、超電導システム全体の性能向上に寄与することができる。
【図面の簡単な説明】
【0008】
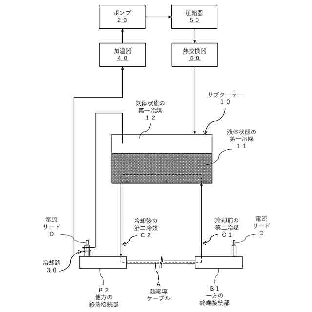
実施例1に係る冷却システムの全体構成を示す概略図。
実施例2に係る冷却システムの全体構成を示す概略図。
実施例3に係る冷却システムの全体構成を示す概略図。
【発明を実施するための形態】
【0009】
以下、図面を参照しながら、本発明の実施例について説明する。
【実施例】
【0010】
<1>全体構成
図1に、本発明に係る冷却システムの実施例1に係る全体構成の概略を示す。
本実施例に係る冷却システムは、超電導ケーブルAを用いて超電導状態で電力供給を行うために、超電導ケーブルAを冷却するための冷媒を冷却するサブクールシステムを備えたシステムである。
本実施例に係る冷却システムは、サブクーラー10、ポンプ20、冷却路30、加温器40、圧縮器50および熱交換器60を具備して構成する。
以下、各部の詳細について説明する。
(【0011】以降は省略されています)
この特許をJ-PlatPat(特許庁公式サイト)で参照する
関連特許
SWCC株式会社
超電導ケーブル
2か月前
SWCC株式会社
ケーブル接続部
2か月前
SWCC株式会社
ケーブル表面の検査方法
2か月前
SWCC株式会社
超電導ケーブルの冷却システム
2か月前
SWCC株式会社
超電導ケーブル用の終端接続部
2か月前
SWCC株式会社
発泡層製造用組成物及び発泡ゴムローラ
1か月前
SWCC株式会社
超電導積層導体、超電導ケーブルおよび電気推進システム
2か月前
SWCC株式会社
発泡層製造用組成物、発泡層の製造方法、及び発泡ゴムローラ
1か月前
SWCC株式会社
超電導ケーブル用の終端接続部および超電導ケーブルの冷却方法
2か月前
個人
製氷容器
11日前
株式会社不二工機
膨張弁
1か月前
株式会社不二工機
膨張弁
1か月前
アクア株式会社
冷蔵庫
19日前
アクア株式会社
冷蔵庫
19日前
フクシマガリレイ株式会社
断熱扉
1か月前
富士電機株式会社
冷却装置
11日前
ホシザキ株式会社
冷凍装置
1か月前
富士電機株式会社
自動販売機
1か月前
フクシマガリレイ株式会社
冷却貯蔵庫
1か月前
ダイキン工業株式会社
冷凍装置
2か月前
フクシマガリレイ株式会社
冷却貯蔵庫
1か月前
フクシマガリレイ株式会社
ショーケース
2か月前
株式会社ゼロカラ
冷凍装置
27日前
株式会社ゼロカラ
冷凍装置
27日前
アクア株式会社
冷蔵庫
2か月前
ダイキン工業株式会社
冷媒充填方法
2か月前
株式会社フィラディス
ワインセラー
4日前
株式会社フィラディス
ワインセラー
19日前
フクシマガリレイ株式会社
商品販売システム
1か月前
FrostiX株式会社
冷凍システム
12日前
アイ・ティ・イー株式会社
相変化判定システム
19日前
アクア株式会社
冷却ボックス装置
1か月前
アクア株式会社
冷却ボックス装置
1か月前
三菱電機株式会社
冷蔵庫
19日前
株式会社アイシン
冷暖房システム
2か月前
島田工業株式会社
製氷装置及び製氷方法
2か月前
続きを見る
他の特許を見る