TOP
|
特許
|
意匠
|
商標
特許ウォッチ
Twitter
他の特許を見る
10個以上の画像は省略されています。
公開番号
2025153847
公報種別
公開特許公報(A)
公開日
2025-10-10
出願番号
2024056506
出願日
2024-03-29
発明の名称
ケーブル接続部
出願人
SWCC株式会社
代理人
弁理士法人鷲田国際特許事務所
主分類
H02G
15/18 20060101AFI20251002BHJP(電力の発電,変換,配電)
要約
【課題】ゴムブロック絶縁体を用いたケーブル接続部であって、軸力に対するケーブル保持力が高く、優れた長期安定性を有するケーブル接続部を提供する。
【解決手段】ケーブル接続部は、2本の電力ケーブルのケーブル導体同士を接続する導体接続管と、導体接続管の外周面に密着して配置される導電性の中間スリーブと、中間スリーブの外周面に密着して配置されるゴムブロック絶縁体と、ゴムブロック絶縁体の外周面に配置され、ゴムブロック絶縁体の外径変化を規制する拘束部材と、を備える。中間スリーブは、軸方向の中央に位置し外径が一定である定径部と、定径部の両側に連設され定径部に向かって外径が大きくなる拡径部と、を有し、拘束部材は、ゴムブロック絶縁体の外周面のうち、少なくとも拡径部に対応する部分が拘束領域に含まれるように配置されている。
【選択図】図2
特許請求の範囲
【請求項1】
2本の電力ケーブルのケーブル導体同士を接続する導体接続管と、
前記導体接続管の外周面に密着して配置される導電性の中間スリーブと、
前記中間スリーブの外周面に密着して配置されるゴムブロック絶縁体と、
前記ゴムブロック絶縁体の外周面に配置され、前記ゴムブロック絶縁体の外径変化を規制する拘束部材と、を備え、
前記中間スリーブは、軸方向の中央に位置し外径が一定である定径部と、前記定径部の両側に連設され前記定径部に向かって外径が大きくなる拡径部と、を有し、
前記拘束部材は、前記ゴムブロック絶縁体の外周面のうち、少なくとも前記拡径部に対応する部分が拘束領域に含まれるように配置されている、
ケーブル接続部。
続きを表示(約 290 文字)
【請求項2】
前記中間スリーブは、前記ゴムブロック絶縁体の弾性力に対して変形しない剛体である、
請求項1に記載のケーブル接続部。
【請求項3】
前記中間スリーブは、金属材料により形成されている、
請求項2に記載のケーブル接続部。
【請求項4】
前記中間スリーブは、前記軸方向に沿って分割された半割構造を有する、
請求項2又は3に記載のケーブル接続部。
【請求項5】
前記中間スリーブは、前記拡径部に連設され前記拡径部に向かって外径が小さくなる縮径部を有する、
請求項1又は2に記載のケーブル接続部。
発明の詳細な説明
【技術分野】
【0001】
本開示は、2本の電力ケーブルを接続するケーブル接続部に関する。
続きを表示(約 1,800 文字)
【背景技術】
【0002】
従来、2本の電力ケーブルを接続するケーブル接続部(いわゆる中間接続部)として、一方の電力ケーブルのケーブル導体と他方の電力ケーブルのケーブル導体とを導体接続管を介して電気的に接続してケーブル端末部を形成し、ケーブル端末部を覆うように補強絶縁体が配置された構成が知られている。
【0003】
特に、内部電極、ゴム絶縁部、ストレスコーン部、外部遮へい層が一体的に成形されたワンピースのゴムブロック絶縁体を補強絶縁体として用いるゴムブロックジョイント(Rubber Block Joint、以下、「RBJ」と称する)が多用されている(例えば、特許文献1参照)。RBJは、施工性に優れるため、工期の短縮、ひいてはコストダウンを図る上で有用である。
【0004】
RBJの施工は、例えば、拡径方式によって行われる。拡径方式では、ゴムブロック絶縁体に設けられたケーブル挿入孔を、拡径保持パイプによって拡径した状態で保持し、接続される2本の電力ケーブルの端部を処理した後に、片側のケーブルにゴムブロック絶縁体を仮挿入する。そして、導体接続後にゴムブロック絶縁体を所定の位置に移動させて、拡径保持パイプを除去してケーブル挿入孔を縮径させることで、ケーブル端末部にゴムブロック絶縁体が装着される。拡径保持パイプには、例えば、リボン状のポリマー材を螺旋状に巻いてパイプ状にした拡径部材(いわゆるスパイラルコア)や、剛体からなる半割の円筒パイプ等が適用される。
【先行技術文献】
【特許文献】
【0005】
特開2001-86632号公報
【発明の概要】
【発明が解決しようとする課題】
【0006】
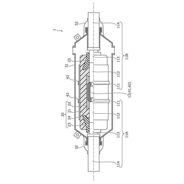
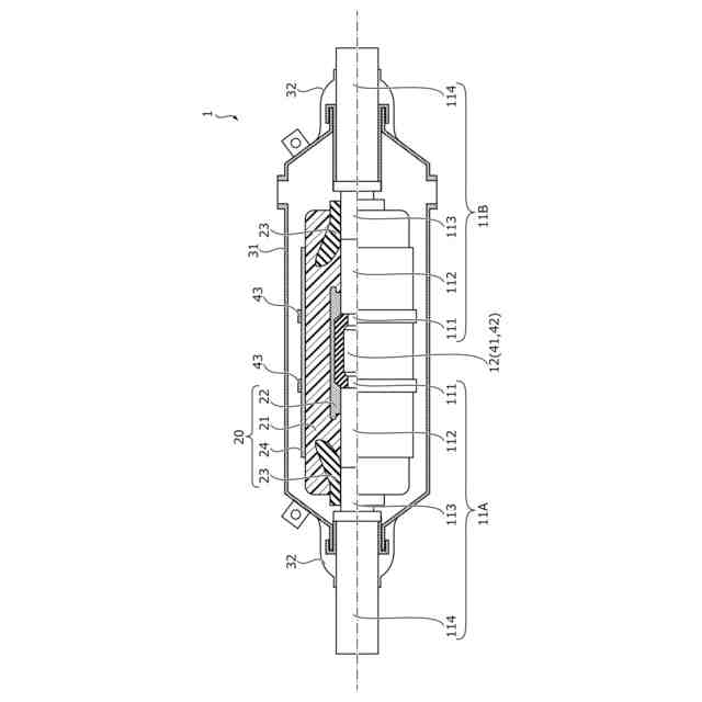
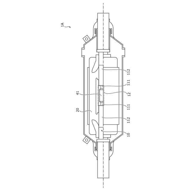
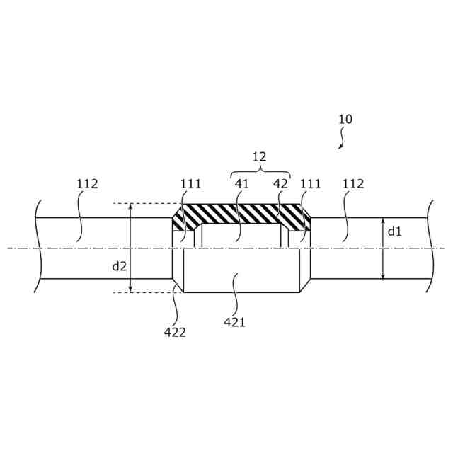
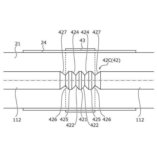
図1に示すように、特許文献1に開示されているような従来のケーブル接続部1Aでは、導体接続部12の外径をケーブル絶縁体112の外径に一致させて、絶縁ユニット20(ゴムブロック絶縁体)の内周面と導体接続部12及びケーブル絶縁体112とが密着する構造になっている。導体接続部12の外径は、例えば、導体接続管41及びケーブル導体111の周囲に半導電ゴムテープを巻き付けたり、金属製の円筒スリーブを取り付けることにより、調整される。また、絶縁ユニット20の内径は、導体接続部12及びケーブル絶縁体112の外径よりも小さく設定されており、これらの径差によるゴムの弾性力を利用して、絶縁ユニット20がケーブル端末部10を把持する構造となっている。
【0007】
そのため、従来のケーブル接続部1Aは、大きなケーブル保持力(ケーブルが軸方向にずれないように保持する力)を実現することが困難であり、軸力によって絶縁ユニット20とケーブル絶縁体112との界面状態が変化する虞がある。特に、大きな軸力が発生しうる超高圧ケーブル用のケーブル接続部では、軸力に対するケーブル保持力のさらなる向上が望まれている。
【0008】
本発明の目的は、ゴムブロック絶縁体を用いたケーブル接続部であって、軸力に対するケーブル保持力が高く、優れた長期安定性を有するケーブル接続部を提供することである。
【課題を解決するための手段】
【0009】
本開示に係るケーブル接続部は、
2本の電力ケーブルのケーブル導体同士を接続する導体接続管と、
前記導体接続管の外周面に密着して配置される導電性の中間スリーブと、
前記中間スリーブの外周面に密着して配置されるゴムブロック絶縁体と、
前記ゴムブロック絶縁体の外周面に配置され、前記ゴムブロック絶縁体の外径変化を規制する拘束部材と、を備え、
前記中間スリーブは、軸方向の中央に位置し外径が一定である定径部と、前記定径部の両側に連設され前記定径部に向かって外径が大きくなる拡径部と、を有し、
前記拘束部材は、前記ゴムブロック絶縁体の外周面のうち、少なくとも前記拡径部に対応する部分が拘束領域に含まれるように配置されている。
【発明の効果】
【0010】
本開示によれば、ゴムブロック絶縁体を用いたケーブル接続部において、軸力に対するケーブル保持力を高め、優れた長期安定性を実現することができる。
【図面の簡単な説明】
(【0011】以降は省略されています)
この特許をJ-PlatPat(特許庁公式サイト)で参照する
関連特許
SWCC株式会社
超電導ケーブル
2か月前
SWCC株式会社
ケーブル接続部
1か月前
SWCC株式会社
ケーブル表面の検査方法
1か月前
SWCC株式会社
超電導ケーブルの冷却システム
1か月前
SWCC株式会社
超電導ケーブル用の終端接続部
1か月前
SWCC株式会社
発泡層製造用組成物及び発泡ゴムローラ
1か月前
SWCC株式会社
超電導積層導体、超電導ケーブルおよび電気推進システム
1か月前
SWCC株式会社
発泡層製造用組成物、発泡層の製造方法、及び発泡ゴムローラ
1か月前
SWCC株式会社
超電導ケーブル用の終端接続部および超電導ケーブルの冷却方法
1か月前
個人
電気を重力で発電装置
1か月前
個人
高圧電気機器の開閉器
19日前
キヤノン電子株式会社
モータ
1か月前
キヤノン電子株式会社
モータ
1か月前
コーセル株式会社
電源装置
1か月前
日星電気株式会社
ケーブル組立体
1か月前
トヨタ自動車株式会社
モータ
1か月前
株式会社アイドゥス企画
減反モータ
19日前
株式会社デンソー
端子台
12日前
株式会社デンソー
回転電機
3日前
株式会社ダイヘン
送配電装置
3日前
個人
二次電池繰返パルス放電器用印刷基板
1か月前
富士電機株式会社
電力変換装置
3日前
株式会社不二越
空冷式油圧装置
3日前
富士電機株式会社
電力変換装置
3日前
ローム株式会社
半導体集積回路
10日前
本田技研工業株式会社
回転電機
5日前
株式会社デンソー
電力変換装置
1か月前
矢崎総業株式会社
給電装置
11日前
トヨタ自動車株式会社
固定子の加熱装置
1か月前
株式会社デンソー
非接触受電装置
1か月前
株式会社日立製作所
回転電機
10日前
株式会社TMEIC
制御装置
11日前
矢崎総業株式会社
電源回路
18日前
大和ハウス工業株式会社
敷設用機器
11日前
日産自動車株式会社
ロータシャフト
26日前
山洋電気株式会社
モータ
1か月前
続きを見る
他の特許を見る